ОСОБЕННОСТИ


  1. ОПИСАНИЕ


    1. Стабилизирующее ребро


      1. На стойках ветрового стекла и рассеивателях задних блоков фонарей для улучшения аэродинамических характеристик предусмотрено ребро аэродинамической стабилизации.


        1. Проходящий мимо стабилизирующего ребра воздух ускоряется, образуя завихрения.

        2. Эти завихрения увеличивают скорость окружающего воздуха, одновременно притягивая его к кузову.

        3. Поток воздуха с высокой скоростью проходит по боковым сторонам кузова автомобиля вниз и аккуратно разделяется в задней части автомобиля. Это помогает поддерживать постоянное положение кузова, стабилизируя автомобиль.

          A01MQZSC02
          *a Стабилизирующее ребро *b Завихрение, создаваемое сзади ребра аэродинамической стабилизации
          *c Окружающий воздух увеличивает скорость и давит на кузов *d Устойчивость автомобиля обеспечивается воздушным потоком, поддерживающим кузов
          A01MQU0 Поток воздуха A01MR3J Удерживают автомобиль с обеих сторон
    2. Аудиосистема с дисплеем Lexus


      1. Аудиосистема с дисплеем Lexus представляет собой простой в использовании радиоприемник, оснащенный 7-дюймовой сенсорной панелью.

      2. Реализованы следующие функции: AM/FM-тюнер, проигрыватель CD -дисков, разъемы AUX (USB и iPod), функция громкой связи стандарта Bluetooth, аудиофункция Bluetooth.

    3. Аудиоконтроллер дисплея Lexus (для моделей с аудиосистемой с дисплеем Lexus)


      1. Аудиоконтроллер дисплея Lexus обеспечивает интуитивное управление с использованием многофункционального дисплея.

    4. Система навигации


      1. Система навигации представляет собой приемник мультимедийного модуля в сборе, снабженный 7,0-дюймовым дисплеем и сенсорным пультом дистанционного управления, обеспечивающими удобство в использовании.

      2. Реализованы следующие функции: AM/FM-тюнер, проигрыватель DVD-дисков, разъемы AUX (USB и iPod), функция громкой связи стандарта Bluetooth, аудиофункция Bluetooth и система помощи при парковки.

    5. Сенсорный пульт дистанционного управления (для моделей с системой навигации)


      1. Сенсорный пульт дистанционного управления обеспечивает интуитивное управление с использованием многофункционального дисплея.

      2. Сенсорный пульт дистанционного управления передает на руку пользователя усилие обратной связи в соответствии с положением указателя на дисплее.

      3. Точная обратная связь, тактильные ощущения и качественное управление, обеспечиваемые данной системой, гарантируют превосходную управляемость.

    6. Система предупреждения об уходе с полосы


      1. Система предупреждения об уходе с полосы определяет разделительные линии на поверхности дороги с помощью камеры системы предупреждения об уходе с полосы и при необходимости подает предупреждение об уходе с полосы с помощью зуммера системы противоскольжения.

        A01MQWIC01
        *1 Зуммер системы противоскольжения в сборе *2 Камера системы предупреждения об уходе с полосы
    7. Предаварийная система безопасности


      1. Предаварийная система безопасности переводит систему управления тормозами в режим ожидания усилителя экстренного торможения и осуществляет предаварийное включение тормозов перед столкновением, чтобы уменьшить удар для пассажиров.

        A01MR1DE01
    8. Система контроля слепых зон


      1. Система контроля слепых зон, используя одни и те же датчики системы контроля слепых зон, выполняет 2 функции: Функция контроля слепых зон и функция уведомления о движении транспорта в пересекающем направлении позади автомобиля.*

        *: Для моделей с системой уведомления о движении транспорта в пересекающем направлении позади автомобиля

      2. Система контроля слепых зон с помощью датчиков обнаруживает автомобили, движущиеся в слепой зоне, и помогает водителю обеспечить безопасность при перестроении на другие полосы.

        A01MQPSC03
        *1 Левый датчик системы контроля слепых зон *2 Правый датчик системы контроля слепых зон
        *3 Левое наружное зеркало заднего вида в сборе *4 Правое наружное зеркало заднего вида в сборе
        *5 Контрольная лампа наружного зеркала заднего вида - -
        A01MQQK Зона обнаружения - -
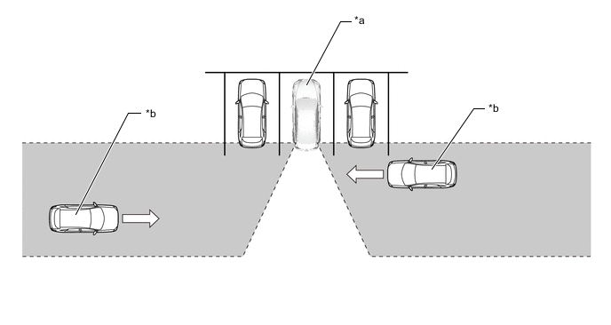
      3. Если RCTA (функция уведомления о движении транспорта в пересекающем направлении позади автомобиля) обнаруживает автомобиль сзади, когда водитель движется задним ходом на парковке, эта функция предупреждает водителя, включая зуммер уведомления о движении транспорта в пересекающем направлении позади автомобиля и инициируя мигание контрольной лампы наружного зеркала заднего вида, чтобы водитель мог принять решение.*

        *: для моделей с функцией RCTA

        A01MQRPC02
        *a Данный автомобиль *b Отслеживаемый автомобиль
        A01MQQK Зона обнаружения - -
    9. Активный капот


      1. На новых моделях предусмотрен активный капот, позволяющий уменьшить травмы пешехода при столкновении с панелью капота двигателя. Активный капот обеспечивает не только защиту пешехода, но и спортивный внешний вид.


        1. Когда передний бампер сталкивается с каким-либо объектом, энергию удара принимает на себя камера обнаружения пешеходов в сборе в облицовке переднего бампера. Датчики давления (левый/правый датчик системы защиты пешеходов) регистрируют столкновение и передает сигнал столкновения в блок управления системы SRS в сборе.

        2. Блок управления системы SRS определяет столкновение по сигналам от датчиков давления (правого/левого датчиков системы защиты пешеходов) и передает сигнал зажигания в подъемник активного капота в сборе, установленный под петлей капота.

        3. При получении сигнала зажигания от блока управления системы SRS в сборе подъемник активного капота в сборе выталкивает вверх поршень, заставляя заднюю часть капота быстро подниматься, в результате чего создается зазор между панелью капота и верхней частью двигателя. Это позволяет ослабить удар, действующий на пешехода, например, на его голову.

          A01MR2VC03
          *1 Капот *2 Петля капота в сборе
          *3

          Датчик активного капота в сборе


          • Камера обнаружения пешеходов

          *4

          Датчик активного капота в сборе


          • Правый датчик системы защиты пешеходов

          *5

          Датчик активного капота в сборе


          • Левый датчик системы защиты пешеходов

          *6 Правый подъемник активного капота в сборе
          *7 Левый подъемник активного капота в сборе *8 Центральный блок управления системы SRS
          *a Поднятое положение *b Нормальное состояние
    10. Варианты окраски кузова и цвета отделки салона


      1. для моделей для Европы

        Окраска кузова Внутреннее оформление
        Индекс цвета Название цвета Название цвета
        083*1 Белый зеркальный чешуйчатый Nova Черный (комплектация F SPORT)
        Темно-розовый (комплектация F SPORT)
        085*2 Жемчужно-белый (Sonic Quartz) Цвет слоновой кости (серое дерево)
        Цвет слоновой кости (коричневое дерево)
        Цвет слоновой кости (бамбук)
        Цвет слоновой кости (краска)
        Лунный камень (серое дерево)
        Лунный камень (коричневое дерево)
        Лунный камень (бамбук)
        Лунный камень (краска)
        Черный (серое дерево)
        Черный (коричневое дерево)
        Черный (бамбук)
        Черный (краска)
        Черный и лунный камень*3
        1H9 Ртутно-серый металлик Цвет слоновой кости (серое дерево)*2
        Цвет слоновой кости (коричневое дерево)*2
        Цвет слоновой кости (бамбук)*2
        Цвет слоновой кости (краска)*2
        Лунный камень (серое дерево)*2
        Лунный камень (коричневое дерево)*2
        Лунный камень (бамбук)*2
        Лунный камень (краска)*2
        Черный (серое дерево)*2
        Черный (коричневое дерево)*2
        Черный (бамбук)*2
        Черный (краска)*2
        Черный (комплектация F SPORT)*1
        Темно-розовый (комплектация F SPORT)*1
        Черный и лунный камень*2*3
        1J4 Платиновый серебряный металлик Цвет слоновой кости (серое дерево)*2
        Цвет слоновой кости (коричневое дерево)*2
        Цвет слоновой кости (бамбук)*2
        Цвет слоновой кости (краска)*2
        Лунный камень (серое дерево)*2
        Лунный камень (коричневое дерево)*2
        Лунный камень (бамбук)*2
        Лунный камень (краска)*2
        Черный (серое дерево)*2
        Черный (коричневое дерево)*2
        Черный (бамбук)*2
        Черный (краска)*2
        Черный (комплектация F SPORT)*1
        Темно-розовый (комплектация F SPORT)*1
        Черный и лунный камень*2*3
        1J7 Титан (Sonic Titanium) Цвет слоновой кости (серое дерево)*2
        Цвет слоновой кости (коричневое дерево)*2
        Цвет слоновой кости (бамбук)*2
        Цвет слоновой кости (краска)*2
        Лунный камень (серое дерево)*2
        Лунный камень (коричневое дерево)*2
        Лунный камень (бамбук)*2
        Лунный камень (краска)*2
        Черный (серое дерево)*2
        Черный (коричневое дерево)*2
        Черный (бамбук)*2
        Черный (краска)*2
        Черный (комплектация F SPORT)*1
        Темно-розовый (комплектация F SPORT)*1
        Черный и лунный камень*2*3
        212 Черный Цвет слоновой кости (серое дерево)*2
        Цвет слоновой кости (коричневое дерево)*2
        Цвет слоновой кости (бамбук)*2
        Цвет слоновой кости (краска)*2
        Лунный камень (серое дерево)*2
        Лунный камень (коричневое дерево)*2
        Лунный камень (бамбук)*2
        Лунный камень (краска)*2
        Черный (серое дерево)*2
        Черный (коричневое дерево)*2
        Черный (бамбук)*2
        Черный (краска)*2
        Черный (комплектация F SPORT)*1
        Темно-розовый (комплектация F SPORT)*1
        Черный и лунный камень*2*3
        217 Звездно-черный зеркальный чешуйчатый Цвет слоновой кости (серое дерево)*2
        Цвет слоновой кости (коричневое дерево)*2
        Цвет слоновой кости (бамбук)*2
        Цвет слоновой кости (краска)*2
        Лунный камень (серое дерево)*2
        Лунный камень (коричневое дерево)*2
        Лунный камень (бамбук)*2
        Лунный камень (краска)*2
        Черный (серое дерево)*2
        Черный (коричневое дерево)*2
        Черный (бамбук)*2
        Черный (краска)*2
        Черный (комплектация F SPORT)*1
        Темно-розовый (комплектация F SPORT)*1
        Черный и лунный камень*2*3
        3R1 Красный слюдяной, блестящий Цвет слоновой кости (серое дерево)*2
        Цвет слоновой кости (коричневое дерево)*2
        Цвет слоновой кости (бамбук)*2
        Цвет слоновой кости (краска)*2
        Лунный камень (серое дерево)*2
        Лунный камень (коричневое дерево)*2
        Лунный камень (бамбук)*2
        Лунный камень (краска)*2
        Черный (серое дерево)*2
        Черный (коричневое дерево)*2
        Черный (бамбук)*2
        Черный (краска)*2
        Черный (комплектация F SPORT)*1
        Темно-розовый (комплектация F SPORT)*1
        Черный и лунный камень*2*3
        3T2 Ярко-красный Цвет слоновой кости (серое дерево)*2
        Цвет слоновой кости (коричневое дерево)*2
        Цвет слоновой кости (бамбук)*2
        Цвет слоновой кости (краска)*2
        Лунный камень (серое дерево)*2
        Лунный камень (коричневое дерево)*2
        Лунный камень (бамбук)*2
        Лунный камень (краска)*2
        Черный (серое дерево)*2
        Черный (коричневое дерево)*2
        Черный (бамбук)*2
        Черный (краска)*2
        Черный (комплектация F SPORT)*1
        Темно-розовый (комплектация F SPORT)*1
        Черный и лунный камень*2*3
        8X1*1 Теплый синий контрастный многослойный Черный (комплектация F SPORT)
        Темно-розовый (комплектация F SPORT)
        *1: только для комплектации F SPORT
        *2: кроме комплектации "F SPORT"
        *3: для специальной комплектации
      2. Для моделей для Австралии

        Окраска кузова Внутреннее оформление
        Индекс цвета Название цвета Название цвета
        083*1 Белый зеркальный чешуйчатый Nova Лунный камень (комплектация F SPORT)
        Черный (комплектация F SPORT)
        Темно-розовый (комплектация F SPORT)
        085*2 Жемчужно-белый (Sonic Quartz) Цвет слоновой кости (серое дерево)
        Цвет слоновой кости (коричневое дерево)
        Цвет слоновой кости (бамбук)
        Цвет слоновой кости (краска)
        Лунный камень (серое дерево)
        Лунный камень (коричневое дерево)
        Лунный камень (бамбук)
        Лунный камень (краска)
        Черный (серое дерево)
        Черный (коричневое дерево)
        Черный (бамбук)
        Черный (краска)
        Коричневый топаз (серое дерево)
        Коричневый топаз (коричневое дерево)
        Коричневый топаз (бамбук)
        Коричневый топаз (краска)
        1H9 Ртутно-серый металлик Цвет слоновой кости (серое дерево)*2
        Цвет слоновой кости (коричневое дерево)*2
        Цвет слоновой кости (бамбук)*2
        Цвет слоновой кости (краска)*2
        Лунный камень (серое дерево)*2
        Лунный камень (коричневое дерево)*2
        Лунный камень (бамбук)*2
        Лунный камень (краска)*2
        Лунный камень (комплектация F SPORT)*1
        Черный (серое дерево)*2
        Черный (коричневое дерево)*2
        Черный (бамбук)*2
        Черный (краска)*2
        Черный (комплектация F SPORT)*1
        Темно-розовый (комплектация F SPORT)*1
        Коричневый топаз (серое дерево)*2
        Коричневый топаз (коричневое дерево)*2
        Коричневый топаз (бамбук)*2
        Коричневый топаз (краска)*2
        1J4 Платиновый серебряный металлик Цвет слоновой кости (серое дерево)*2
        Цвет слоновой кости (коричневое дерево)*2
        Цвет слоновой кости (бамбук)*2
        Цвет слоновой кости (краска)*2
        Лунный камень (серое дерево)*2
        Лунный камень (коричневое дерево)*2
        Лунный камень (бамбук)*2
        Лунный камень (краска)*2
        Лунный камень (комплектация F SPORT)*1
        Черный (серое дерево)*2
        Черный (коричневое дерево)*2
        Черный (бамбук)*2
        Черный (краска)*2
        Черный (комплектация F SPORT)*1
        Темно-розовый (комплектация F SPORT)*1
        Коричневый топаз (серое дерево)*2
        Коричневый топаз (коричневое дерево)*2
        Коричневый топаз (бамбук)*2
        Коричневый топаз (краска)*2
        1J7 Титан (Sonic Titanium) Цвет слоновой кости (серое дерево)*2
        Цвет слоновой кости (коричневое дерево)*2
        Цвет слоновой кости (бамбук)*2
        Цвет слоновой кости (краска)*2
        Лунный камень (серое дерево)*2
        Лунный камень (коричневое дерево)*2
        Лунный камень (бамбук)*2
        Лунный камень (краска)*2
        Лунный камень (комплектация F SPORT)*1
        Черный (серое дерево)*2
        Черный (коричневое дерево)*2
        Черный (бамбук)*2
        Черный (краска)*2
        Черный (комплектация F SPORT)*1
        Темно-розовый (комплектация F SPORT)*1
        Коричневый топаз (серое дерево)*2
        Коричневый топаз (коричневое дерево)*2
        Коричневый топаз (бамбук)*2
        Коричневый топаз (краска)*2
        212 Черный Цвет слоновой кости (серое дерево)*2
        Цвет слоновой кости (коричневое дерево)*2
        Цвет слоновой кости (бамбук)*2
        Цвет слоновой кости (краска)*2
        Лунный камень (серое дерево)*2
        Лунный камень (коричневое дерево)*2
        Лунный камень (бамбук)*2
        Лунный камень (краска)*2
        Лунный камень (комплектация F SPORT)*1
        Черный (серое дерево)*2
        Черный (коричневое дерево)*2
        Черный (бамбук)*2
        Черный (краска)*2
        Черный (комплектация F SPORT)*1
        Темно-розовый (комплектация F SPORT)*1
        Коричневый топаз (серое дерево)*2
        Коричневый топаз (коричневое дерево)*2
        Коричневый топаз (бамбук)*2
        Коричневый топаз (краска)*2
        217 Звездно-черный зеркальный чешуйчатый Цвет слоновой кости (серое дерево)*2
        Цвет слоновой кости (коричневое дерево)*2
        Цвет слоновой кости (бамбук)*2
        Цвет слоновой кости (краска)*2
        Лунный камень (серое дерево)*2
        Лунный камень (коричневое дерево)*2
        Лунный камень (бамбук)*2
        Лунный камень (краска)*2
        Лунный камень (комплектация F SPORT)*1
        Черный (серое дерево)*2
        Черный (коричневое дерево)*2
        Черный (бамбук)*2
        Черный (краска)*2
        Черный (комплектация F SPORT)*1
        Темно-розовый (комплектация F SPORT)*1
        Коричневый топаз (серое дерево)*2
        Коричневый топаз (коричневое дерево)*2
        Коричневый топаз (бамбук)*2
        Коричневый топаз (краска)*2
        3R1 Красный слюдяной, блестящий Цвет слоновой кости (серое дерево)*2
        Цвет слоновой кости (коричневое дерево)*2
        Цвет слоновой кости (бамбук)*2
        Цвет слоновой кости (краска)*2
        Лунный камень (серое дерево)*2
        Лунный камень (коричневое дерево)*2
        Лунный камень (бамбук)*2
        Лунный камень (краска)*2
        Лунный камень (комплектация F SPORT)*1
        Черный (серое дерево)*2
        Черный (коричневое дерево)*2
        Черный (бамбук)*2
        Черный (краска)*2
        Черный (комплектация F SPORT)*1
        Темно-розовый (комплектация F SPORT)*1
        Коричневый топаз (серое дерево)*2
        Коричневый топаз (коричневое дерево)*2
        Коричневый топаз (бамбук)*2
        Коричневый топаз (краска)*2
        3T2 Ярко-красный Цвет слоновой кости (серое дерево)*2
        Цвет слоновой кости (коричневое дерево)*2
        Цвет слоновой кости (бамбук)*2
        Цвет слоновой кости (краска)*2
        Лунный камень (серое дерево)*2
        Лунный камень (коричневое дерево)*2
        Лунный камень (бамбук)*2
        Лунный камень (краска)*2
        Лунный камень (комплектация F SPORT)*1
        Черный (серое дерево)*2
        Черный (коричневое дерево)*2
        Черный (бамбук)*2
        Черный (краска)*2
        Черный (комплектация F SPORT)*1
        Темно-розовый (комплектация F SPORT)*1
        Коричневый топаз (серое дерево)*2
        Коричневый топаз (коричневое дерево)*2
        Коричневый топаз (бамбук)*2
        Коричневый топаз (краска)*2
        8X1*1 Теплый синий контрастный многослойный Лунный камень (комплектация F SPORT)
        Черный (комплектация F SPORT)
        Темно-розовый (комплектация F SPORT)
        *1: Только для комплектации F SPORT
        *2: кроме комплектации "F SPORT"
      3. для моделей для стран Персидского залива, Китая и Чили

        Окраска кузова Внутреннее оформление
        Индекс цвета Название цвета Название цвета
        083*1 Белый зеркальный чешуйчатый Nova Черный (комплектация F SPORT)
        Темно-розовый (комплектация F SPORT)
        085*2 Жемчужно-белый (Sonic Quartz) Цвет слоновой кости (серое дерево)
        Цвет слоновой кости (коричневое дерево)
        Цвет слоновой кости (бамбук)
        Цвет слоновой кости (краска)
        Лунный камень (краска)*3
        Черный (серое дерево)
        Черный (коричневое дерево)
        Черный (бамбук)
        Черный (краска)
        Коричневый топаз (серое дерево)
        Коричневый топаз (коричневое дерево)
        Коричневый топаз (краска)*4
        1H9 Ртутно-серый металлик Цвет слоновой кости (серое дерево)*2
        Цвет слоновой кости (коричневое дерево)*2
        Цвет слоновой кости (бамбук)*2
        Цвет слоновой кости (краска)*2
        Лунный камень (краска)*2*3
        Черный (серое дерево)*2
        Черный (коричневое дерево)*2
        Черный (бамбук)*2
        Черный (краска)*2
        Черный (комплектация F SPORT)*1
        Темно-розовый (комплектация F SPORT)*1
        Коричневый топаз (серое дерево)*2
        Коричневый топаз (коричневое дерево)*2
        Коричневый топаз (краска)*2*4
        1J4 Платиновый серебряный металлик Цвет слоновой кости (серое дерево)*2
        Цвет слоновой кости (коричневое дерево)*2
        Цвет слоновой кости (бамбук)*2
        Цвет слоновой кости (краска)*2
        Лунный камень (краска)*2*3
        Черный (серое дерево)*2
        Черный (коричневое дерево)*2
        Черный (бамбук)*2
        Черный (краска)*2
        Черный (комплектация F SPORT)*1
        Темно-розовый (комплектация F SPORT)*1
        Коричневый топаз (серое дерево)*2
        Коричневый топаз (коричневое дерево)*2
        Коричневый топаз (краска)*2*4
        1J7 Титан (Sonic Titanium) Цвет слоновой кости (серое дерево)*2
        Цвет слоновой кости (коричневое дерево)*2
        Цвет слоновой кости (бамбук)*2
        Цвет слоновой кости (краска)*2
        Лунный камень (краска)*2*3
        Черный (серое дерево)*2
        Черный (коричневое дерево)*2
        Черный (бамбук)*2
        Черный (краска)*2
        Черный (комплектация F SPORT)*1
        Темно-розовый (комплектация F SPORT)*1
        Коричневый топаз (серое дерево)*2
        Коричневый топаз (коричневое дерево)*2
        Коричневый топаз (краска)*2*4
        212 Черный Цвет слоновой кости (серое дерево)*2
        Цвет слоновой кости (коричневое дерево)*2
        Цвет слоновой кости (бамбук)*2
        Цвет слоновой кости (краска)*2
        Лунный камень (краска)*2*3
        Черный (серое дерево)*2
        Черный (коричневое дерево)*2
        Черный (бамбук)*2
        Черный (краска)*2
        Черный (комплектация F SPORT)*1
        Темно-розовый (комплектация F SPORT)*1
        Коричневый топаз (серое дерево)*2
        Коричневый топаз (коричневое дерево)*2
        Коричневый топаз (краска)*2*4
        217 Звездно-черный зеркальный чешуйчатый Цвет слоновой кости (серое дерево)*2
        Цвет слоновой кости (коричневое дерево)*2
        Цвет слоновой кости (бамбук)*2
        Цвет слоновой кости (краска)*2
        Лунный камень (краска)*2*3
        Черный (серое дерево)*2
        Черный (коричневое дерево)*2
        Черный (бамбук)*2
        Черный (краска)*2
        Черный (комплектация F SPORT)*1
        Темно-розовый (комплектация F SPORT)*1
        Коричневый топаз (серое дерево)*2
        Коричневый топаз (коричневое дерево)*2
        Коричневый топаз (краска)*2*4
        3R1 Красный слюдяной, блестящий Цвет слоновой кости (серое дерево)*2
        Цвет слоновой кости (коричневое дерево)*2
        Цвет слоновой кости (бамбук)*2
        Цвет слоновой кости (краска)*2
        Лунный камень (краска)*2*3
        Черный (серое дерево)*2
        Черный (коричневое дерево)*2
        Черный (бамбук)*2
        Черный (краска)*2
        Черный (комплектация F SPORT)*1
        Темно-розовый (комплектация F SPORT)*1
        Коричневый топаз (серое дерево)*2
        Коричневый топаз (коричневое дерево)*2
        Коричневый топаз (краска)*2*4
        3T2 Ярко-красный Цвет слоновой кости (серое дерево)*2
        Цвет слоновой кости (коричневое дерево)*2
        Цвет слоновой кости (бамбук)*2
        Цвет слоновой кости (краска)*2
        Лунный камень (краска)*2*3
        Черный (серое дерево)*2
        Черный (коричневое дерево)*2
        Черный (бамбук)*2
        Черный (краска)*2
        Черный (комплектация F SPORT)*1
        Темно-розовый (комплектация F SPORT)*1
        Коричневый топаз (серое дерево)*2
        Коричневый топаз (коричневое дерево)*2
        Коричневый топаз (краска)*2*4
        8X1*1 Теплый синий контрастный многослойный Черный (комплектация F SPORT)
        Темно-розовый (комплектация F SPORT)
        *1: Только для комплектации F SPORT
        *2: кроме комплектации "F SPORT"
        *3: для моделей для Чили
        *4: для моделей для Китая и Чили
      4. для моделей в комплектации для Южной Кореи

        Окраска кузова Внутреннее оформление
        Индекс цвета Название цвета Название цвета
        083*1 Белый зеркальный чешуйчатый Nova Лунный камень (комплектация F SPORT)
        Черный (комплектация F SPORT)
        Темно-розовый (комплектация F SPORT)
        085*2 Жемчужно-белый (Sonic Quartz) Цвет слоновой кости (серое дерево)
        Цвет слоновой кости (коричневое дерево)
        Лунный камень (серое дерево)
        Лунный камень (коричневое дерево)
        Черный (серое дерево)
        Черный (коричневое дерево)
        Коричневый топаз (серое дерево)
        Коричневый топаз (коричневое дерево)
        1H9 Ртутно-серый металлик Цвет слоновой кости (серое дерево)*2
        Цвет слоновой кости (коричневое дерево)*2
        Лунный камень (серое дерево)*2
        Лунный камень (коричневое дерево)*2
        Лунный камень (комплектация F SPORT)*1
        Черный (серое дерево)*2
        Черный (коричневое дерево)*2
        Черный (комплектация F SPORT)*1
        Темно-розовый (комплектация F SPORT)*1
        Коричневый топаз (серое дерево)*2
        Коричневый топаз (коричневое дерево)*2
        1J4 Платиновый серебряный металлик Цвет слоновой кости (серое дерево)*2
        Цвет слоновой кости (коричневое дерево)*2
        Лунный камень (серое дерево)*2
        Лунный камень (коричневое дерево)*2
        Лунный камень (комплектация F SPORT)*1
        Черный (серое дерево)*2
        Черный (коричневое дерево)*2
        Черный (комплектация F SPORT)*1
        Темно-розовый (комплектация F SPORT)*1
        Коричневый топаз (серое дерево)*2
        Коричневый топаз (коричневое дерево)*2
        1J7 Титан (Sonic Titanium) Цвет слоновой кости (серое дерево)*2
        Цвет слоновой кости (коричневое дерево)*2
        Лунный камень (серое дерево)*2
        Лунный камень (коричневое дерево)*2
        Лунный камень (комплектация F SPORT)*1
        Черный (серое дерево)*2
        Черный (коричневое дерево)*2
        Черный (комплектация F SPORT)*1
        Темно-розовый (комплектация F SPORT)*1
        Коричневый топаз (серое дерево)*2
        Коричневый топаз (коричневое дерево)*2
        212 Черный Цвет слоновой кости (серое дерево)*2
        Цвет слоновой кости (коричневое дерево)*2
        Лунный камень (серое дерево)*2
        Лунный камень (коричневое дерево)*2
        Лунный камень (комплектация F SPORT)*1
        Черный (серое дерево)*2
        Черный (коричневое дерево)*2
        Черный (комплектация F SPORT)*1
        Темно-розовый (комплектация F SPORT)*1
        Коричневый топаз (серое дерево)*2
        Коричневый топаз (коричневое дерево)*2
        217 Звездно-черный зеркальный чешуйчатый Цвет слоновой кости (серое дерево)*2
        Цвет слоновой кости (коричневое дерево)*2
        Лунный камень (серое дерево)*2
        Лунный камень (коричневое дерево)*2
        Лунный камень (комплектация F SPORT)*1
        Черный (серое дерево)*2
        Черный (коричневое дерево)*2
        Черный (комплектация F SPORT)*1
        Темно-розовый (комплектация F SPORT)*1
        Коричневый топаз (серое дерево)*2
        Коричневый топаз (коричневое дерево)*2
        3R1 Красный слюдяной, блестящий Цвет слоновой кости (серое дерево)*2
        Цвет слоновой кости (коричневое дерево)*2
        Лунный камень (серое дерево)*2
        Лунный камень (коричневое дерево)*2
        Лунный камень (комплектация F SPORT)*1
        Черный (серое дерево)*2
        Черный (коричневое дерево)*2
        Черный (комплектация F SPORT)*1
        Темно-розовый (комплектация F SPORT)*1
        Коричневый топаз (серое дерево)*2
        Коричневый топаз (коричневое дерево)*2
        3T2 Ярко-красный Цвет слоновой кости (серое дерево)*2
        Цвет слоновой кости (коричневое дерево)*2
        Лунный камень (серое дерево)*2
        Лунный камень (коричневое дерево)*2
        Лунный камень (комплектация F SPORT)*1
        Черный (серое дерево)*2
        Черный (коричневое дерево)*2
        Черный (комплектация F SPORT)*1
        Темно-розовый (комплектация F SPORT)*1
        Коричневый топаз (серое дерево)*2
        Коричневый топаз (коричневое дерево)*2
        8X1*1 Теплый синий контрастный многослойный Лунный камень (комплектация F SPORT)
        Черный (комплектация F SPORT)
        Темно-розовый (комплектация F SPORT)
        *1: Только для комплектации F SPORT
        *2: кроме комплектации "F SPORT"