СЕНСОРНАЯ СИСТЕМА ПОМОЩИ ПРИ ПАРКОВКЕ LEXUS


  1. НАЗНАЧЕНИЕ ОСНОВНЫХ УСТРОЙСТВ

    Устройство Функция
    ЭБУ предупреждения о недопустимой дистанции в сборе
    • Оценивает приблизительное расстояние между автомобилем и препятствием по сигналам от ультразвуковых датчиков № 1. Выдаваемые сигналы передаются в мультиинформационный или многофункциональный дисплей*.

    • Включает зуммер предупреждения о недопустимой дистанции № 1.

    Ультразвуковой датчик № 1 (6) Определяет расстояние между автомобилем и препятствием.
    Зуммер предупреждения о недопустимой дистанции № 1 Подает звуковой сигнал, информируя водителя о дистанции до препятствия.
    Щиток приборов в сборе Контрольная лампа сенсорной системы помощи при парковке LEXUS Включаясь, информирует водителя о выполнении условий для работы системы.
    Мультиинформационный дисплей
    • Показывает положение препятствия и приблизительное расстояние между автомобилем и препятствием.

    • Отображает сообщение о неисправности или обледенении ультразвукового датчика № 1, предупреждая водителя.

    Главная контрольная лампа аварийного состояния Включается в соответствии с данными индикации на мультиинформационном дисплее
    Многофункциональный дисплей*
    • Отображает положение препятствия и приблизительное расстояние между автомобилем и препятствием.

    • Отображает сообщение о неисправности или обледенении ультразвукового датчика № 1, предупреждая водителя.

    • На экране настройки сенсорной системы помощи при парковке LEXUS можно установить громкость звукового сигнала, дистанцию, при которой должен включаться зуммер, а также расстояние, при котором должен переключаться дисплей.

    Радиоприемник в сборе* Передает сигнал настройки для сенсорной системы помощи при парковке LEXUS в ЭБУ предупреждения о недопустимой дистанции.
    Задний ультразвуковой датчик или выключатель системы ультразвуковой локации в сборе Этот выключатель позволяет разрешить/запретить работу сенсорной системы помощи при парковке LEXUS.
    Главный ЭБУ кузова (бортовой ЭБУ сети мультиплексной связи) Передает сигнал рынка сбыта модели (данные, указывающие рынок, для которого был создан автомобиль) в ЭБУ предупреждения о недопустимой дистанции в сборе.
    Переключатель передач на панели приборов в сборе Передает сигнал положения рычага переключения передач в ЭБУ распределения питания.
    ЭБУ распределения питания Передает в ЭБУ предупреждения о недопустимой дистанции в сборе сигнал положения рычага переключения передач.

    • *: для моделей с системой навигации или аудиосистемой с дисплеем Lexus

  2. УСЛОВИЯ РАБОТЫ


    1. Условия работы каждого датчика различаются в зависимости от положения его установки, как показано в следующей таблице.

      Установочное положение Условия работы
      Передний угловой
      • Выключатель питания находится в состоянии ON (ВКЛ) (IG).

      • Система активирована.

      • Положение парковки (Р) и или заднего хода (R) не выбрано.

      • Скорость автомобиля приблизительно 10 км/час (6 миль в час) или менее.


      • Выключатель питания находится в состоянии ON (ВКЛ) (IG).

      • Система активирована.

      • Выбрано положение заднего хода (R).

      Задний угловой
      • Выключатель питания находится в состоянии ON (ВКЛ) (IG).

      • Система активирована.

      • Выбрано положение заднего хода (R).

      Задний центральный
      • Выключатель питания находится в состоянии ON (ВКЛ) (IG).

      • Система активирована.

      • Выбрано положение заднего хода (R).

  3. КОНСТРУКЦИЯ


    1. Ультразвуковой датчик № 1


      1. Ультразвуковые датчики № 1 содержат микрофон и электронную схему, которые передают и принимают ультразвуковые колебания.

        B0022L3E02
        Обозначения на рисунке
        *a Микрофон *b Сечение A - A
  4. ПРИНЦИП РАБОТЫ


    1. Зуммер предупреждения о недопустимой дистанции № 1


      1. Тип звукового сигнала зуммера предупреждения о недопустимой дистанции № 1 зависит от расстояния и зоны обнаружения.

        Зона обнаружения Дистанция обнаружения Схема звукового сигнала зуммера
        Передний угловой Длинная дистанция 500 +/- 50 мм - 400 +/- 50 мм (19,7 +/- 2,0 дюйма - 15,7 +/- 2,0 дюйма) 150/150
        Средняя дистанция 400 +/- 50 мм - 300 +/- 50 мм (15,7 +/- 2,0 дюйма - 11,8 +/- 2,0 дюйма) 75/75
        Малая дистанция 300 +/- 50 мм или менее (11,8 +/- 2,0 дюйма или менее) Непрерывный звуковой сигнал
        Задний угловой Длинная дистанция 600 +/- 60 мм - 450 +/- 50 мм (23,6 +/- 2,4 дюйма - 17,7 +/- 2,0 дюйма) 150/150
        Средняя дистанция 450 +/- 50 мм - 300 +/- 50 мм (17,7 +/- 2,0 дюйма - 11,8 +/- 2,0 дюйма) 75/75
        Малая дистанция 300 +/- 50 мм или менее (11,8 +/- 2,0 дюйма или менее) Непрерывный звуковой сигнал
        Задний центральный Самая длинная дистанция 1500 +/- 150 мм - 600 +/- 60 мм (59,0 +/- 5,9 - 23,6 +/- 2,4 дюйма) 150/650
        Длинная дистанция 600 +/- 60 мм - 450 +/- 50 мм (23,6 +/- 2,4 дюйма - 17,7 +/- 2,0 дюйма) 150/150
        Средняя дистанция 450 +/- 50 мм - 350 +/- 50 мм (17,7 +/- 2,0 дюйма - 13,8 +/- 2,0 дюйма) 75/75
        Малая дистанция 350 +/- 50 мм или менее (13,8 +/- 2,0 дюйма или менее) Непрерывный звуковой сигнал
      2. Ультразвуковые датчики № 1 разделены на 2 группы: группу передней части (передние угловые) и группу задней части (задние угловые и задний центральный). Если несколько ультразвуковых датчиков № 1 одновременно обнаруживают препятствие, зуммер предупреждения о недопустимой дистанции № 1 звучит по описанной ниже схеме в зависимости от дистанции и области обнаружения каждой группы.

        Схема звукового сигнала зуммера (время ВКЛ/ВЫКЛ, мс)
        Дистанция обнаружения Малая (*A) Средняя (*A) Длинная (*A) Не обнаружены
        Малая (*B) Временная диаграмма 1 Временная диаграмма 2 Временная диаграмма 2 Непрерывный звуковой сигнал
        Средняя (*B) Временная диаграмма 2 75/75 75/75 75/75
        Длинная (*B) Временная диаграмма 2 75/75 150/150 150/150
        Самая длинная (*B) Временная диаграмма 2 75/75 150/150 150/650
        Не обнаружены Непрерывный звуковой сигнал 75/75 150/150 Отсутствует

        • *A: Передняя секция

        • *B: Задняя секция

        B0022RSE27
    2. Функция отключения звука зуммера предупреждения о недопустимой дистанции


      1. Звук зуммера может быть временно отключен с помощью выключателя отключения звука зуммера на многофункциональном дисплее радиоприемника в сборе* или системы навигации в сборе.

        *: для моделей с системой навигации или аудиосистемой с дисплеем Lexus

      2. Действие функции отключения звука отменяется, когда скорость автомобиля достигает определенного значения.

        B0022L5E04
        Обозначения на рисунке
        *a Выключатель отключения звука зуммера *b Этот рисунок приведен только для примера. Изображение может отличаться от реального экрана автомобиля.
    3. Мультиинформационный дисплей


      1. На мультиинформационном дисплее отображаются положение препятствия и приблизительное расстояние между автомобилем и препятствием.

      2. Количество линий, отображаемых на дисплее, изменяется в зависимости от фактического расстояния и мигает, когда расстояние мало.

        B0022F3E03
        Обозначения на рисунке
        *A для моделей с монохромным мультиинформационным дисплеем *B для моделей с цветным мультиинформационным дисплеем
        *1 Левый передний угловой *2 Правый передний угловой
        *3 Левый задний угловой *4 Правый задний угловой
        *5 Задний центральный *6 Расстояние
        *7 Самая длинная дистанция *8 Длинная дистанция
        *9 Средняя дистанция *10 Малая дистанция
        *11 Мигает - -
      3. На мультиинформационном дисплее отображаются экраны с предупреждающими сообщениями, относящимися к неисправностям ультразвуковых датчиков № 1, замерзанию ультразвуковых датчиков № 1 и наличию постороннего вещества на ультразвуковых датчиках № 1. Предупреждающее сообщение выводится на языке, установленном для мультиинформационного дисплея.

        B0022RTE01
        Обозначения на рисунке
        *A для моделей с монохромным мультиинформационным дисплеем *B для моделей с цветным мультиинформационным дисплеем
        *1 Неисправность *2 Обледенение/загрязнение
    4. Многофункциональный дисплей (для моделей с системой навигации или аудиосистемой с дисплеем Lexus)


      1. На многофункциональном дисплее отображаются положение препятствия и приблизительное расстояние между автомобилем и препятствием. На многофункциональном дисплее также отображаются экраны с предупреждающими сообщениями, относящимися к неисправностям ультразвуковых датчиков № 1, замерзанию ультразвуковых датчиков № 1 и наличию постороннего вещества на ультразвуковых датчиках № 1.

      2. Расстояние отображается числом линий и цветом в соответствии с измеренной дистанцией. Обычно индикация имеет желтый цвет. Если расстояние мало, загорается красный индикатор.

        B0022MVE04
        Обозначения на рисунке
        *1 Левый передний угловой *2 Правый передний угловой
        *3 Левый задний угловой *4 Задний центральный
        *5 Правый задний угловой *6 Расстояние
        *7 Самая длинная дистанция *8 Длинная дистанция
        *9 Средняя дистанция *10 Малая дистанция
        *11 Желтый *12 Красный
      3. Если во время работы системы монитора*1 или системы помощи при парковке*2 обнаруживается препятствие, на многофункциональном дисплее отображается приблизительное расстояние между автомобилем и препятствием.


        • *1: для моделей с системой монитора

        • *2: для моделей с системой помощи при парковке

      4. Расстояние представляется цветом исходя из фактического расстояния до препятствия. При обнаружении препятствия на большом или среднем расстоянии отображается желтый индикатор. Когда расстояние становится малым, цвет изменяется с желтого на красный.

        B0022B9E04
        Обозначения на рисунке
        *1 Левый передний угловой *2 Правый передний угловой
        *3 Левый задний угловой *4 Правый задний угловой
        *5 Задний центральный - -
        *a Изображения на рисунках приведены только в качестве примера. Изображения могут отличаться от реальных экранов автомобиля. - -
      5. На многофункциональном дисплее отображаются экраны с предупреждающими сообщениями, относящимися к неисправностям ультразвуковых датчиков № 1, замерзанию ультразвуковых датчиков № 1 и наличию постороннего вещества на ультразвуковых датчиках № 1. Предупреждающее сообщение выводится на языке, установленном для многофункционального дисплея.

        B0022HJE01
        Обозначения на рисунке
        *1 Неисправность *2 Обледенение/загрязнение
      6. Время отображения и расстояние обнаружения настраиваются с помощью многофункционального дисплея.

        B0022GSE01
        Обозначения на рисунке
        *A Для моделей с системой навигации *B для моделей с аудиосистемой с дисплеем Lexus
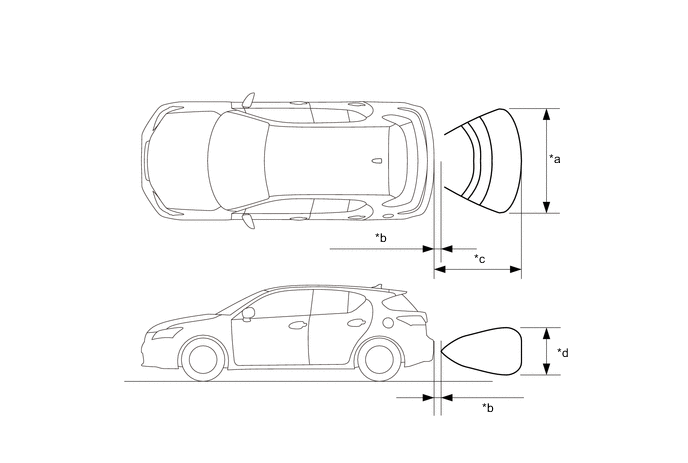
    5. Зона обнаружения


      1. На следующем рисунке показаны зоны обнаружения ультразвуковых датчиков № 1.

      2. Эти зоны обнаружения применимы в тех случаях, когда шест диаметром 60 мм (2,36 дюйма) располагается параллельно или перпендикулярно поверхности земли. Конкретные значения зависят от метода измерения и типа препятствия.

        B0022MTE03
        Обозначения на рисунке (угловые зоны):
        *a Приблизительно 850 мм (33,5 дюйма) *b Приблизительно 500 мм (19,7 дюйма)
        *c Приблизительно 600 мм (23,6 дюйма) *d Приблизительно 450 мм (17,7 дюйма)
        *e Приблизительно 200 мм (7,87 дюйма) - -
        B0022QIE03
        Обозначения на рисунке (задняя центральная зона):
        *a Приблизительно 1800 мм (70,9 дюйма) *b Приблизительно 200 мм (7,87 дюйма)
        *c Приблизительно 1350 мм (53,1 дюйма) *d Приблизительно 600 мм (23,6 дюйма)
  5. ДИАГНОСТИКА


    1. При обнаружении неисправности системы в памяти ЭБУ предупреждения о недопустимой дистанции сохраняются диагностические коды неисправности (DTC). Более подробную информацию см. в Руководстве по ремонту.