СЕНСОРНАЯ СИСТЕМА ПОМОЩИ ПРИ ПАРКОВКЕ LEXUS

A004US5E02
Обозначения на рисунке
*1 Ультразвуковой датчик № 1 (правый передний угловой датчик) *2 Ультразвуковой датчик № 1 (левый передний угловой датчик)
*3 Ультразвуковой датчик № 1 (левый задний угловой датчик) *4 Ультразвуковой датчик № 1 (левый задний центральный датчик)
*5 Ультразвуковой датчик № 1 (правый задний центральный датчик) *6 Ультразвуковой датчик № 1 (правый задний угловой датчик)
A004UZ5E02
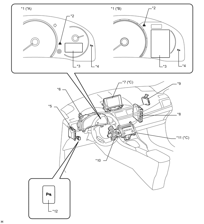
Обозначения на рисунке (для моделей с левосторонним рулевым управлением):
*A для моделей с монохромным мультиинформационным дисплеем *B для моделей с цветным мультиинформационным дисплеем
*C для моделей с системой навигации или аудиосистемой с дисплеем Lexus - -
*1 Щиток приборов в сборе *2 Главная контрольная лампа аварийного состояния
*3 Мультиинформационный дисплей *4 Контрольная лампа сенсорной системы помощи при парковке LEXUS
*5 Главный ЭБУ кузова (бортовой ЭБУ сети мультиплексной связи) *6 Зуммер предупреждения о недопустимой дистанции № 1
*7 Многофункциональный дисплей *8 ЭБУ распределения питания
*9 ЭБУ предупреждения о недопустимой дистанции в сборе *10 Переключатель передач на панели приборов в сборе
*11 Радиоприемник в сборе *12 Задний ультразвуковой датчик или выключатель системы ультразвуковой локации в сборе
A004UWEE03
Обозначения на рисунке (для моделей с правосторонним рулевым управлением):
*A для моделей с монохромным мультиинформационным дисплеем *B для моделей с цветным мультиинформационным дисплеем
*C для моделей с системой навигации или аудиосистемой с дисплеем Lexus - -
*1 Щиток приборов в сборе *2 Главная контрольная лампа аварийного состояния
*3 Мультиинформационный дисплей *4 Контрольная лампа сенсорной системы помощи при парковке LEXUS
*5 ЭБУ распределения питания *6 Главный ЭБУ кузова (бортовой ЭБУ сети мультиплексной связи)
*7 Многофункциональный дисплей *8 Зуммер предупреждения о недопустимой дистанции № 1
*9 ЭБУ предупреждения о недопустимой дистанции в сборе *10 Радиоприемник в сборе
*11 Переключатель передач на панели приборов в сборе *12 Задний ультразвуковой датчик или выключатель системы ультразвуковой локации в сборе