| *A | LHD Models | *B | RHD Models |
| *1 | Engine Coolant Temperature Switch | *2 | Brake Booster with Master Cylinder - Skid Control ECU |
| *3 | ECM | *4 | Washer Fluid Level Warning Switch |
| *5 | Oil Pressure Switch | *6 | Rear Seat Belt Assembly Inner - Seat Belt Buckle Switch RH |
| *7 | Fuel Sender Gauge | *8 | Rear Seat Inner with Center Belt Assembly - Seat Belt Buckle Switch LH - Seat Belt Buckle Switch Center |
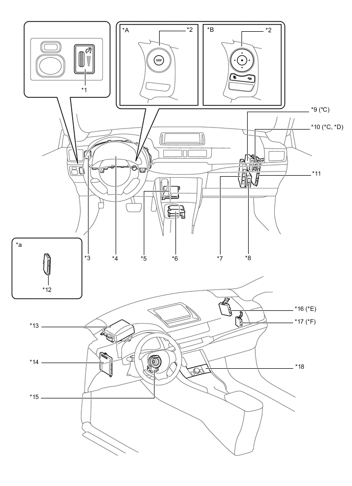
| *A | Models with Monochrome Type Multi-information Display | *B | Models with Color Type Multi-information Display |
| *C | Models with Pre-crash Safety System | *D | Models with Dynamic Radar Cruise Control System |
| *E | Models with LEXUS Parking Assist-sensor System | *F | Models with LED Headlights |
| *1 | Light Control Rheostat | *2 | Steering Pad Switch Assembly |
| *3 | Turn Signal Flasher Relay | *4 | Combination Meter Assembly |
| *5 | Air Conditioning Amplifier Assembly | *6 | Airbag Sensor Assembly |
| *7 | Power Management Control ECU | *8 | Transmission Control ECU Assembly |
| *9 | Seat Belt Control ECU | *10 | Driving Support ECU Assembly |
| *11 | Parking Assist ECU | *12 | Certification ECU (Smart Key ECU Assembly) |
| *13 | Power Steering ECU Assembly | *14 | Main Body ECU (Multiplex Network Body ECU ) |
| *15 | Spiral with Sensor Cable Sub-assembly | *16 | Clearance Warning ECU Assembly |
| *17 | Headlight Leveling ECU Assembly | *18 | Combination Switch Assembly - Drive Mode Select - Rear Seat Belt Warning Light (Models with Rear Seat Belt Warning Function) |
| *a | Refer to Service Bulletin for the installation position of the part. | - | - |
| *A | Models with Monochrome Type Multi-information Display | *B | Models with Color Type Multi-information Display |
| *C | Models with Pre-crash Safety System | *D | Models with Dynamic Radar Cruise Control System |
| *E | Models with LEXUS Parking Assist-sensor System | *F | Models with LED Headlights |
| *1 | Turn Signal Flasher Relay | *2 | Combination Meter Assembly |
| *3 | Steering Pad Switch Assembly | *4 | Light Control Rheostat |
| *5 | Airbag Sensor Assembly | *6 | Air Conditioning Amplifier Assembly |
| *7 | Parking Assist ECU | *8 | Driving Support ECU Assembly |
| *9 | Certification ECU (Smart Key ECU Assembly) | *10 | Main Body ECU (Multiplex Network Body ECU ) |
| *11 | Seat Belt Control ECU | *12 | Power Management Control ECU |
| *13 | Transmission Control ECU Assembly | *14 | Power Steering ECU Assembly |
| *15 | Clearance Warning ECU Assembly | *16 | Headlight Leveling ECU Assembly |
| *17 | Combination Switch Assembly - Drive Mode Select - Rear Seat Belt Warning Light |
*18 | Spiral with Sensor Cable Sub-assembly |
| *a | Refer to Service Bulletin for the installation position of the part. | - | - |