| *A | RHD Models | *B | LHD Models |
| *1 | FORWARD RECOGNITION CAMERA | *2 | WASHER LEVEL WARNING SWITCH (LEVEL WARNING SWITCH ASSEMBLY) |
| *3 | ECM | *4 | BRAKE BOOSTER WITH MASTER CYLINDER ASSEMBLY
|
| *5 | NO. 2 FUEL SENDER GAUGE ASSEMBLY | *6 | TIRE PRESSURE WARNING ECU AND RECEIVER |
| *a | The illustrations shown are examples only. | - | - |
Figure 1. LHD Models
| *A | Models with Pre-collision System | *B | Modela with LEXUS Parking Assist-sensor System |
| *C | Models with LED Headlight System | *D | Models with Emergency Call Switch |
| *1 | TURN SIGNAL FLASHER ASSEMBLY | *2 | COMBINATION METER ASSEMBLY |
| *3 | AIR CONDITIONING AMPLIFIER ASSEMBLY | *4 | AIRBAG SENSOR ASSEMBLY |
| *5 | DRIVING SUPPORT ECU ASSEMBLY | *6 | CLEARANCE WARNING ECU ASSEMBLY |
| *7 | HEADLIGHT LEVELING ECU ASSEMBLY | *8 | POWER MANAGEMENT CONTROL ECU |
| *9 | DCM (TELEMATICS TRANSCEIVER) | *10 | LIGHT CONTROL RHEOSTAT |
| *11 | STEERING PAD SWITCH ASSEMBLY | - | - |
| *a | The illustrations shown are examples only. | - | - |
Figure 2. LHD Models
| *A | Models with Radio Receiver Assembly | - | - |
| *1 | POWER STEERING ECU ASSEMBLY | *2 | MAIN BODY ECU (MULTIPLEX NETWORK BODY ECU) |
| *3 | SPIRAL CABLE WITH SENSOR SUB-ASSEMBLY | *4 | NETWORK GATEWAY ECU |
| *5 | TRANSMISSION CONTROL ECU ASSEMBLY | *6 | RADIO RECEIVER ASSEMBLY |
| *a | The illustrations shown are examples only. | - | - |
Figure 3. LHD Models
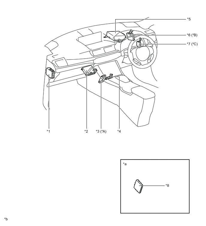
| *1 | COMBINATION SWITCH ASSEMBLY | *2 | FRONT SEAT INNER BELT ASSEMBLY RH |
| *3 | OCCUPANT DETECTION SENSOR | *4 | CERTIFICATION ECU (SMART KEY ECU ASSEMBLY) |
| *a | Refer to Service Bulletin for the installation position of this part. | *b | The illustrations shown are examples only. |
Figure 4. RHD Models
| *A | Models with Radio Receiver Assembly | - | - |
| *1 | POWER MANAGEMENT CONTROL ECU | *2 | MAIN BODY ECU (MULTIPLEX NETWORK BODY ECU) |
| *3 | RADIO RECEIVER ASSEMBLY | *4 | AIRBAG SENSOR ASSEMBLY |
| *5 | OCCUPANT DETECTION SENSOR | *6 | FRONT SEAT INNER BELT ASSEMBLY LH |
| *7 | TURN SIGNAL FLASHER ASSEMBLY | *8 | COMBINATION METER ASSEMBLY |
| *9 | SPIRAL CABLE WITH SENSOR SUB-ASSEMBLY | *10 | COMBINATION SWITCH ASSEMBLY |
| *11 | STEERING PAD SWITCH ASSEMBLY | *12 | LIGHT CONTROL RHEOSTAT |
| *a | The illustrations shown are examples only. | - | - |
Figure 5. RHD Models
| *A | Models with Pre-collision System | *B | Modela with LEXUS Parking Assist-sensor System |
| *C | Models with LED Headlight System | - | - |
| *1 | TRANSMISSION CONTROL ECU ASSEMBLY | *2 | AIR CONDITIONING AMPLIFIER ASSEMBLY |
| *3 | DRIVING SUPPORT ECU ASSEMBLY | *4 | NETWORK GATEWAY ECU |
| *5 | POWER STEERING ECU ASSEMBLY | *6 | CLEARANCE WARNING ECU ASSEMBLY |
| *7 | HEADLIGHT LEVELING ECU ASSEMBLY | *8 | CERTIFICATION ECU (SMART KEY ECU ASSEMBLY) |
| *a | Refer to Service Bulletin for the installation position of this part. | *b | The illustrations shown are examples only. |
Figure 6. Models with Rear Seat Belt Warning Function
| *1 | REAR SEAT INNER BELT ASSEMBLY RH | *2 | REAR SEAT INNER WITH CENTER BELT ASSEMBLY LH |
| *A | Models with 2ZR-FXE Engine | *B | Models with 5ZR-FXE Engine |
| *C | Models with Exhaust Heat Recirculation System | - | - |
| *1 | ENGINE OIL PRESSURE SWITCH ASSEMBLY | *2 | ENGINE COOLANT TEMPERATURE SENSOR |