| *1 | No. 1 Ultrasonic Sensor (Front Corner RH) | *2 | No. 1 Ultrasonic Sensor (Front Corner LH) |
| *3 | No. 1 Ultrasonic Sensor (Rear Corner LH) | *4 | No. 1 Ultrasonic Sensor (Rear Center LH) |
| *5 | No. 1 Ultrasonic Sensor (Rear Center RH) | *6 | No. 1 Ultrasonic Sensor (Rear Corner RH) |
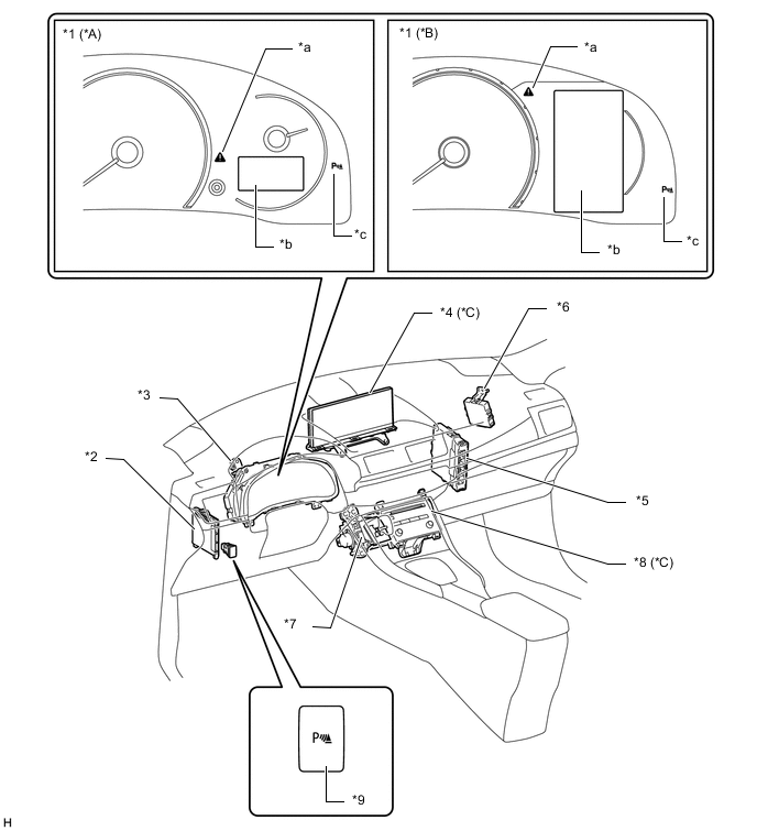
| *A | Models with Monochrome Type Multi-information Display | *B | Models with Color Type Multi-information Display |
| *C | Models with Lexus Display Audio System or Navigation System | - | - |
| *1 | Combination Meter Assembly | *2 | Main Body ECU (Multiplex Network Body ECU) |
| *3 | No. 1 Clearance Warning Buzzer | *4 | Multi-display Assembly |
| *5 | Power Management Control ECU | *6 | Clearance Warning ECU Assembly |
| *7 | Transmission Instrument Panel Shift Assembly | *8 | Radio Receiver Assembly |
| *9 | Back Sonar or Clearance Sonar Switch Assembly | - | - |
| *a | Master Warning Light | *b | Multi-information Display |
| *c | LEXUS Parking Assist-sensor System Indicator Light | - | - |
| *A | Models with Monochrome Type Multi-information Display | *B | Models with Color Type Multi-information Display |
| *C | Models with Lexus Display Audio System or Navigation System | - | - |
| *1 | Combination Meter Assembly | *2 | Power Management Control ECU |
| *3 | Main Body ECU (Multiplex Network Body ECU) | *4 | Multi-display Assembly |
| *5 | No. 1 Clearance Warning Buzzer | *6 | Clearance Warning ECU Assembly |
| *7 | Radio Receiver Assembly | *8 | Transmission Instrument Panel Shift Assembly |
| *9 | Back Sonar or Clearance Sonar Switch Assembly | - | - |
| *a | Master Warning Light | *b | Multi-information Display |
| *c | LEXUS Parking Assist-sensor System Indicator Light | - | - |