LEXUS PARKING ASSIST-SENSOR SYSTEM

A004US5E02
Text in Illustration
*1 No. 1 Ultrasonic Sensor (Front Corner RH) *2 No. 1 Ultrasonic Sensor (Front Corner LH)
*3 No. 1 Ultrasonic Sensor (Rear Corner LH) *4 No. 1 Ultrasonic Sensor (Rear Center LH)
*5 No. 1 Ultrasonic Sensor (Rear Center RH) *6 No. 1 Ultrasonic Sensor (Rear Corner RH)
A004UZ5E02
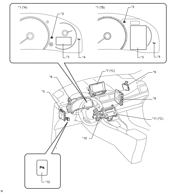
Text in Illustration (LHD Models:)
*A Models with Monochrome Type Multi-information Display *B Models with Color Type Multi-information Display
*C Models with Lexus Display Audio System or Navigation System - -
*1 Combination Meter Assembly *2 Master Warning Light
*3 Multi-information Display *4 LEXUS Parking Assist-sensor System Indicator Light
*5 Main Body ECU (Multiplex Network Body ECU) *6 No. 1 Clearance Warning Buzzer
*7 Multi-display *8 Power Management Control ECU
*9 Clearance Warning ECU Assembly *10 Transmission Instrument Panel Shift Assembly
*11 Radio Receiver Assembly *12 Back Sonar or Clearance Sonar Switch Assembly
A004UWEE03
Text in Illustration (RHD Models:)
*A Models with Monochrome Type Multi-information Display *B Models with Color Type Multi-information Display
*C Models with Lexus Display Audio System or Navigation System - -
*1 Combination Meter Assembly *2 Master Warning Light
*3 Multi-information Display *4 LEXUS Parking Assist-sensor System Indicator Light
*5 Power Management Control ECU *6 Main Body ECU (Multiplex Network Body ECU)
*7 Multi-display *8 No. 1 Clearance Warning Buzzer
*9 Clearance Warning ECU Assembly *10 Radio Receiver Assembly
*11 Transmission Instrument Panel Shift Assembly *12 Back Sonar or Clearance Sonar Switch Assembly