EXHAUST SYSTEM


  1. CONSTRUCTION


    1. Exhaust Manifold


      1. The exhaust manifold is made of stainless steel to reduce weight and improve rust resistance.

      2. Cooling holes are provided in the heat insulator to reduce the exhaust manifold surface temperature, improving durability.

        A004V70E02
        Text in Illustration
        *1 Exhaust Manifold Heat Insulator No. 1 *2 Exhaust Manifold To Head Gasket
        *3 Exhaust Manifold *4 Air Fuel Ratio Sensor
        *5 Heat Insulator *6 Cooling Hole
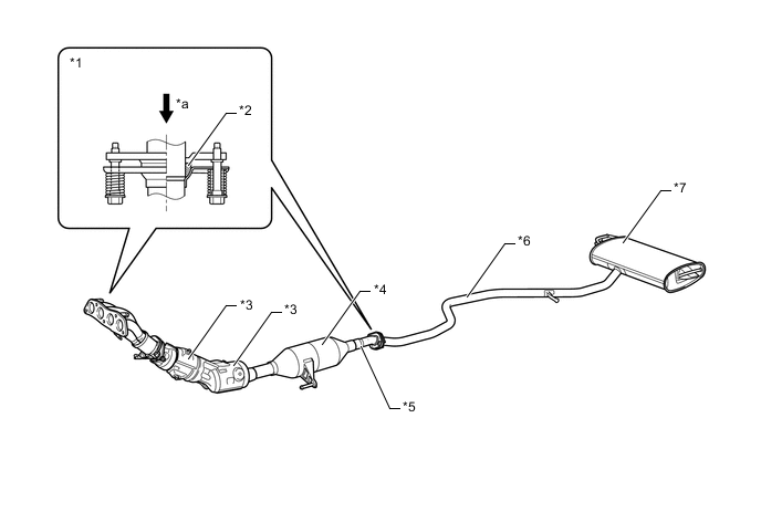
    2. Exhaust Pipe


      1. The exhaust pipe is made of stainless steel in order to reduce weight, improve rust resistance, and enhance TWC warm-up capability.

      2. Ball joints are used to join the exhaust manifold to the front exhaust pipe assembly, and the front exhaust pipe assembly to the exhaust tail pipe assembly. As a result, in-vehicle sound has been muffled, vibration has been minimized, and high reliability has been realized.

      3. 2 TWCs are provided at the front of the front exhaust pipe assembly.

      4. A 2-way exhaust control system is provided to reduce noise and vibration in the main muffler.

        A004UR1E02
        Text in Illustration
        *1 Ball Joint *2 Gasket
        *3 TWC *4 Sub Muffler
        *5 Front Exhaust Pipe Assembly *6 Exhaust Tail Pipe Assembly
        *7 Main Muffler - -
        *a Exhaust Gas - -
  2. OPERATION


    1. 2-Way Exhaust Control System


      1. A 2-way exhaust control system is used. This system reduces the backpressure by opening and closing a variable valve that is enclosed in the main muffler, thus varying the exhaust backpressure.

      2. The valve opens steplessly in accordance with the operating condition of the engine, thus enabling quieter operation at lower engine speeds, and reducing backpressure at higher engine speeds.

      3. The control valve is enclosed in the main muffler. When the exhaust gas pressure overcomes the spring pressure, the control valve opens steplessly in accordance with the exhaust gas pressure.

      4. When Control Valve is Closed (Low Engine Speed)


        • Since the pressure in the main muffler is low, the control valve is closed. Hence exhaust gas does not pass through the bypass passage, and exhaust noise is decreased in the main muffler.

      5. When Control Valve is Open (Middle to High Engine Speed)


        • The valve opens as the engine speed and the backpressure in the muffler increase. This allows a large volume of exhaust gas to pass through the bypass passage, thereby substantially decreasing the backpressure.

        A004V8GE02
        Text in Illustration
        *a Low Engine Speed *b Middle to High Engine Speed
        *c Exhaust Gas *d Control Valve Closed
        *e Control Valve Open - -