COOLING SYSTEM

A004M68E02
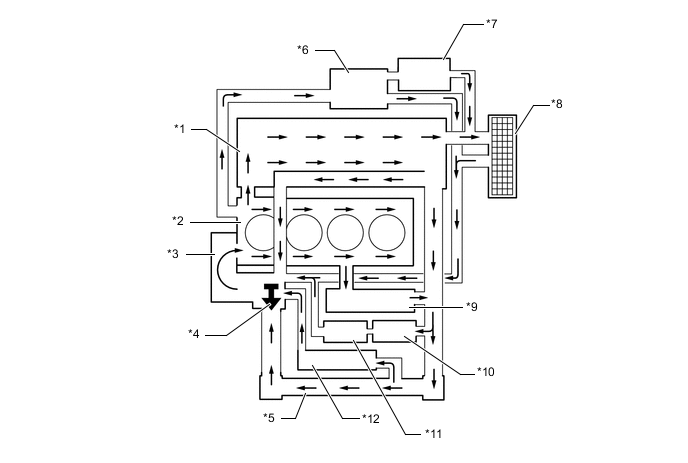
Text in Illustration (Models with Manual Transaxle)
*1 Cylinder Head Sub-assembly *2 Cylinder Block Sub-assembly
*3 Water Pump Assembly *4 Thermostat
*5 Radiator Assembly *6 EGR Cooler
*7 Turbocharger Sub-assembly *8 Heater Core
*9 Oil Cooler Assembly *10 Diesel Throttle Body
*11 EGR Valve *12 Reservoir Tank
A004LN0E02
Text in Illustration (Models with Automatic Transaxle)
*1 Cylinder Head Sub-assembly *2 Cylinder Block Sub-assembly
*3 Water Pump Assembly *4 Thermostat
*5 Radiator Assembly *6 EGR Cooler
*7 Heater Core *8 Oil Cooler Assembly
*9 Diesel Throttle Body *10 EGR Valve
*11 Reservoir Tank - -