EMISSION CONTROL SYSTEM


  1. FUNCTION OF MAIN COMPONENTS


    1. The main components of the 2AD-FHV engine emission control system are as follows:

      Component Outline Quantity Function
      ECM 32-bit CPU 1 The ECM effects overall control of the emission control system to suit the operating conditions of the engine in accordance with the signals provided by the sensors.
      EGR Valve DC Motor Type 1 Actuated by the ECM, this valve controls the flow rate of EGR gas.
      EGR Cooler Water-cooled Type 1 Cools EGR gas.
      Exhaust Fuel Addition Injector Solenoid Type 1 Injects fuel into the exhaust port.
      Differential Pressure Sensor Semiconductor Strain Gauge Type 1 Monitors the differential pressure before and after the DPNR catalyst to detect whether the DPNR catalyst is clogged.
      Exhaust Gas Temperature Sensor Thermistor Type 2 Located before and after the DPNR catalyst, these sensors detect the temperature of the DPNR catalyst.
      Air Fuel Ratio Sensor (Bank 1, Sensor 1) Heated Type (Planar Type) 1 Detects the oxygen concentration in exhaust gas.
  2. SYSTEM CONTROL


    1. The emission control system of the 2AD-FHV engine has the following systems:

      System Outline
      D-CAT System Based on the signals received from the sensors, the ECM controls the exhaust fuel addition injector to purify the NOx, HC, CO, and Particulate Matter (PM).
      Air Fuel Ratio Sensor Heater Control Maintains the temperature of the air fuel ratio sensor at an appropriate level to increase accuracy of detection of the oxygen concentration in exhaust gas.
      EGR Control Based on the signals received from the sensors, the ECM determines the EGR volume via EGR valve and EGR cooler bypass valve in accordance with the engine condition.
  3. FUNCTION


    1. D-CAT System


      1. The ECM judges the exhaust manifold converter condition based on signals from the mass air flow meter, engine coolant temperature sensor, 2 exhaust gas temperature sensors, differential pressure sensor, and air fuel ratio sensor to control the injectors and exhaust fuel addition injector for catalyst support control.

      2. The catalyst support control consists of the NOx reduction control, PM reduction control, and sulfur poison recovery control.

    2. EGR Control


      1. This system is designed to help reduce and control NOx formation due to a reduction of peak temperature in the engine combustion chamber, which is accomplished by the introduction of amount of inert gas into the intake manifold.

  4. CONSTRUCTION


    1. EGR Valve


      1. A DC motor type of EGR valve is used. The placement of the EGR valve in the intake passage facilitates the uniform distribution of EGR gas and intake air.

      2. An EGR valve position sensor is provided in the EGR valve. This sensor enables EGR valve control at a higher level of precision by detecting the opening angle of the EGR valve.

        A004LUSE03
        *1 EGR Valve
        *2 Exhaust Gas
    2. EGR Cooler


      1. In the EGR cooler, engine coolant flows around the 7-layered gas passage in order to cool down.

      2. An EGR cooler bypass with an EGR cooler bypass valve is used. If EGR gas is cooled down in the EGR cooler under a light engine load, the temperature of the compressed air in the cylinders decreases too much. To prevent this, the EGR gas passage is switched by the EGR cooler bypass valve.

      3. EGR gas cooling performance has been improved on models with manual transaxle through the use of 2 engine coolant exhaust pipes.

        A004M4BE04
        A004LOEE08
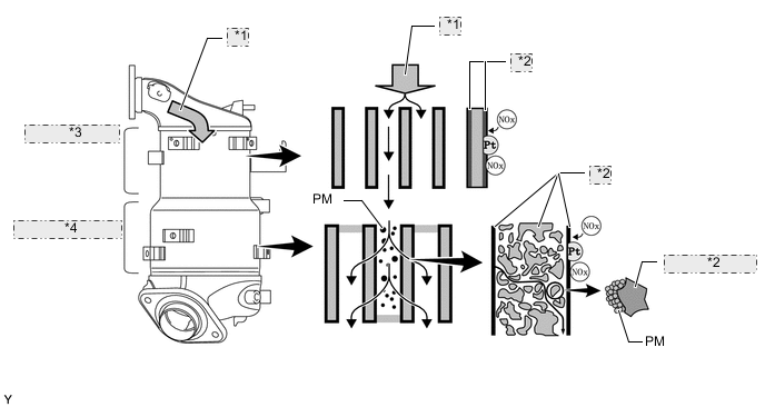
    3. Exhaust Manifold Converter


      1. The exhaust manifold converter consists of NOx Storage Reduction (NSR) and DPNR catalysts. Platinum (Pt) is included on the NOx storage layer of the converter.

      2. The NSR catalyst purifies the NOx, HC, and CO.

      3. The DPNR catalyst purifies the PM, NOx, HC, and CO.

        A004LYGE03
        *1 Exhaust Gas
        *2 NOx Storage Layer
        *3 NSR Catalytic Converter
        *4 DPNR Catalytic Converter
    4. Exhaust Fuel Addition Injector


      1. An exhaust fuel addition injector is installed on the No. 4 exhaust port of the cylinder head. This injector supplies additional fuel into the No. 4 exhaust port and maintains the proper catalyst temperature for the purpose of PM recovery.

      2. An exhaust fuel addition injector consists of a needle valve body, a needle valve, and a solenoid valve.

        A004LXVE02
        Text in Illustration
        *1 Solenoid Valve *2 Needle Valve
        *3 Needle Valve Body - -
    5. Differential Pressure Sensor


      1. The differential pressure sensor measures the pressure differences between before and after the DPNR catalyst with PM in order to detect clogging.

      2. The sensor is mounted on the cowl, where the effects of vibration are minimal. The DPNR catalyst and the sensor are connected with pipes and hoses.

        A004LUQE03
        *1 Differential Pressure Sensor
        *2 Output Voltage
        *3 Differential Pressure
        *4 (kPa)
    6. Exhaust Gas Temperature Sensor


      1. An exhaust gas temperature sensor, which is a thermistor type, is installed before and after the DPNR catalyst, in order to detect the temperature of the catalyst.

        A004LW7E05
        *1 Electric Resistance Value
        *2 Exhaust Gas Temperature
    7. Air Fuel Ratio Sensor


      1. The planar type air fuel ratio sensor is used.

      2. The planar type air fuel ratio sensor uses alumina, which excels in heat conductivity and insulation, to integrate the sensor element with the heater, thus improving the warm-up performance of the sensor.

      3. This sensor is based on a sensor developed for gasoline engines. The cover has been changed for diesel engine application in order to eliminate the influences of the sensor temperature and the PM. This sensor, which is mounted after the DPNR catalyst, detects the air fuel ratio after the gas has been reduced.

        A004MEZE04
      4. The air fuel ratio sensor data is approximately proportionate to the existing air fuel ratio. The air fuel ratio sensor converts the oxygen density to the current and sends it to the ECM.

      5. As a result, the detection precision of the air fuel ratio has been improved. The air fuel ratio sensor data can be read using an intelligent tester II.

        A004MI1E05
  5. OPERATION


    1. D-CAT System


      1. The ECM calculates the amount of NOx in the catalytic converter based on fuel injection volume, intake air mass, and exhaust gas temperature and operates the injectors and exhaust fuel addition injector for NOx reduction control.

      2. As a result of the operation of these injectors, the air fuel ratio in the exhaust gas becomes rich to purify the NOx.

      3. Fuel efficiency momentarily drops while this control is operative.

      4. If the DPNR catalyst temperature becomes low, catalytic converter performance decreases, resulting in an increase of the amount of PM stuck in the filter substrate. When the ECM detects clogs in the filter substrate based on engine operating condition and signals from the differential pressure sensor, it operates the injectors and exhaust fuel addition injector for PM reduction.


        • As a result of the operation of these injectors, the air fuel ratio in the exhaust gas becomes rich and active oxygen is generated by NOx reduction control.

        • At the same time, the filter substrate temperature increases, and PM reacts with active oxygen and changes into CO2for purification.

        • Fuel efficiency drops while this control is operative.

      5. The ECM calculates the sulfur volume in the catalytic converter based on the accumulated data of the fuel injection volume and operates the injectors and exhaust fuel addition injector for sulfur position recovery control.

      6. As a result of the operation of these injectors, the air fuel ratio in the exhaust gas becomes rich for sulfur purification.


        • Fuel efficiency drops while this control is operative.

          A004MHDE03
          Text in Illustration
          *1 Injector *2 Exhaust Fuel Addition Injector
          *3 Mass Air Flow Meter *4 Injector Driver
          *5 Exhaust Gas Temperature Sensor (Upper Side) *6 No. 2 Exhaust Gas Temperature Sensor (Lower Side)
          *7 Differential Pressure Sensor *8 Air Fuel Ratio Sensor
          *9 Engine Coolant Temperature Sensor *10 ECM

          Tech Tips


          • When replacing the exhaust manifold converter with a new one, it is necessary to perform initialization of the DPNR catalyst deteriorate data history in the ECM by using an intelligent tester II.

          • When replacing the ECM with a new one, it is necessary to read DPNR catalyst deteriorate data history from the installed ECM and then transfer that data history to the new ECM by using an intelligent tester II. When the DPNR catalyst deteriorate data history is not transferred, Diagnostic Trouble Code (DTC) P1601 is stored in the ECM, and the MIL comes on.

          • When replacing both the exhaust manifold converter and the ECM, it is necessary to perform initialization of the DPNR catalyst deteriorate data history in the ECM using an intelligent tester II. When DPNR catalyst deteriorate history initialization is not performed, DTC P1601 is stored in the ECM and the MIL comes on.

    2. EGR Control


      1. The ECM actuates the EGR valve, which regulates volume of EGR gas recirculation, in accordance with the engine conditions.

      2. The ECM controls VSV for EGR cooler, which switches the bypass passage and cooler passage in the EGR cooler, in order to optimize the temperature of EGR gas.

        A004M2EE05