| *A | Models with Intelligent AFS | *B | Models with Automatic Headlight Beam Level Control System without Intelligent AFS System or Manual Headlight Beam Level Control System |
| *C | Models with LED Headlight | *D | Models with Camera Heater |
| *1 | Pre-crash Safety City Sensor | *2 | ECM |
| *3 | Headlight Swivel Motor RH | *4 | Headlight Leveling Motor |
| *5 | LED Driver Module (Light Control ECU) | *6 | Headlight Swivel Motor LH |
| *7 | Skid Control ECU | *8 | Rain Sensor |
| *9 | Camera Heater (Pre-crash Safety City Heater) | - | - |
| *A | Models with Automatic Transaxle or CVT | *B | Models with Manual Transaxle |
| *1 | Front Speed Sensor RH | *2 | Park/Neutral Position Switch Assembly |
| *3 | Front Speed Sensor LH | *4 | Rear Height Control Sensor Sub-assembly |
| *5 | Rear Speed Sensor LH | *6 | Electric Parking Brake Assembly |
| *7 | Rear Speed Sensor RH | *8 | Back-up Light Switch Assembly |
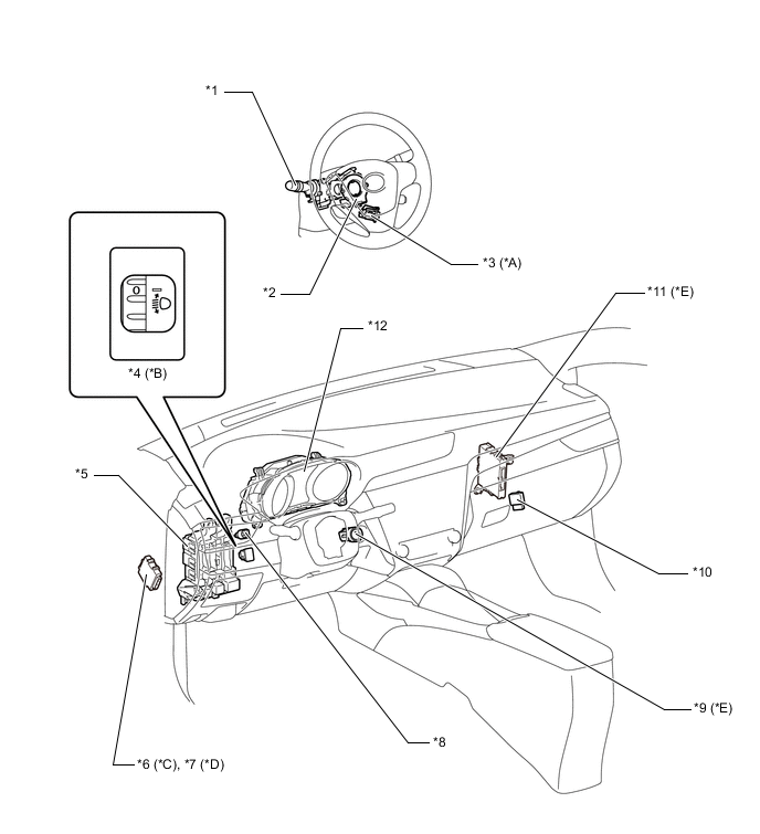
| *A | Models without Entry and Start System | *B | Models with Manual Headlight Beam Level Control System |
| *C | Models with Intelligent AFS | *D | Models with Automatic Headlight Beam Level Control System without Intelligent AFS System |
| *E | Models with Entry and Start System | - | - |
| *1 | Headlight Dimmer Switch Assembly | *2 | Steering Sensor |
| *3 | Ignition Switch | *4 | Headlight Leveling Switch |
| *5 | Main Body ECU (Instrument Panel Junction Block Assembly) | *6 | Headlight Swivel ECU Assembly |
| *7 | Headlight Leveling ECU Assembly | *8 | Stop Light Switch Assembly |
| *9 | Engine Switch (Push Start Switch) | *10 | Windshield Wiper Relay |
| *11 | Power Management Control ECU | *12 | Combination Meter Assembly |