AUDIO AND VISUAL SYSTEM

A0051OYE02
Text in Illustration
*A Models with Display Audio System or Navigation System *B Models with Base Audio System
*C Models with Extension Box (Navigation ECU) *D Models with Bluetooth Hands-free System
*E Models with Optitron Type Combination Meter Assembly with TFT Color Multi-information Display *F Models with 10-speaker System
*1 Extension Box (Navigation ECU) *2 Radio and Display Receiver Assembly
*3 Radio Receiver Assembly *4

Map Light Assembly

- Telephone Microphone Assembly

*5 Combination Meter Assembly *6 Steering Pad Switch Assembly
*7 No. 1 Stereo Jack Adapter Assembly *8 Stereo Component Amplifier Assembly
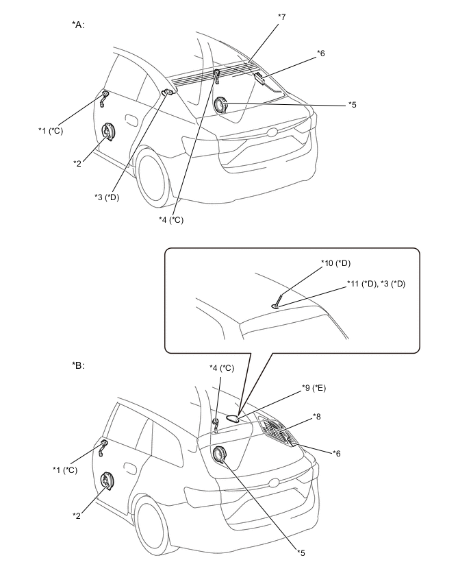
A00529BE02
Text in Illustration
*A Sedan Models *B Wagon Models
*C Models with 10-speaker System *D Models with Digital Audio Broadcast (DAB)
*E Models without Digital Audio Broadcast (DAB) - -
*1 Rear No. 2 Speaker Assembly LH *2 Rear No. 1 Speaker Assembly LH
*3 Digital Audio Broadcasting Antenna Assembly *4 Rear No. 2 Speaker Assembly RH
*5 Rear No. 1 Speaker Assembly RH *6 No. 1 Amplifier Antenna Assembly
*7 Back Window Glass (Window Glass Antenna Wire) *8 Quarter Window Assembly RH (Window Glass Antenna Wire)
*9 Amplifier Antenna Assembly *10 Roof Antenna Pole Sub-assembly
*11 No. 2 Amplifier Antenna Assembly - -
A0051WYE02
Text in Illustration (Models with 10-speaker System:)
*1 Front No. 1 Speaker Assembly RH *2 Front No. 2 Speaker Assembly RH
*3 Front No. 2 Speaker Assembly LH *4 Front No. 1 Speaker Assembly LH
A00526GE02
Text in Illustration (Models with 6-speaker System:)
*1 Front No. 1 Speaker Assembly RH *2 Front No. 2 Speaker Assembly RH
*3 Front No. 2 Speaker Assembly LH *4 Front No. 1 Speaker Assembly LH