LIN COMMUNICATION SYSTEM

A0051P8E02
Text in Illustration
*A Models with Raindrop Sensing Function *B Models with Intelligent AFS
*C Models with Rear Power Window Control System *D Models with Roof Sunshade System
*1 Rain Sensor *2 Front Power Window ECU RH
*3 Generator Assembly *4 Headlight Swivel Motor RH
*5 Headlight Swivel Motor LH *6 ECM
*7 Power Window Regulator Master Switch Assembly *8 Front Power Window ECU LH
*9 Rear Power Window ECU LH *10 Sliding Roof Control ECU
*11 Rear Power Window ECU RH - -
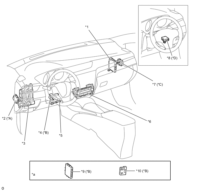
A0051ZOE03
Text in Illustration
*A Models with Intelligent AFS *B Models with Entry and Start System
*C Models with Raindrop Sensing Function *D Models with Double Locking System
*1 Power Management Control ECU *2 Headlight Swivel ECU Assembly
*3 Main Body ECU (Instrument Panel Junction Block Assembly) *4 Steering Lock ECU
*5 Air Conditioning Amplifier Assembly *6 Air Conditioning Control Assembly
*7 Windshield Wiper Relay Assembly *8 Double Lock Door Control Relay Assembly
*9 Certification ECU *10 ID Code Box
*a Refer to the Service Bulletin for the installation position of the parts. - -