LIN COMMUNICATION SYSTEM

A00521OE02
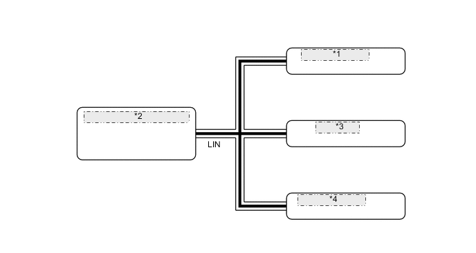
w/ Steering Lock System and Entry and Start System
*1 CERTIFICATION ECU
*2 POWER MANAGEMENT CONTROL ECU
*3 ID CODE BOX
*4 STEERING LOCK ECU
A0051ZME09
A0051Q5E14
w/ Air Conditioning System
*1 AIR CONDITIONING AMPLIFIER ASSEMBLY
*2 AIR CONDITIONING CONTROL ASSEMBLY
A0051K5E07
w/ Roof Sunshade System
*1 MAIN BODY ECU (INSTRUMENT PANEL JUNCTION BLOCK ASSEMBLY)
*2 SLIDING ROOF CONTROL ECU
A0051Q5E15
w/ Charging System
*1 GENERATOR ASSEMBLY
A0051VTE03
A0051XVE08
A0051Q5E16