TIRE PRESSURE WARNING SYSTEM


  1. FUNCTION OF MAIN COMPONENTS

    Component Function
    Tire Pressure Warning Valve and Transmitter Detects the tire pressure, internal temperature and rotational acceleration of the tire, and transmits the measured values and the ID code to the tire pressure warning ECU and receiver.
    Tire Pressure Warning ECU and Receiver
    • Receives the data from the tire pressure warning valve and transmitter and monitors the tire inflation pressure.

    • Outputs the respective signal to the combination meter assembly when a drop in the tire inflation pressure, a system malfunction or the beginning of initialization is detected.

    Tire Pressure Warning Reset Switch The warning threshold is calculated from the tire inflation pressure value at the time of initialization and memorized in the tire pressure warning ECU and receiver by operating the tire pressure warning reset switch.
    Combination Meter Assembly Tire Pressure Warning Light
    • Illuminates or stays on after blinking for 1 minute to warn the driver in accordance with the signal from the tire pressure warning system.

    • Flashes 3 times after initialization.

    • Displays the 2-digit Diagnostic Trouble Code (DTC).

    Speedometer Sends a vehicle speed signal to the tire pressure warning ECU and receiver.
  2. FUNCTION


    1. Warning Function


      1. The tire pressure warning ECU and receiver has 2 warning methods, depending on the condition detected.

      2. The table below shows the warning methods for the tire pressure warning light in the combination meter assembly:

        Detection Condition Tire Pressure Warning Light
        The tire pressure warning system has detected that the tire pressure has become lower than the warning threshold. Illuminates*1
        The tire pressure warning system has detected a malfunction in the system. Illuminates after blinking for 1 minute*2

        Tech Tips

        *1: If the tire pressure warning light illuminates, the tire pressure must be adjusted.

        *2: If the tire pressure warning light stays on after blinking for 1 minute, the system is malfunctioning and must be repaired in order to turn off the light. For details, refer to the Repair Manual.

    2. Initial Check Function


      1. After the ignition switch is turned to ON, the tire pressure warning ECU and receiver illuminates the tire pressure warning light for 3 seconds to check the warning light circuits.

    3. Initialization Function


      1. The warning threshold is calculated from the tire inflation pressure value and memorized in the tire pressure warning ECU and receiver. Therefore, the tire pressure warning ECU and receiver should be initialized after:


        • The recommended tire inflation pressure changes due to changes in the vehicle weight, speed conditions or tire size.

        • The tire pressure warning ECU and receiver or the tire pressure warning valve and transmitter are replaced.

        • The tires are rotated on a vehicle with different recommended tire inflation pressures for the front and rear tires.

        • The tire pressure is adjusted.

      2. Initialization starts after the tire pressure warning reset switch is pressed and held (with the ignition switch ON and the vehicle stopped) and the tire pressure warning light illuminates slowly 3 times.

      3. Before performing initialization, adjust the tire inflation pressure to the recommended pressure when the tires are cold. For details, refer to the Repair Manual.

      4. The tire pressure warning reset switch is not used to cancel the warning. Do not press the tire pressure warning reset switch to turn off the tire pressure warning light.

  3. CONSTRUCTION


    1. Tire Pressure Warning Valve and Transmitter


      1. The tire pressure warning valve and transmitters are integrated in the tire valves. Each transmitter consists of a lithium battery, sensor and transmitter.

      2. The transmitter directly measures tire inflation pressure and temperature to check whether the vehicle can continue to run.

      3. The transmitter transmits the measured tire inflation pressure and temperature values to the tire pressure warning ECU and receiver at a frequency of 433.90 MHz.

      4. Depending on the timing of the data transmission, it may take several minutes to receive the data from the tire pressure warning valve and transmitter.

      5. The ID code is written on the tire pressure warning valve and transmitter.

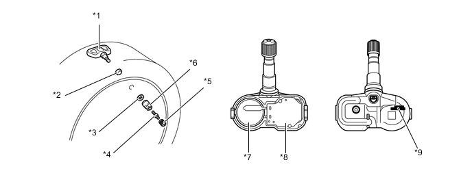
        A00527GE02
        Text in Illustration
        *1 Tire Pressure Warning Valve and Transmitter *2 Grommet
        *3 Washer *4 Tire Valve Core
        *5 Tire Valve Cap *6 Nut
        *7 Lithium Battery *8 Sensor and Transmitter
        *9 ID Code (Hexadecimal 7 Digits) - -

        Tech Tips


        • The lithium batteries of the tire pressure warning valve and transmitters are non-replaceable. If the lithium battery is depleted, the tire pressure warning valve and transmitter must be replaced (battery life: approximately 10 years).

        • A new tire pressure warning valve and transmitter may be set in sleep mode in order to save the battery power. When the tire inflation pressure in the detection portion of the tire pressure warning valve and transmitter decreases by 40 kPa (5.8 psi, 0.4 bar) within 30 seconds, the tire pressure warning valve and transmitter automatically cancels sleep mode. Once sleep mode is canceled, the tire pressure warning valve and transmitter cannot return to sleep mode.

        • When replacing a tire pressure warning valve and transmitter, the ID codes of each tire pressure warning valve and transmitter must be registered. If even one of the tire pressure warning valve and transmitters is replaced, the ID codes of all tire pressure warning valve and transmitters must be registered again. Record all existing ID codes before beginning the process to enter new ID codes.

        • To register an ID code, use a Global TechStream (GTS) to enter the ID code that is indicated on the tire pressure warning valve and transmitter.

        • Be careful not to damage the tire pressure warning valve and transmitters when removing and reinstalling them.

        • Replace the grommet, valve core, washer and nut with new ones when replacing or removing and reinstalling the tire pressure warning valve and transmitter. This is necessary to ensure sealing performance.

        • When replacing a valve cap, use only the specified cap. If an unspecified cap is used, it may seize to the tire pressure warning valve and transmitter.

        • For details, refer to the Repair Manual.

  4. DIAGNOSIS


    1. To inform the driver when the tire pressure warning ECU and receiver detects a malfunction in the system, the tire pressure warning ECU and receiver will blink the tire pressure warning light for 1 minute, after which the light will stay on. The tire pressure warning ECU and receiver also stores the Diagnostic Trouble Codes (DTCs) in memory.

    2. 5-digit DTCs can be read by connecting a Global TechStream (GTS) to the DLC3. For details, refer to the Repair Manual.