ПРЕДАВАРИЙНАЯ СИСТЕМА БЕЗОПАСНОСТИ ДЕТАЛЬНОЕ ОПИСАНИЕ


  1. НАЗНАЧЕНИЕ ОСНОВНЫХ УСТРОЙСТВ


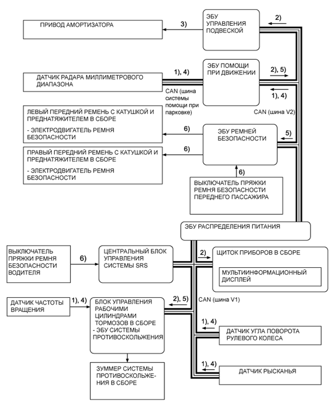
    1. Предаварийная система безопасности включает следующие узлы.

      Устройство Функция
      Датчик радара миллиметрового диапазона Излучает вперед радиоволны радара миллиметрового диапазона и определяет по отраженным сигналам наличие впереди автомобиля, расстояние между автомобилями и относительную скорость, после чего передает эти данные в ЭБУ помощи при движении.
      Датчик частоты вращения Регистрирует сигнал частоты вращения колеса и передает сигнал в ЭБУ системы противоскольжения.

      Блок управления рабочими цилиндрами тормозов в сборе

      - ЭБУ системы противоскольжения


      • Получает сигнал запроса режима ожидания усилителя экстренного торможения от ЭБУ контроля движения и переключает усилитель экстренного торможения в режим ожидания. Приводит в действие усилитель экстренного торможения, когда водитель нажимает педаль тормоза.

      • Даже если водитель не включает тормоза, когда ЭБУ системы противоскольжения получает сигнал запроса предаварийного включения тормозов от ЭБУ помощи при движении, он приводит в действие тормоза.*1

      • Определяет резкое включение тормозов по сигналам, поступающим от датчика давления в главном цилиндре, и передает сигнал приведения в действие ремней безопасности в ЭБУ ремней безопасности.

      • Определяет тенденцию к заносу передних или задних колес и передает сигнал приведения в действие ремней безопасности в ЭБУ ремней безопасности.

      • Передает сигнал скорости автомобиля в ЭБУ контроля движения.

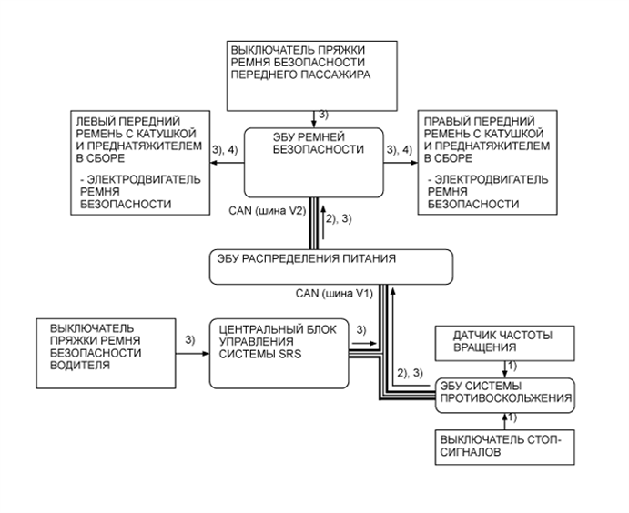
      Передний ремень с катушкой и преднатяжителем в сборе

      - Электродвигатель ремня безопасности

      Втягивает ремень безопасности в соответствии с сигналами, полученными от ЭБУ ремней безопасности.
      Щиток приборов в сборе Контрольная лампа PCS Светится или мигает для предупреждения водителя в соответствии с сигналами от ЭБУ ремней безопасности и ЭБУ помощи при движении.
      Мультиинформационный дисплей Выводит предупреждающее сообщение, уведомляющее водителя о состоянии системы, в соответствии с сигналами от ЭБУ ремней безопасности и ЭБУ помощи при движении.
      Главная контрольная лампа аварийного состояния Светится для предупреждения водителя в соответствии с сигналами от ЭБУ ремней безопасности и ЭБУ помощи при движении.
      Многофункциональный зуммер Подает звуковой сигнал в соответствии с сигналами от ЭБУ ремней безопасности и ЭБУ помощи при движении, предупреждая водителя о неисправности системы.
      Датчик угла поворота рулевого колеса Определяет угол и направление поворота рулевого колеса и передает сигнал в ЭБУ системы противоскольжения и ЭБУ помощи при движении.
      Датчик рыскания Определяет скорость рысканья и замедление автомобиля в боковом/продольном направлении и передает сигналы в ЭБУ системы противоскольжения и ЭБУ контроля движения.
      ЭБУ ремней безопасности Получает сигнал запроса приведения в действие ремней безопасности от ЭБУ помощи при движении или ЭБУ системы противоскольжения и приводит в действие ремни безопасности.
      ЭБУ помощи при движении На основании информации от датчика радара миллиметрового диапазона принимает решение о том, высока ли вероятность столкновения, и является ли столкновение неизбежным. Затем, если требуется, передает сигнал приведения в действие ремней безопасности и сигнал запроса режима ожидания усилителя экстренного торможения.
      ЭБУ управления подвеской*2 Передает сигналы управления в привод амортизатора на основании сигналов от ЭБУ помощи при движении.
      Выключатель тормозов предаварийной системы*1 При нажатии прекращает работу тормозов предаварийной системы. Чтобы уведомить о том, что предаварийная тормозная система выключена, загорается контрольная лампа PCS.

      Tech Tips

      *1: для моделей с системой предаварийного включения тормозов

      *2: для моделей с системой AVS

      В случае замены ЭБУ ремней безопасности необходимо выполнить активную диагностику электродвигателя ремня безопасности в соответствии со следующей процедурой.


      1. Зажигание включено.

      2. После включения зажигания (IG) не менее 3 с следите за контрольной лампой PCS. Убедитесь, что контрольная лампа погасла.

      3. Подсоедините портативный диагностический прибор II к разъему DLC3 и перейдите в режим активной диагностики.

      4. Выполните активную диагностику электродвигателя переднего ремня безопасности и удостоверьтесь, что он работает должным образом. Более подробную информацию см. в руководстве по ремонту.

  2. УСЛОВИЯ РАБОТЫ


    1. Предаварийная система безопасности работает при выполнении следующих условий.

      Управление Режим

      Ремень безопасности предаварийной системы безопасности

      (управление экстренным торможением / управление при заносе передних или задних колес)


      • Ремень безопасности переднего сиденья пристегнут.

      • Скорость автомобиля – 30 км/час (19 миль в час) или выше.

      • Резко включаются тормоза, либо регистрируется занос передних или задних колес.

      Ремень безопасности предаварийной системы безопасности

      (управление предаварийной системой безопасности)


      • Ремень безопасности переднего сиденья пристегнут.

      • Скорость автомобиля – 5 км/час (4 мили в час) или выше.

      • Относительная скорость встречного автомобиля или препятствия не менее приблизительно 30 км/час (19 миль в час).

      Усилитель экстренного торможения предаварийной системы безопасности
      • Скорость автомобиля – 30 км/час (19 миль в час) или выше.

      • Относительная скорость встречного автомобиля или препятствия не менее приблизительно 30 км/час (19 миль в час).

      • Педаль тормоза нажата.

      Предаварийное включение тормозов*1
      • Выключатель предаварийного включения тормозов не нажат.

      • Скорость автомобиля – 15 км/час (10 миль в час) или выше.

      • Относительная скорость встречного автомобиля или препятствия не менее приблизительно 15 км/час (10 миль в час).

      AVS*2
      • Скорость автомобиля – 5 км/час (4 мили в час) или выше.

      • Относительная скорость встречного автомобиля или препятствия не менее приблизительно 30 км/час (19 миль в час).


      • *1: для моделей с системой предаварийного включения тормозов

      • *2: для моделей с системой AVS

  3. УПРАВЛЕНИЕ В СИСТЕМЕ


    1. Управление при заносе передних или задних колес


      1. Управление при заносе передних или задних колес производится следующим образом:

        A01DKVSE02
        1) Когда автомобиль движется со скоростью приблизительно 30 км/час (19 миль в час) или более, ЭБУ системы противоскольжения определяет занос передних или задних колес по сигналам, поступающим от датчика угла поворота рулевого колеса, датчика рысканья и датчиков частоты вращения.
        2) ЭБУ системы противоскольжения передает сигнал запроса приведения в действие ремней безопасности в ЭБУ ремней безопасности.
        3) По этому сигналу и сигналам выключателей пряжек ремней безопасности ЭБУ ремней безопасности определяет режимы работы электродвигателей передних ремней безопасности. Затем он втягивает ремни безопасности с помощью электродвигателей ремней безопасности.
        4) Ремни безопасности возвращаются в нормальное состояние, когда нормализуются соответствующие условия движения автомобиля.
    2. Управление экстренным торможением


      1. Управление экстренным торможением производится следующим образом:

        A01DL3AE02
        1) Когда автомобиль движется со скоростью приблизительно 30 км/час (19 миль в час) или более, ЭБУ системы противоскольжения может зарегистрировать условия резкого торможения по сигналам от датчика давления в главном цилиндре, датчиков давления в рабочих тормозных цилиндрах, выключателя стоп-сигналов и датчиков частоты вращения.
        2) При этом ЭБУ системы противоскольжения передает сигнал запроса приведения в действие ремней безопасности в ЭБУ ремней безопасности.
        3) По этому сигналу и сигналам выключателей пряжек ремней безопасности ЭБУ ремней безопасности определяет режимы работы электродвигателей передних ремней безопасности. Затем он втягивает ремни безопасности с помощью электродвигателей ремней безопасности.
        4) Ремни безопасности возвращаются в нормальное состояние, когда педаль тормоза отпускается.
    3. Управление предаварийной системой безопасности (для моделей с функцией предаварийного включения тормозов)


      1. Управление предаварийной системой безопасности производится следующим образом:

        A01DKWME01
        1) На основании сигналов, поступающих от датчика радара миллиметрового диапазона, датчика угла поворота рулевого колеса, датчиков частоты вращения и датчика рысканья, ЭБУ помощи при движении определяет, что вероятность столкновения высока.
        2)

        В это время ЭБУ помощи при движении передает следующие сигналы:


        • Сигнал запроса отображения предостережения в мультиинформационный дисплей.

        • Сигнал запроса включения предостерегающего зуммера в ЭБУ системы противоскольжения.

        • Сигнал запроса управления AVS в ЭБУ управления подвеской.*

        3) Получив данный сигнал, ЭБУ системы противоскольжения переключает усилитель экстренного торможения в режим ожидания, а ЭБУ управления подвеской оптимизирует демпфирование приводов амортизаторов*.
        4) На основании сигналов, поступающих от датчика радара миллиметрового диапазона, датчиков частоты вращения, датчика угла поворота рулевого колеса и датчика рысканья, ЭБУ помощи при движении определяет, что столкновение неизбежно.
        5) В это время ЭБУ помощи при движении передает сигнал запроса приведения в действие ремней безопасности в ЭБУ ремней безопасности и сигнал запроса торможения в ЭБУ системы противоскольжения.
        6) По этому сигналу и сигналам выключателей пряжек передних ремней безопасности ЭБУ ремней безопасности определяет режимы работы электродвигателей передних ремней безопасности и втягивает ремни безопасности с помощью электродвигателей.
        7) Если столкновения удается избежать, ремни безопасности и усилитель экстренного торможения возвращаются в нормальное состояние.

        • *: для моделей с системой AVS

    4. Управление предаварийной системой безопасности (для моделей без функции предаварийного включения тормозов)


      1. Управление предаварийной системой безопасности производится следующим образом:

        A01DKQBE01
        1) На основании сигналов, поступающих от датчика радара миллиметрового диапазона, датчика угла поворота рулевого колеса, датчиков частоты вращения и датчика рысканья, ЭБУ помощи при движении определяет, что вероятность столкновения высока.
        2)

        В это время ЭБУ помощи при движении передает следующие сигналы:


        • Сигнал запроса управления AVS в ЭБУ управления подвеской.*

        3) Получив данный сигнал, ЭБУ системы противоскольжения переключает усилитель экстренного торможения в режим ожидания, а ЭБУ управления подвеской оптимизирует демпфирование приводов амортизаторов*.
        4) На основании сигналов, поступающих от датчика радара миллиметрового диапазона, датчиков частоты вращения, датчика угла поворота рулевого колеса и датчика рысканья, ЭБУ помощи при движении определяет, что столкновение неизбежно.
        5) При этом ЭБУ помощи при движении передает сигнал запроса приведения в действие ремней безопасности в ЭБУ ремней безопасности.
        6) По этому сигналу и сигналам выключателей пряжек передних ремней безопасности ЭБУ ремней безопасности определяет режимы работы электродвигателей передних ремней безопасности и втягивает ремни безопасности с помощью электродвигателей.
        7) Если столкновения удается избежать, ремни безопасности и усилитель экстренного торможения возвращаются в нормальное состояние.

        • *: для моделей с системой AVS

  4. КОНСТРУКЦИЯ


    1. Датчик радара миллиметрового диапазона


      1. Датчик радара миллиметрового диапазона содержит схему радара миллиметрового диапазона, схему обработки сигналов и главный процессор.

      2. Датчик радара миллиметрового диапазона рассмотрен в разделе Динамическая радарная система круиз-контроля.

    2. Щиток приборов в сборе


      1. Щиток приборов обеспечивает индикацию состояния и вывод предупреждений предаварийной системы безопасности посредством главной контрольной лампы аварийного состояния, контрольной лампы PCS, зуммера и мультиинформационного дисплея.

      2. Когда ЭБУ помощи при движении определяет, что вероятность столкновения высока, он передает сигнал в щиток приборов. При получении этого сигнала щиток приборов выводит предупреждение на мультиинформационный дисплей. Это предупреждение отображается только на моделях с функцией предаварийного включения тормозов. Подробное описание приводится ниже.

        Мультиинформационный дисплей Описание Контрольная лампа PCS Зуммер системы противоскольжения в сборе
        A01DLF4 Отображается сообщение
        • ЭБУ контроля движения определил, что вероятность столкновения высока.

        • ЭБУ контроля движения определил, что вероятность столкновения еще выше, чем в предыдущем случае.

        Мигает Подает прерывистый звуковой сигнал
      3. Как описано ниже, для предаварийной системы безопасности используются 2 типа предупреждающих сообщений. Когда следующие сообщения отображаются на щитке приборов, предаварийная система безопасности не работает.

        Мультиинформационный дисплей Описание Главная контрольная лампа аварийного состояния Контрольная лампа PCS Многофункциональный зуммер Диагностический код неисправности (DTC)
        A01DLHG Данное сообщение отображается, когда ЭБУ ремней безопасности и ЭБУ помощи при движении обнаруживают неисправность системы. Горит Мигает Подает один звуковой сигнал
        A01DL9Y

        Данное сообщение отображается, когда ЭБУ ремней регистрирует выполнение следующих условий:


        • Датчик радара миллиметрового диапазона загрязнен

        • Плохие погодные условия

        • Перегрев ЭБУ помощи при движении

        После устранения этих условий система возвращается в нормальный режим работы.

        - Горит - -
  5. ДИАГНОСТИКА


    1. Первоначальная проверка


      1. В течение примерно 3 с после включения зажигания ЭБУ ремней безопасности выполняет первоначальную проверку системы.

    2. Вывод DTC


      1. Если ЭБУ ремней безопасности обнаруживает неисправность предаварийной системы безопасности, он сохраняет 5-значные коды DTC.

      2. 5-значные коды DTC можно считать, подключив портативный диагностический прибор II к DLC3.