ПРЕДАВАРИЙНАЯ СИСТЕМА БЕЗОПАСНОСТИ РАСПОЛОЖЕНИЕ ДЕТАЛЕЙ

A01DL6PE01
Обозначения на рисунке
*1 ЭБУ распределения питания *2 Датчик радара миллиметрового диапазона
*3 Правый передний датчик частоты вращения *4 Левый передний датчик частоты вращения
*5 Центральный блок управления системы SRS *6 ЭБУ системы противоскольжения
*7 Выключатель пряжки ремня безопасности водителя *8 Левый передний ремень с катушкой и преднатяжителем в сборе
*9 Левый задний датчик частоты вращения *10 Правый задний датчик частоты вращения
*11 Выключатель пряжки ремня безопасности переднего пассажира *12 Правый передний ремень с катушкой и преднатяжителем в сборе
*13 Блок управления рабочими цилиндрами тормозов в сборе - -
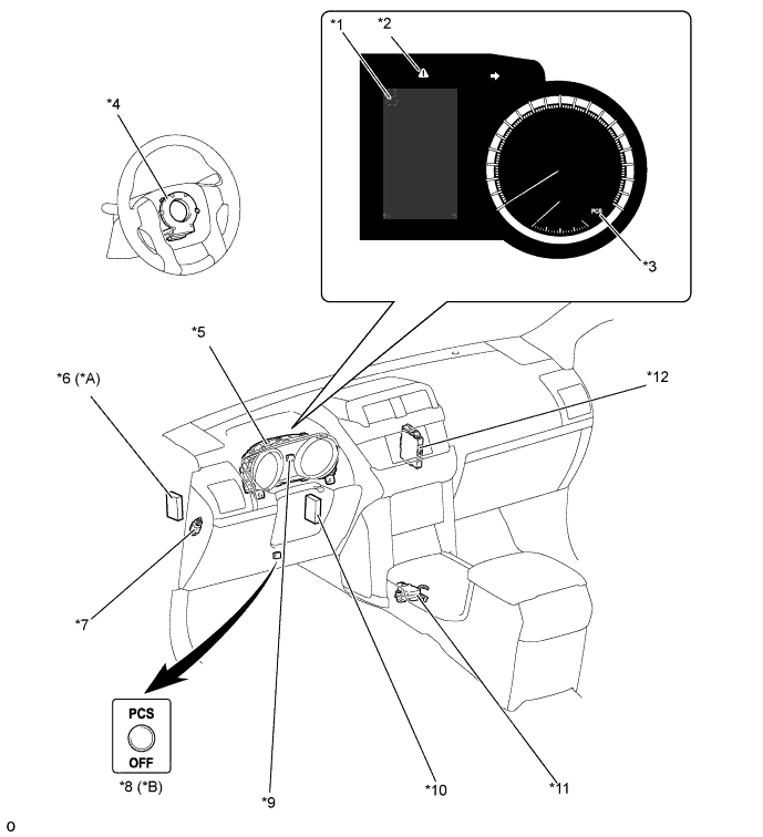
A01DLG8E01
Обозначения на рисунке
*A Для моделей с системой AVS *B Для моделей с функцией предаварийного включения тормозов
*1 Мультиинформационный дисплей *2 Главная контрольная лампа аварийного состояния
*3 Контрольная лампа PCS *4 Датчик угла поворота рулевого колеса
*5 Щиток приборов в сборе *6 ЭБУ управления подвеской
*7 Выключатель стоп-сигналов в сборе *8 Выключатель тормозов предаварийной системы
*9 Зуммер системы противоскольжения в сборе *10 ЭБУ ремней безопасности
*11 Датчик рысканья *12 ЭБУ помощи при движении