СИСТЕМА СТОЯНОЧНОГО ТОРМОЗА ОБЩИЕ СВЕДЕНИЯ


  1. ОПИСАНИЕ


    1. Используется двухколодочный барабанный стояночный тормоз в задних тормозных дисках.

    2. Применяется рычаг стояночного тормоза смещенного типа.

  2. ТЕХНИЧЕСКИЕ ХАРАКТЕРИСТИКИ

    Тип Двухколодочный барабан с самозатормаживанием
    Тип управления Рычаг
    Внутренний диаметр барабана 210,0 мм (8,3 дюйма)
  3. ОСНОВНЫЕ ОСОБЕННОСТИ


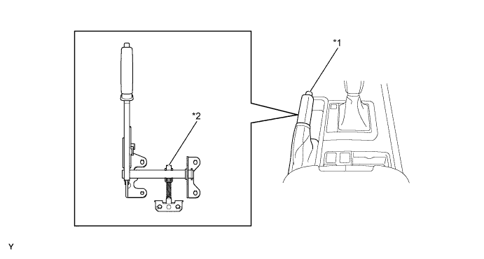
    1. Благодаря применению смещаемого рычага стояночного тормоза удалось освободить пространство для вещевого ящика в облицовке туннеля пола. Для упрощения обслуживания сдвоенные гайки для регулировки троса привода стояночного тормоза упразднены и заменены регулировочной гайкой.

      A01DL8CE01
      Обозначения на рисунке
      *1 Рычаг стояночного тормоза в сборе *2 Регулировочная гайка