METER / GAUGE SYSTEM DETAILS


  1. OPERATING CONDITION


    1. Eco Driving Indicator Light Operation


      1. Eco Driving Indicator Light can operate when all of the following conditions are met:


        • The ignition switch is ON and the engine is running.

        • The vehicle is being driven with the shift lever in D.

        • Temporary S mode is not selected.

        • The vehicle is at a speed of 130 km/h (81 mph) or below.

  2. FUNCTION


    1. Combination Meter Assembly


      1. Buzzer Function


        1. The table below shows the warning and reminder functions of the buzzer in the combination meter assembly.

        1 Driver Side Seat Belt Warning (5 Times at the Maximum) 2 Driver Side Seat Belt Warning (Once)
        3 Passenger Side Seat Belt Warning (Once) 4 Seat Belt Warning (Level 2)
        5 Seat Belt Warning (Level 1) 6 EPS Warning
        7 Smart Key System Warning 1 (Continuous)*1 8 Smart Key System Warning 2 (Intermittent)*1
        9 Key Reminder Indicating Buzzer 10 Smart Key System Warning 2 (Continuous, 9 times at the maximum)*1
        11 Multi-information Display Warning*2 12 Smart Key System Warning (Once)*1
        13 Immobiliser Certification Reminder 14 Parking Brake Engaged Warning
        15 Door Open while Driving Warning 16 S Mode Operation Reject Warning
        17 Headlight Reminder 18 Sliding Roof Open Warning*3
        19 Turn Signal/Hazard Warning Operation - -

        • *1: Models with smart key system

        • *2: Destination package for South Korea

        • *3: Models with sliding roof system

      2. Maintenance Require Reminder Function


        • A maintenance required reminder will appear to remind the driver to have maintenance performed based on the vehicle driving distance.

        • The combination meter assembly calculates the vehicle driving distance based on the signals from the skid control ECU.

        • There are 2 types of warnings:


          • When the driving distance accumulated since last reset exceeds 4500 miles, the maintenance require reminder light will flash for 16 seconds. The indicator will flash each time the ignition switch is turned to ON if the condition is still met.

          • If the driving distance accumulated since last reset exceeds 5000 miles, the maintenance require reminder light illuminates. It remains illuminated while the condition is met with the ignition switch ON.

        • After maintenance has been performed, the accumulated vehicle driving distance memorized in the combination meter assembly should be reset to zero using the ODO/TRIP switch.

        Tech Tips

        The accumulated vehicle driving distance memorized in the combination meter assembly can be reset using the following procedure.


        • Turn the ignition switch to ON, and make sure that TRIP A is displayed on the Liquid Crystal Display (LCD).

        • Turn the ignition switch off. While pushing the ODO/TRIP switch, turn the ignition switch to ON.

        • With the ignition switch ON, keep holding the ODO/TRIP switch (for at least 5 seconds) with the LCD counting down. Release the ODO/TRIP switch when the resetting procedure has completed.

        • As the resetting completes, the odometer will display "000000" for 1 second.

    2. LCD


      1. Display Flow Function


        • The wide type LCD display changes in the following order due to ODO/TRIP switch and rheostat switch operation.

        A01HM2SE01
        Text in Illustration
        *1 Odometer *2 Trip Meter A
        *3 Trip Meter B *4 Ambient Temperature
        *5 Average Fuel Consumption *6 Current Fuel Consumption
        *7 Eco Driving Indicator Light ON/OFF Switch Mode *8 Meter Illumination Adjustment Mode
        A01HLRL ODO/TRIP switch pressed briefly. A01HM7O ODO/TRIP switch pressed and held.
        A01HM79 Rheostat switch pressed. - -

        • The fuel gauge side LCD display that is provided on models other than non-grade models for U.S.A. changes in the following order due to ODO/TRIP switch operation.

        A01HLYOE01
        Text in Illustration
        *1 Odometer *2 Trip Meter A
        *3 Trip Meter B *4 Average Fuel Consumption
        *5 Eco Driving Indicator Light ON/OFF Mode - -
        A01HLRL ODO/TRIP switch pressed briefly. A01HM7O ODO/TRIP switch pressed and held.
    3. Multi-information Display


      1. Display Flow Function


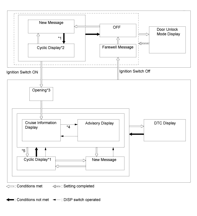
        1. The multi-information display flow can be switched as shown in the flow chart below:

          A01HM18E01
          No. Transition Condition
          *1 Conditions are not met and all new messages have been displayed.
          *2 If the display conditions for 2 or more messages are met, relevant messages are alternately displayed for 2 seconds each.
          *3 If the ignition switch is turned to OFF during the "Opening" display, the "Opening" display will be shown from the beginning.
          *4 If the DISP switch is used to change from an advisory message to the cruise information display screen, repeatedly operating the DISP switch will cycle through the cruise information screens and then return the advisory message if the display conditions are still met.
          *5 If the DISP switch is not operated for more than 6 seconds with any of the caution or warning message display conditions still met, the relevant caution or warning messages are displayed.
      2. Cruise Information Mode Function


        • The cruise information is displayed in the following order each time the DISP switch of the steering pad switch assembly is pressed.

        A01HM48E01
        Text in Illustration
        *1 DISP Switch - -
        A01HLRL DISP switch pressed briefly. - -

        • The cruise information mode items displayed are as follows:

        No. Information Outline
        (1) Cruising Range
        • Displays a value that has been calculated by the combination meter assembly. When the ignition switch is turned to ON, the combination meter assembly calculates the range based on continuously monitoring and storing information on fuel consumption data, and the residual fuel volume.

        • This display is updated every 10 seconds.

        Average Fuel Consumption
        • Displays a value that has been calculated by the combination meter assembly based on the distance driven and the fuel consumption volume (fuel injection signal from the ECM).

        • This display is updated every 10 seconds.

        (2) Average Speed
        • Displays the average vehicle speed calculated by the combination meter assembly based on the engine start signal and vehicle speed signal.

        • This display is updated every 10 seconds.

        Elapsed Time Displays the length of time since the engine was started.
        (3) Eco Drive Level Display
        • Displays the average fuel consumption calculated since the engine was started.

        • Uses 4 different height bars to display the level.

        • This display is updated every 10 seconds.

        (4) Settings Customizes the combination meter assembly language display and Eco Driving Indicator Light and instantaneous fuel consumption gauge deactivated or activated display states.
        (5) Blank Screen -
      3. Eco Drive Level


        • The eco drive level changes among 4 levels to indicate the average fuel consumption.

        • After the ignition switch is turned off, the eco drive level display appears for 3 seconds in the multi-information display. When the average fuel consumption is 13.0 km/L or more, the "EXCELLENT!" message flashes.

        Average Fuel Consumption Level (km/L) Multi-information Display
        Level 0 (less 5) A01HLSN
        Level 1 (5 to 7.5) A01HM9I
        Level 2 (7.5 to 10) A01HLY2
        Level 3 (10 to 12.5) A01HLWH
        Level 4 (12.5 or more) When driving A01HLZH
        After ignition switch is turned off A01HM77
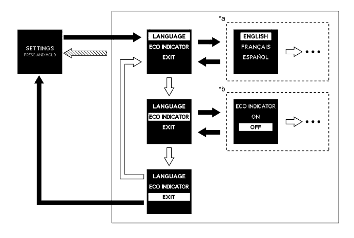
      4. Customization Function


        • In the settings screen of cruise information mode, pressing and holding the DISP switch enters setting mode.

        • Press the DISP switch briefly to select the item to be customized. Press and hold the DISP switch to confirm the selection.

        A01HM8TE01
        Text in Illustration
        *a Language Setting *b Eco Driving Indicator Light ON/OFF Setting
        A01HLRL DISP switch pressed briefly. A01HM7O DISP switch pressed and held.
        A01HM79 If the vehicle has reached a speed of 8 km/h (5 mph) - -

        • In setting mode, the following items of the combination meter assembly can be customized.

        Item Available Setting
        Language
        • English

        • French

        • Spanish

        Eco Driving Indicator Light and Instantaneous Fuel Consumption Gauge
        • On

        • Off

      5. Warning Mode Function


        • When a warning is necessary, the warning display interrupts the display in the multi-information display.

        • The master warning light may illuminate or blink and the buzzer in the combination meter assembly may sound depending on the item in the multi-information display.

        Priority Indication/Warning Master Warning Light Buzzer
        1 Door Open (While Driving)* Blinks Sounds
        Door Open - -
        Clearance Sonar Obstruction Detection - -
        CHECK SONAR Illuminates Sounds
        CLEAN SONAR Illuminates Sounds
        2 RELEASE PARKING BRAKE Blinks Sounds
        KEY NOT DETECTED Blinks Sounds
        3 SMART KEY SYSTEM CHECK Blinks Sounds
        4 TURN POWER OFF Blinks Sounds
        KEY DETECTED IN VEHICLE Blinks Sounds
        TURN LIGHTS OFF Blinks Sounds
        MOONROOF OPEN Blinks Sounds
        DEPRESS BRAKE PEDAL, TOUCH ENGINE SWITCH TO START Blinks Sounds
        DEPRESS BRAKE PEDAL AND PUSH ENGINE SWITCH TO START Blinks Sounds
        SHIFT TO P POSITION TO START Blinks Sounds
        5 KEY BATTERY LOW Illuminates Sounds
        6 LOW WASHER FLUID - -
        POWER ON - -
        Engine start ready state - -

        • *1: If the vehicle has reached a speed of 5 km/h (3 mph)