СИСТЕМА СНИЖЕНИЯ ТОКСИЧНОСТИ ОТРАБОТАВШИХ ГАЗОВ ДЕТАЛЬНОЕ ОПИСАНИЕ


  1. НАЗНАЧЕНИЕ ОСНОВНЫХ УСТРОЙСТВ


    1. Ниже перечислены основные узлы и детали системы снижения токсичности отработавших газов двигателя 1AR-FE.

      Устройство Функция
      TWC Окисляет CO и HC в отработавших газах и одновременно восстанавливает NOx, очищая их до CO2, H2O и N2.
      Датчик состава топливовоздушной смеси Определяет концентрацию оставшегося кислорода в отработавших газах. Его выходной сигнал пропорционален соотношению "воздух-топливо" двигателя. Установлен перед каталитическим нейтрализатором.
      Кислородный датчик Сигнал датчика состава топливовоздушной смеси резко изменяется между уровнями обедненного и обогащенного состояний при стехиометрическом соотношении воздух-топливо. Он установлен после каталитического нейтрализатора.
      ECM Регулирует объем потребляемого топлива в основном по сигналу датчика состава топливовоздушной смеси с небольшими поправками по сигналу кислородного датчика. Эта функция управления оптимизирует выбросы отработавших газов.
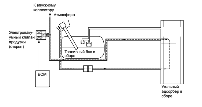
      Угольный адсорбер в сборе Содержит активированный уголь, поглощающий пары топлива, которые возникают в топливном баке.
      Линия наружного воздуха Наружный воздух поступает в угольный адсорбер в сборе, а очищенный воздух выбрасывается в атмосферу.
      Электровакуумный клапан продувки Открывается в соответствии с сигналами от ECM во время продувки системы, направляя поглощенные угольным адсорбером испарения топлива во впускной коллектор. В режиме контроля состояния системы этот клапан регулирует разрежение в топливном баке.
      Фильтр адсорбера Удаляет из поступающего в систему наружного воздуха пыль и мусор.
  2. СИСТЕМА УПРАВЛЕНИЯ


    1. Управление продувкой


      1. При достижении определенных рабочих параметров двигателя (управление по замкнутой обратной связи, температура охлаждающей жидкости выше 80°C (176°F) и т.д.) скопившиеся испарения топлива выдуваются из угольного адсорбера, когда электровакуумный клапан продувки открывается ECM.

      2. ECM изменяет продолжительность включения электровакуумного клапана продувки, регулируя тем самым объем продувки. Объем продувки определяется давлением во впускном коллекторе и продолжительностью включения электровакуумного клапана продувки. В угольный адсорбер подается атмосферное давление, обеспечивая постоянную продувку всякий раз, когда в угольном адсорбере создается разрежение.

        A01F0QPE01
  3. КОНСТРУКЦИЯ


    1. Трехкомпонентный каталитический нейтрализатор (TWC)


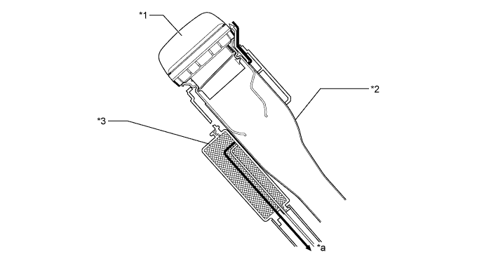
      1. В выпускном коллекторе и центральной выпускной трубе в сборе установлены TWC.

      2. Выпускной коллектор со встроенным TWC используется для прогрева TWC в центральной выпускной трубе в сборе.

      3. В выпускном коллекторе установлен керамический TWC со сверхтонкими стенками и ячейками повышенной плотности, а в центральной выпускной трубе – керамический TWC с тонкими стенками.

      4. Снижение токсичности отработавших газов достигается за счет сверхтонких стенок и ячеек повышенной плотности TWC.

        A01F0TSE01
        Обозначения на рисунке
        *1 Выпускной коллектор в сборе *2 TWC
        *3 Центральная выпускная труба в сборе - -
        *a Сверхтонкие стенки - -
    2. Впуск топлива (впуск наружного воздуха)


      1. Трубопровод впуска наружного воздуха находится рядом с отверстием трубки подвода топлива. Наружный воздух из атмосферы и очищенный угольным адсорбером воздух поступают в систему и из системы через каналы, показанные ниже.

        A01F0TRE04
        Обозначения на рисунке
        *1 Пробка наливной горловины топливного бака *2 Трубка подвода топлива
        *3 Фильтр адсорбера - -
        *a К угольному адсорберу в сборе - -
        A01F0UV Наружный воздух A01F0P6 Очищенный воздух