БЛОК ДВИГАТЕЛЯ ДЕТАЛЬНОЕ ОПИСАНИЕ


  1. КОНСТРУКЦИЯ


    1. Крышка головки блока цилиндров


      1. Используется облегченная и высокопрочная крышка головки блока цилиндров, изготавливаемая из магниевого сплава.

      2. Внутрь крышки головки блока цилиндров устанавливается маслоподводящая трубка. Это обеспечивает смазывание скользящих деталей рычагов привода клапанов № 1 и, тем самым, повышает надежность.

        A01F0JXE01
        Обозначения на рисунке
        *1 Крышка головки блока цилиндров *2 Прокладка крышки головки блока цилиндров
        *3 Маслоподводящая трубка - -
    2. Прокладка головки блока цилиндров


      1. Используется трехслойная металлическая прокладка головки блока цилиндров.

      2. Поверхность прокладки головки блока цилиндров покрывается фторкаучуком, что обеспечивает высокий уровень надежности.

        A01F0UWE01
        Обозначения на рисунке
        *1 Фторсодержащая резина - -
        *a Сечение A - A - -
        A01F0UV Передняя сторона двигателя - -
    3. Головка блока цилиндров в сборе


      1. Конструкция головки блока цилиндров упрощена за счет разделения шейки распредвала (кожуха распредвала) и головки блока цилиндров.

      2. Головка блока цилиндров в сборе изготавливается из алюминия и имеет шатровые камеры сгорания. Свеча зажигания располагается в центре камеры сгорания, в результате чего обеспечивается улучшение детонационной характеристики двигателя.

      3. Для улучшения детонационной характеристики и повышения эффективности впуска используется камера сгорания с конической зоной завихрения. Кроме того, за счет этого улучшаются рабочие характеристики двигателя, и повышается экономия топлива.

        A01F0MLE04
        Обозначения на рисунке
        *1 Крышка подшипника распредвала *2 Кожух распредвала
        *3 Головка блока цилиндров в сборе *4 Отверстие для свечи зажигания
        *5 Выпускной клапан *6 Впускной клапан
        *a Со стороны выпуска *b Со стороны впуска
        *c Коническая зона завихрения *d Вид снизу
        *e Сечение A - A - -
    4. Блок цилиндров в сборе


      1. Блок цилиндров изготовлен из алюминиевого сплава и поэтому имеет малую массу.

      2. Между отверстиями цилиндров предусмотрены каналы охлаждающей жидкости. Благодаря такой конструкции, позволяющей охлаждающей жидкости перетекать между отверстиями цилиндров, поддерживается одинаковая температура стенок цилиндров.

      3. Чтобы улучшить сцепление гильз с головкой блока цилиндров, применяются шероховатые гильзы, изготовленные таким образом, что их литые наружные стороны образуют большую неровную поверхность. Улучшенное сцепление обеспечивает повышение теплопередачи, в результате чего снижается общая температура, и ослабляется тепловая деформация отверстий цилиндров.

        A01F0PEE03
        Обозначения на рисунке
        *1 Канал охлаждающей жидкости *2 Блок цилиндров в сборе
        *a Шероховатая гильза (шероховатая наружная поверхность литой гильзы) *b Сечение A - A
      4. В картере предусмотрены каналы для картерных газов.

      5. В картере предусмотрены каналы для слива масла. Это предотвращает взбивание моторного масла коленчатым валом, благодаря чему снижается сопротивление вращению.

      6. Кронштейн масляного фильтра встроен в картер.

        A01F0JSE04
        Обозначения на рисунке
        *1 Канал картерных газов *2 Канал слива масла
        *3 Кронштейн масляного фильтра *4 Картер
      7. В канале для картерных газов внутри блока цилиндров имеется маслоотделитель. Он отделяет моторное масло от картерных газов, препятствуя ухудшению характеристик и снижая расход моторного масла.

        A01F0MVE04
        Обозначения на рисунке
        *1 Маслоотделитель *2 Корпус маслоотделителя
        *3 Корпус системы вентиляции картера - -
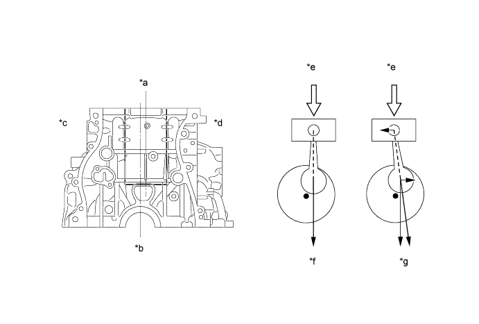
      8. В связи с использованием смещенного коленчатого вала центры отверстий цилиндров смещены на 10 мм (0,39 дюйма) в сторону выпуска по отношению к оси коленчатого вала. За счет этого уменьшается боковое усилие, действующее на стенки цилиндров при максимальном давлении. Как следствие, снижается расход топлива.

        A01F0P3E03
        Обозначения на рисунке
        *a Осевая линия отверстия *b Осевая линия коленчатого вала
        *c Со стороны впуска *d Со стороны выпуска
        *e Максимальное давление *f Смещенный коленчатый вал
        *g Несмещенный коленчатый вал - -
      9. Используется неглубокая водяная рубашка. Связанное с этим сокращение объема охлаждающей жидкости двигателя улучшает характеристику прогрева, что способствует снижению расхода топлива.

      10. В водяной рубашке блока цилиндров используется распорная деталь водяной рубашки.

      11. Распорная деталь водяной рубашки блокирует поток охлаждающей жидкости в нижней части водяной рубашки, направляя жидкость в верхнюю часть водяной рубашки, и обеспечивает равномерное распределение температуры. Это позволяет снизить вязкость моторного масла, которое выполняет функцию смазки между стенками отверстий и поршнями, и, тем самым, уменьшить трение.

        A01F0NYE05
        Обозначения на рисунке
        *1 Распорная деталь водяной рубашки *2 Водяная рубашка
        *a Сечение A - A - -
    5. Поршень


      1. Поршни изготавливаются из алюминиевого сплава.

      2. Днища поршней имеют коническую завихряющую форму, обеспечивающую эффективное сгорание топлива.

      3. Для снижения потерь на трение юбки поршней имеет пластмассовое покрытие.

      4. Чтобы обеспечить сопротивление абразивному изнашиванию, канавка компрессионного кольца № 1 покрывается алюмитом.

      5. Для снижения трения и уменьшения расхода топлива применяются поршневые кольца низкого напряжения.

      6. Для снижения трения и массы конструкции применяются узкие поршневые кольца.

      7. Поверхности компрессионного кольца № 1 имеют покрытие, нанесенное осаждением из паров, что улучшает их износостойкость.

        A01F0KYE03
        Обозначения на рисунке
        *1 Компрессионное кольцо № 1 *2 Компрессионное кольцо № 2
        *3 Маслосъемное кольцо - -
        *a Коническая завихряющая форма *b Алюмитовое покрытие
        *c Полимерное покрытие *d Покрытие, нанесенное осаждением из паров
    6. Шатуны


      1. Для снижения массы используются кованые высокопрочные шатуны.

      2. Для минимизации смещения крышек шатунов во время сборки на сопрягаемых поверхностях крышек шатунов установлены штифты.

      3. Крепление шатунов осуществляется с помощью удлиняющихся при затяжке стягивающих болтов.

      4. Подшипники шатунов изготавливаются из алюминия.

      5. Для уменьшения трения снижена ширина подшипников шатунов.

      6. Благодаря микроканавкам на поверхностях вкладыша подшипника шатуна достигается оптимальный масляный зазор. Как следствие, облегчается запуск холодного двигателя, и ослабляются вибрации двигателя.

        A01F0LQE03
        Обозначения на рисунке
        *1 Удлиняющийся при затяжке болт *2 Штифт
        *3 Подшипник шатуна - -
        *a Микроканавки - -
    7. Коленчатый вал


      1. Коленчатый вал изготавливается из кованой стали, характеризующейся превосходной прочностью и износостойкостью.

      2. У него имеется 5 коренных шеек и 8 противовесов.

      3. На коленчатом валу установлена приводная шестерня уравновешивающего вала.

        A01F0VGE01
        Обозначения на рисунке
        *1 Шейка коренного подшипника № 1 *2 Шейка коренного подшипника № 2
        *3 Шейка коренного подшипника № 3 *4 Шейка коренного подшипника № 4
        *5 Шейка коренного подшипника № 5 *6 Приводная шестерня уравновешивающего вала
        *7 Противовес *8 Уравновешивающий вал
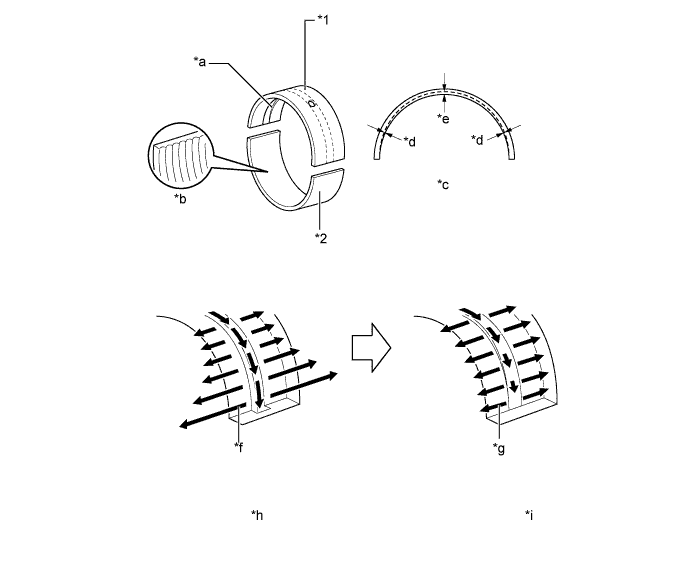
    8. Подшипник коленвала


      1. Для уменьшения трения снижена ширина подшипников коленчатого вала.

      2. Благодаря микроканавкам на поверхностях вкладыша подшипников коленчатого вала достигается оптимальный масляный зазор. Как следствие, облегчается запуск холодного двигателя, и ослабляются вибрации двигателя.

      3. Для ослабления утечки масла из подшипника смазочная канавка на подшипнике коленчатого вала сделана эксцентричной. Это позволило уменьшить производительность масляного насоса для снижения паразитных потерь.

        A01F0L5E03
        Обозначения на рисунке
        *1 Верхний подшипник коленчатого вала *2 Нижний подшипник коленчатого вала
        *a Смазочная канавка *b Микроканавки
        *c Глубина смазочной канавки *d Край
        *e Центр *f Большая утечка масла на конце канавки
        *g Меньшая утечка масла на конце канавки *h Обычная смазочная канавка
        *i Смещенная от центра смазочная канавка - -
    9. Уравновешивающий вал


      1. Для ослабления вибрации используются уравновешивающие валы.

      2. Коленчатый вал напрямую приводит в движение уравновешивающий вал № 1.

      3. Кроме того, с ведомой стороны устанавливается полимерное зубчатое колесо, что обеспечивает подавление шума и облегчение конструкции.

        A01F0LEE01
        Обозначения на рисунке
        *1 Приводная шестерня уравновешивающего вала *2 Коленчатый вал
        *3 Кожух уравновешивающего вала № 2 *4 Уравновешивающий вал № 2
        *5 Уравновешивающий вал № 1 *6 Полимерное зубчатое колесо
        *7 Кожух уравновешивающего вала № 1 - -
      4. В рядном 4-цилиндровом двигателе угол поворота коленчатого вала для цилиндров № 1 и № 4 строго противоположен (180°) положению цилиндров № 2 и № 3. Таким образом, силы инерции поршней и шатунов первых 2 цилиндров и последних 2 цилиндров почти компенсируют друг друга. Однако так как положение, в котором поршень достигает максимальной скорости, смещено относительно середины хода к верхней мертвой точке, направленная вверх сила инерции превышает силу инерции, направленную вниз. Эта неуравновешенная сила инерции второго порядка создается дважды при каждом обороте коленчатого вала.

        A01F0SHE01
        Обозначения на рисунке (сила инерции, создаваемая 4-мя цилиндрами рядного расположения)
        *1 Силы инерции цилиндров № 2 и № 3 *2

        Суммарная сила инерции всех цилиндров

        (неуравновешенная сила инерции второго порядка)

        *3 Сила инерции балансировочного узла двигателя в сборе *4 Усилие
        *5 Силы инерции цилиндров № 1 и № 4 *6 -180°
        *7 -90° *8
        *9 90° *10 180°
        *11 270° - -
        *a Верхняя мертвая точка *b Положение макс. скорости
        *c Нижняя мертвая точка - -
      5. Чтобы нейтрализовать неуравновешенную силу инерции второго порядка, предусмотрены 2 уравновешивающих вала, которые совершают 2 оборота на каждый оборот коленчатого вала. За счет этого они создают силу инерции в противоположном направлении. Кроме того, чтобы компенсировать силу инерции, создаваемую самими уравновешивающими валами, фактически имеются 2 вала, вращающихся в противоположных направлениях.

        A01F0RXE04
        Обозначения на рисунке (сила инерции, создаваемая балансировочными валами:)
        *1 *2 90°
        *3 180° *4 270°
        *5 Ориентация инерционной массы уравновешивающего вала - -
        *a Сила инерции уравновешивающих валов *b Угол поворота коленчатого вала
        *c Сила инерции второго порядка - -
    10. Клапанный механизм


      1. Каждый цилиндр двигателя имеет 2 впускных и 2 выпускных клапана. За счет увеличения суммарной площади каналов повышена эффективность системы впуска и выпуска.

      2. В двигателе используются рычаги привода клапанов № 1 со встроенными игольчатыми подшипниками. Это обеспечивает снижение трения, которое возникает между кулачками и рычагами привода клапанов № 1 в сборе, выталкивающими клапаны вниз, благодаря чему уменьшается расход топлива.

      3. Благодаря применению механизмов регулировки зазора в приводах клапанов постоянно поддерживается нулевой зазор за счет использования давления масла и упругой силы.

      4. Распредвалы впускных и выпускных клапанов приводятся в движение цепным приводом газораспределительного механизма.

      5. В данном двигателе используется двойная электронная система изменения фаз газораспределения (VVT-i), которая управляет распредвалами впускных и выпускных клапанов, оптимизируя фазы газораспределения в соответствии с условиями движения. Благодаря этому удалось добиться снижения расхода топлива и токсичности отработавших газов, а также улучшить рабочие характеристики двигателя.

        A01F0N3E01
        Обозначения на рисунке
        *1 Зубчатое колесо распредвала в сборе *2 Направляющая цепного привода газораспределительного механизма
        *3 Распредвал *4 Распредвал № 2
        *5 Рычаг привода клапана № 1 *6 Башмак натяжителя цепи
        *7 Натяжитель цепи № 1 в сборе *8 Зубчатое колесо распредвала выпускных клапанов в сборе
        *9 Успокоитель цепи № 1 *10 Впускной клапан
        *11 Выпускной клапан *12 Механизм регулировки зазора в приводе клапана в сборе
        *13 Клапан *14 Цепь в сборе
    11. Фазы газораспределения

      Распредвал впускных клапанов Открыто От 3° до 53° до ВМТ
      Закрыто От 61° до 11° после НМТ
      Распредвал выпускных клапанов Открыто От 60° до 20° до НМТ
      Закрыто От 4° до 44° после ВМТ
      A01F0RAE03
      Обозначения на рисунке
      *a Рабочий диапазон VVT-i (на впуске) *b Рабочий диапазон VVT-i (на выпуске)
      *c ВМТ *d НМТ
      *e Угол открывания впускного клапана *f Угол открывания выпускного клапана
    12. Распредвал


      1. Распредвалы изготавливаются из чугунного сплава.

      2. Чтобы обеспечить подачу моторного масла в систему VVT-i, в распредвалах впускных и выпускных клапанов предусмотрены каналы для масла.

      3. Для изменения моментов открывания и закрывания впускных и выпускных клапанов на передней части каждого соответствующего распредвала устанавливается зубчатое колесо в сборе.

      4. Наряду с использованием рычагов привода клапанов № 1 в сборе изменен профиль кулачков. Это привело к увеличению высоты подъема клапана в момент открывания и по окончании закрывания и, как следствие, к улучшению рабочих характеристик.

        A01F0TPE03
        Обозначения на рисунке
        *1 Зубчатое колесо распредвала в сборе *2 Задающий ротор
        *3 Зубчатое колесо распредвала выпускных клапанов в сборе *4 Измененная часть профиля кулачка
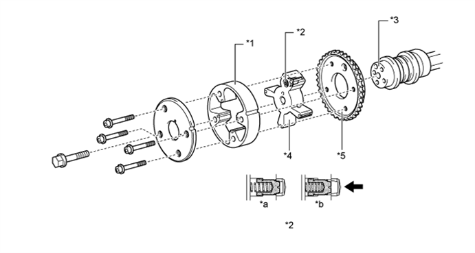
    13. Зубчатое колесо распредвала в сборе


      1. Каждое зубчатое колесо распредвала включает наружный корпус, который приводится в движение звездочкой цепного привода газораспределительного механизма, и направляющий элемент, соединенный с каждым распредвалом.

      2. В зубчатом колесе распредвала используется направляющий элемент с 4 кулачками.

      3. Когда двигатель останавливается, зубчатое колесо распредвала впускных клапанов блокируется своим стопорным штифтом в положении наибольшего запаздывания. Это обеспечивает превосходную пусковую характеристику двигателя.

      4. Давление масла, поступающего из каналов распредвалов впускных клапанов со стороны опережения или запаздывания, заставляет направляющий элемент вращаться относительно звездочки цепного привода газораспределительного механизма, вследствие чего непрерывно изменяются фазы газораспределения.

        A01F0V2E04
        Обозначения на рисунке
        *1 Корпус *2 Стопорный штифт
        *3 Распредвал *4 Направляющий элемент (закреплен на распредвале впускных клапанов)
        *5 Звездочка - -
        *a Двигатель остановлен *b Двигатель работает
        A01F0UV Давление масла - -
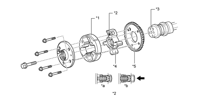
    14. Зубчатое колесо распредвала выпускных клапанов в сборе


      1. Зубчатое колесо распредвала выпускных клапанов включает наружный корпус, приводимый звездочкой цепного привода газораспределительного механизма, и направляющий элемент, соединенный с распредвалом.

      2. В зубчатом колесе распредвала выпускных клапанов используется направляющий элемент с 4 кулачками.

      3. Когда двигатель останавливается, зубчатое колесо распредвала выпускных клапанов фиксируется в положении наибольшего опережения. Это обеспечивает превосходную пусковую характеристику двигателя.

      4. Давление масла, поступающего из каналов распредвалов выпускных клапанов со стороны опережения или запаздывания, заставляет направляющий элемент вращаться относительно звездочки цепного привода газораспределительного механизма, вследствие чего непрерывно изменяются фазы газораспределения.

      5. Зубчатое колесо распредвала выпускных клапанов снабжено вспомогательной пружиной центробежного регулятора опережения. Она способствует приложению крутящего момента в направлении опережения с тем, чтобы стопорный штифт направляющего элемента надежно сцеплялся с корпусом, когда двигатель остановлен.

        A01F0LXE04
        Обозначения на рисунке
        *1 Корпус *2 Стопорный штифт
        *3 Распредвал № 2 *4 Направляющий элемент (закреплен на распредвале № 2 (выпускных клапанов))
        *5 Звездочка - -
        *a Двигатель остановлен *b Двигатель работает
        A01F0UV Давление масла - -
    15. Цепь в сборе и натяжитель цепи № 1 в сборе


      1. Применяется роликовая цепь с шагом 9,525 мм (0,375 дюйма).

      2. Для непрерывного поддержания требуемого натяжения цепи натяжитель цепи № 1 использует пружину и давление масла. Натяжитель цепи ослабляет шум, создаваемый цепью.

      3. Натяжитель цепи № 1 представляет собой невозвратный храповой механизм.

      4. Для повышения удобства технического обслуживания конструкция натяжителя цепи № 1 в сборе позволяет снимать и устанавливать его через технологическое отверстие в крышке цепного привода газораспределительного механизма.

        A01F0PPE01
        Обозначения на рисунке
        *1 Цепь в сборе *2 Направляющая цепного привода газораспределительного механизма
        *3 Башмак натяжителя цепи *4 Успокоитель цепи № 1
        *5 Натяжитель цепи № 1 в сборе - -
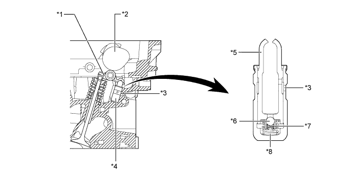
    16. Механизм регулировки зазора в приводе клапана в сборе


      1. Гидравлические механизмы регулировки зазора расположены в центре вращения роликовых рычагов привода клапанов № 1. Каждый из них состоит, главным образом, из плунжера, пружины плунжера, запорного шарика и пружины запорного шарика.

      2. Для приведения в действие механизмов регулировки зазора в сборе используются давление моторного масла, подаваемого головкой блока цилиндров, и встроенная пружина. Давление масла и сила пружины, действующая на плунжер, прижимают рычаги привода клапана № 1 к кулачку, регулируя зазор между штоком клапана и рычагом привода клапана № 1. Это предотвращает создание шума во время открывания и закрывания клапанов. Как следствие, ослабляется шум двигателя.

        A01F0J9E01
        Обозначения на рисунке
        *1 Рычаг привода клапана № 1 *2 Кулачок
        *3 Канал для масла *4 Механизм регулировки зазора в приводе клапана в сборе
        *5 Плунжер *6 Запорный шарик
        *7 Пружина запорного шарика *8 Пружина плунжера
    17. Крышка цепного привода газораспределительного механизма в сборе


      1. Применяется литая алюминиевая крышка цепного привода газораспределительного механизма.

      2. Крышка цепного привода газораспределительного механизма имеет совмещенную конструкцию, в которой объединены масляный насос и масляная форсунка цепного привода газораспределительного механизма. Это позволило сократить количество деталей и, как следствие, уменьшить вес.

      3. Для повышения удобства технического обслуживания на крышке цепного привода газораспределительного механизма в сборе предусмотрены технологические отверстия для натяжителя цепи № 1 в сборе и зубчатого колеса распредвала в сборе.

        A01F0NZE04
        Обозначения на рисунке
        *1 Технологическое отверстие (для зубчатого колеса распредвала в сборе) *2 Крышка цепного привода газораспределительного механизма в сборе
        *3 Технологическое отверстие (для натяжителя цепи № 1 в сборе) *4 Масляный насос
        *5 Масляная форсунка цепного привода газораспределительного механизма - -
        *a Вид сзади - -
        A01F0UV Передняя сторона - -
    18. Поликлиновой ремень


      1. Узлы вспомогательного оборудования приводятся в движение приводным ленточным ремнем, который представляет собой отдельный поликлиновой ремень. В результате снижаются общая длина, масса и число деталей двигателя.

      2. Благодаря автоматическому регулятору натяжения не требуется регулировать натяжение ремня.

        A01F0L1E01
        Обозначения на рисунке
        *1 Натяжитель поликлинового ремня в сборе *2 Шкив генератора
        *3 Шкив коленчатого вала *4 Шкив насоса системы охлаждения
        *5 Шкив компрессора системы кондиционирования - -
    19. Натяжитель поликлинового ремня в сборе


      1. Требуемое натяжение поликлинового ремня поддерживается стяжной пружиной, входящей в натяжитель ремня.

        A01F0KXE03
        Обозначения на рисунке
        *1 Пружина *2 Рычаг
        *3 Опорный ролик - -
        *a Поперечное сечение *b Ось поворота
        *c Сила, создаваемая ремнем *d Направление натяжения ремня