СИСТЕМА ПОСАДКИ И ЗАПУСКА ДЕТАЛЬНОЕ ОПИСАНИЕ


  1. НАЗНАЧЕНИЕ ОСНОВНЫХ УСТРОЙСТВ


    1. Основные устройства системы посадки и запуска выполняют следующие функции.

      Устройство Функция

      Выключатель питания (нажимной пусковой переключатель)

      - Усилитель электронного ключа зажигания


      • Передает сигнал выключателя питания в главный ЭБУ кузова.

      • Получает идентификационный код и передает его в ЭБУ сертификации, когда батарея передатчика электронного ключа в сборе чрезмерно разряжена и не позволяет ответить приемнику с помощью внутреннего генератора электронного ключа и генератора электронного ключа № 2.

      Передатчик электронного ключа в сборе
      • Применяются передатчики электронного ключа в сборе 2 типов: передатчик электронного ключа в сборе (электронный ключ) и передатчик электронного ключа в сборе (ключ-карта)*1.

      • Передатчик электронного ключа в сборе (электронный ключ) состоит из механического ключа, передатчика системы дистанционной блокировки дверей, приемопередатчика системы посадки и запуска и микросхемы управления иммобилайзером.

      • Передатчик электронного ключа в сборе (ключ-карта*1) состоит из механического ключа, приемопередатчика системы посадки и запуска и микросхемы управления иммобилайзером.

      • Принимает сигналы от антенн и передает идентификационный код в приемник системы блокировки дверей.

      ЭБУ сертификации (ЭБУ электронного ключа зажигания в сборе)
      • Проверяет идентификационный код, получаемый от приемника системы блокировки дверей, и передает результаты проверки в блок идентификационного кода и ЭБУ блокировки рулевого управления.

      • Проверяет и сертифицирует идентификационный код, полученный от приемника системы дистанционной блокировки дверей.

      • Передает сигнал выключения иммобилайзера в блок идентификационного кода.

      • Передает в ЭБУ блокировки рулевого управления сигналы разблокировки рулевого управления.

      Выключатель стоп-сигналов в сборе Передает состояние педали тормоза в главный ЭБУ кузова.
      Привод блокировки рулевого управления (ЭБУ блокировки рулевого управления) Получает сигнал блокировки/разблокировки рулевого управления от блока идентификационного кода и включает электродвигатель блокировки рулевого управления.
      Блок идентификационного кода (ЭБУ кода иммобилайзера) Получает от ЭБУ сертификации сигналы запроса разблокировки рулевого управления или выключения иммобилайзера, проверяет их и направляет в ЭБУ блокировки рулевого управления или ECM.
      ЭБУ гибридной системы
      • Получает сигнал запроса запуска гибридной системой от главного ЭБУ кузова и запускает гибридную систему.

      • Получает от блока идентификационного кода сигнал выключения/выключения иммобилайзера и выключает или включает иммобилайзер.

      Датчик положения рычага переключения передач Определяет положение рычага переключения передач и передает сигнал положения в ЭБУ гибридной системы.
      Главный ЭБУ кузова (распределительный блок со стороны водителя)
      • Обеспечивает переключение режимов источника питания (OFF (ВЫКЛ), ON (ВКЛ) (ACC), ON (ВКЛ) (IG) и READY) в соответствии с положением рычага переключения передач и состоянием выключателя стоп-сигналов в сборе.

      • Управляет функцией запуска в соответствии с сигналами, поступающими от переключателей и всех ЭБУ.

      • Передает в ЭБУ сертификации сигнал запроса сертификации ключа в соответствии с сигналом выключателя питания, а также включает и выключает реле.

      • Получает сигнал запроса от ЭБУ сертификации и включает двигатель замка двери, чтобы разблокировать или заблокировать дверь.

      • Передает информацию о состоянии каждой двери в ЭБУ сертификации.

      ЭБУ двери сети мультиплексной связи
      • Получает сигнал запроса от сенсорного датчика и передает сигналы запроса в ЭБУ сертификации.

      • Получает сигнал запроса от выключателя блокировки и передает сигналы запроса в ЭБУ сертификации.

      Наружная ручка двери в сборе Сенсорный датчик Регистрирует прикосновение к внутренней стороне наружной ручки двери в сборе.
      Переключатель блокировки Передает сигнал запроса блокировки двери в ЭБУ двери сети мультиплексной связи.
      Антенна электронного ключа Передает сигналы запроса.
      Дверной генератор электронного ключа Получает сигнал запроса от ЭБУ сертификации и формирует область действия вокруг передних и задних дверей.
      Выключатель электронного ключа багажного отделения Передает сигнал запроса открывания двери багажного отделения в ЭБУ сертификации.
      Внутренний генератор электронного ключа и внутренний генератор электронного ключа № 2 Получает сигнал запроса от ЭБУ сертификации и формируют область действия в салоне автомобиля.
      Антенна усилителя в сборе Получает идентификационный код от ключа в зоне действия и передает его в приемник системы управления замками дверей.
      Зуммер системы дистанционной блокировки дверей Обеспечивает звуковую сигнализацию, информируя водителя о выполнении операции блокировки или разблокировки системой посадки.*2
      Внутренний генератор электронного ключа № 3 Получает сигнал запроса от ЭБУ сертификации и формирует область действия в багажном отделении.
      Антенна электронного ключа (снаружи багажного отделения) Получает сигнал запроса от ЭБУ сертификации и формирует область действия вокруг багажного отделения.
      Приемник системы дистанционной блокировки дверей Получает идентификационный код от передатчика электронного ключа в сборе в области действия и передает его в ЭБУ сертификации.
      Щиток приборов в сборе Мультиинформационный дисплей Когда ЭБУ сертификации обнаруживает ошибку пользователя, он предупреждает водителя, включая зуммер системы дистанционной блокировки дверей*3 и многофункциональный зуммер в щитке приборов, а также выводит предупреждение на мультиинформационный дисплей и включает главную контрольную лампу аварийного состояния в соответствии с сигналом запроса от ЭБУ сертификации.
      Многофункциональный зуммер
      Главная контрольная лампа аварийного состояния

      • *1: для моделей с передатчиком электронного ключа в сборе (ключом-картой)

      • *2: для моделей с функцией обратной сигнализации с помощью зуммера системы дистанционной блокировки дверей

      • *3: кроме моделей для Китая

  2. УСЛОВИЯ РАБОТЫ


    1. Специальные функции системы посадки и запуска работают только тогда, когда передатчик электронного ключа в сборе находится в области действия, формируемой 8 генераторами электронного ключа.

    2. Внутренний генератор электронного ключа и внутренний генератор электронного ключа № 2 формируют область действия функции запуска.

    3. Внутренний генератор электронного ключа № 3 формирует область действия в багажном отделении, предотвращая запирание передатчика электронного ключа внутри багажного отделения.

    4. Дверные генераторы электронного ключа и антенна электронного ключа снаружи багажного отделения формируют область действия функции посадки.

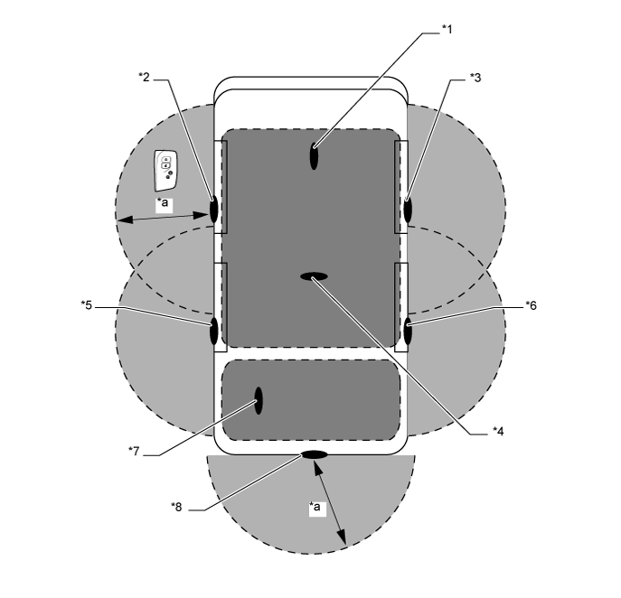
      A01GV36E01
      Обозначения на рисунке
      *1 Внутренний генератор электронного ключа *2 Генератор электронного ключа левой передней двери
      *3 Генератор электронного ключа правой передней двери *4 Внутренний генератор электронного ключа № 2
      *5 Генератор электронного ключа левой задней двери *6 Генератор электронного ключа правой задней двери
      *7 Внутренний генератор электронного ключа № 3 *8 Антенна электронного ключа (снаружи багажного отделения)
      *a Приблизительно 0,7-1,0 м (2,3-3,3 фута) - -
      A01GULU Область действия внутри автомобиля A01GUG0 Область действия снаружи автомобиля
  3. ФУНКЦИИ


    1. Функция запуска


      1. Функция запуска устанавливает различные режимы источника питания в соответствии с состоянием педали тормоза и положением рычага переключения передач.

      2. Когда водитель, имеющий при себе передатчик электронного ключа, садится в автомобиль, источник питания которого выключен, и нажимает на выключатель питания, не нажимая педали тормоза, источник питания переходит в режим ON (ВКЛ) (ACC), и контрольная лампа выключателя питания начинает гореть желтым светом. При каждом нажатии выключателя питания происходит переключение режима источника питания в следующей последовательности: Выкл → вкл (ACC) → вкл (IG) → выкл.

      3. Когда водитель, имеющий при себе передатчик электронного ключа в сборе, садится в автомобиль, источник питания которого выключен, и нажимает педаль педаль тормоза, когда рычаг переключения передач находится в положении P, контрольная лампа выключателя питания начинает гореть зеленым светом. Нажатие выключателя питания при зеленом свечении индикатора вызывает запуск гибридной системы.

      4. Если запуск гибридной системы осуществляется в остановленном автомобиле, нажатие выключателя питания, когда рычаг переключения передач находится в положении P, приводит к выключению режима источника питания. Нажатие выключателя питания, когда рычаг переключения передач находится в каком-либо положении, кроме P, вызывает переход в режим ON (ВКЛ) (ACC).

        A01GUNDE01
      5. Переключение режима источника питания при разряженной батарее передатчика электронного ключа в сборе или нарушении работы передатчика электронного ключа в сборе из-за электромагнитных помех производится следующим образом:


        1. Водитель разблокирует дверь с помощью механического ключа и садится в автомобиль, держа при себе передатчик электронного ключа в сборе.

        2. Водитель нажимает педаль тормоза и, удерживая ее нажатой, прикладывает знак LEXUS на передатчике электронного ключа к передней стороне выключателя питания.

        3. После звукового сигнала многофункционального зуммера водитель отпускает педаль тормоза и нажимает на выключатель питания.

        4. При нажатии выключателя питания происходит переключение режима источника питания в следующей последовательности: Выкл → вкл (ACC) → вкл (IG) → выкл.

      6. Запуск гибридной системы при разряженной батарее передатчика электронного ключа в сборе или нарушении работы передатчика электронного ключа в сборе из-за электромагнитных помех:


        1. Водитель разблокирует дверь с помощью механического ключа и садится в автомобиль, держа при себе передатчик электронного ключа в сборе.

        2. Водитель нажимает педаль тормоза при нахождении рычага переключения передач в положении P и, удерживая ее нажатой, прикладывает знак LEXUS на передатчике электронного ключа к передней стороне выключателя питания.

        3. Примерно в течение 10 с после того, как прозвучит звуковой сигнал многофункционального зуммера, и контрольная лампа выключателя питания загорится зеленым светом, водитель нажимает на выключатель питания, удерживая нажатой педаль тормоза.

        4. Нажатие выключателя питания приводит к запуску гибридной системы.

          Tech Tips


          • Обычно во время движения автомобиля выключатель питания заблокирован. Однако если в силу аварийной ситуации требуется остановить гибридную систему во время движения, водитель может сделать это или нажав на выключатель питания 3 раза в быстрой последовательности, или удерживая его в нажатом состоянии приблизительно 2 с.

          • Если из-за неисправности выключателя стоп-сигналов в сборе или датчика положения рычага переключения передач сигналы в ЭБУ сертификации не передаются, то гибридная система не запустится, даже если водитель будет нажимать на выключатель питания, удерживая нажатой педаль тормоза. В этом случае гибридную систему можно запустить следующим образом. Нажмите на выключатель питания, чтобы переключить источник питания из режима OFF (ВЫКЛ) в режим ON (ВКЛ) (ACC), а затем снова нажмите на выключатель питания и удерживайте его не менее 15 с.

          • Эти 2 операции необходимо выполнять только в аварийных ситуациях. В нормальных условиях не следует останавливать работу гибридной системы, нажимая на выключатель питания во время движения, а также запускать систему без нажатия педали тормоза, когда рычаг переключения передач находится в каком-либо положении, кроме P.

    2. Функция посадки


      1. Функция посадки выполняет следующие функции:

        Функция Описание
        Дистанционное управление блокировкой дверей С помощью этой функции можно легко блокировать и разблокировать все двери на расстоянии.
        Освещение при посадке Приводит в действие систему подсветки при посадке в автомобиль, когда передатчик электронного ключа в сборе попадает в наружную область действия дверного генератора электронного ключа.
        Разблокировка системой посадки Когда передатчик электронного ключа в сборе находится в области действия генератора электронного ключа какой-либо двери, касание внутренней поверхности наружной ручки двери в сборе вызывает разблокировку двери.
        Переключение режима разблокировки при посадке

        Позволяет выбрать один из следующих 4 режимов, в которых может работать функция разблокировки системы посадки:


        • Разблокировка двери водителя

        • Режим разблокировки смежной двери

        • Режим разблокировки отдельной двери

        • Режим разблокировки всех дверей

        Блокировка системой посадки Когда передатчик электронного ключа в сборе находится в области действия генератора электронного ключа какой-либо двери, и источник питания выключен, дверь можно заблокировать, просто нажав на выключатель блокировки на наружной ручке двери в сборе.
        Открывание двери багажного отделения системы посадки Когда передатчик электронного ключа в сборе находится в области действия антенны электронного ключа (снаружи багажного отделения), дверь багажного отделения может быть открыта вручную простым нажатием выключателя электронного ключа багажного отделения.
        Закрывание окон и люка Когда передатчик электронного ключа в сборе находится в области действия генератора электронного ключа какой-либо из дверей, при нажатии выключателя блокировки на наружной ручке двери в сборе в течение не менее 3 с все открытые окна и люк закрываются.
        Обращение к памяти Данная функция управляет системой сохранения положения во время поездки в соответствии с идентификационным кодом ключа.
        Защита от запирания ключа в салоне
        • Предотвращает запирание передатчика электронного ключа в сборе при блокировке двери с помощью наружной ручки двери в сборе, когда передатчик электронного ключа в сборе находится в салоне автомобиля.

        • Если дверь багажного отделения закрывается, когда передатчик электронного ключа находится в багажном отделении, предупредительный зуммер подает звуковой сигнал. Если в это время привести в действие передатчик электронного ключа в сборе на 2 с, можно открыть дверь багажного отделения.

        Отмена действия ключа

        Выполнив определенные процедуры, можно отключить перечисленные ниже функции передатчика электронного ключа в сборе.


        • Блокировку/разблокировку системой посадки

        • Дверь багажного отделения

        • Обращение к памяти

        • Защита от запирания ключа в салоне

        • Предупреждение

        Экономия энергии батарей Пока передатчик электронного ключа в сборе остается в пределах области действия генератора электронного ключа какой-либо двери, система периодически обменивается данными с передатчиком электронного ключа в сборе. Поэтому, если автомобиль остается припаркованным в данном состоянии в течение длительного времени, батарея передатчика электронного ключа и аккумуляторная батарея автомобиля могут разрядиться.
        Предупреждение Система посадки и запуска включает многофункциональный зуммер в щитке приборов в сборе с помощью ЭБУ сертификации, а также использует мультиинформационный дисплей для предупреждения водителя.
        Регистрация кода ключа Всего можно зарегистрировать 7 ключей. Функция регистрации ключа обеспечивает регистрацию (запись и хранение) опознавательных кодов передатчика в электрически стираемом программируемом ПЗУ, встроенном в ЭБУ сертификации.
    3. Функция дистанционной блокировки дверей


      1. Функция дистанционной блокировки дверей выполняет следующие функции:

        Функция Описание
        Блокировка всех дверей При нажатии кнопки блокировки на передатчике электронного ключа в сборе (электронном ключе) все двери блокируются.
        Разблокировка всех дверей (2-ступенчатая разблокировка)*1 При однократном нажатии кнопки разблокировки на передатчике электронного ключа в сборе (электронном ключе) разблокируется дверь водителя, а при повторном нажатии этой кнопки в течение 3 с разблокируются все двери.
        Разблокировка всех дверей (1-ступенчатая разблокировка) При нажатии кнопки разблокировки на передатчике электронного ключа в сборе (электронном ключе) все двери разблокируются.
        Дверь багажного отделения открыта*1 При нажатии кнопки открывания двери багажного отделения на передатчике электронного ключа в сборе (электронном ключе) дверь багажного отделения открывается.
        Обратная связь*1 Когда двери блокируются или разблокируются с использованием передатчика электронного ключа в сборе (электронного ключа), зуммер системы дистанционной блокировки дверей*2 подает звуковой сигнал, а лампы аварийной сигнализации вспыхивают один раз (при блокировке) или два раза (при разблокировке). Кроме того, функция обратной связи приводится в действие, когда двери блокируются посредством функции автоматической повторной блокировки.
        Сигнализация*3

        При нажатии кнопки сигнализации на передатчике электронного ключа в сборе (электронном ключе) дольше примерно 0,8 с приводятся в действие следующие средства сигнализации:


        • включаются звуковой сигнал автомобиля в сборе и аварийная сирена в сборе;

        • мигают аварийные сигналы, фары и задние фонари;

        • Включается освещение салона (если выключатель находится в положении DOOR).

        Автоматическая повторная блокировка*1 Если ни одна из дверей не открывается в течение 27,5 с после разблокировки посредством функции дистанционной блокировки дверей, все двери автоматически блокируются вновь.
        Повтор Если дверь не блокируется в ответ на выполнение операции блокировки с помощью передатчика электронного ключа в сборе (электронного ключа), спустя примерно 1 с интегрированное реле выдает сигнал блокировки.
        Защита Сигнал запроса блокировки/разблокировки двери передается в виде непрерывно изменяющегося кода.
        Предупреждение о неплотно закрытой двери*1 Если какая-либо дверь открыта или закрыта неплотно, при нажатии кнопки блокировки на передатчике электронного ключа в сборе (электронном ключе) зуммер системы дистанционной блокировки дверей*3 включается примерно на 5 с.

        Tech Tips

        *1: Установку функции можно изменить с помощью системы настройки электрооборудования кузова.

        *2: для моделей с функцией обратной сигнализации с помощью зуммера системы дистанционной блокировки дверей

        *3: для моделей с функцией управления сигнализацией

    4. Переключение режима разблокировки при посадке


      1. Возможно переключение между следующими 4 режимами разблокировки системы посадки в соответствии с намерениями водителя:


        • Разблокировка двери водителя

        • Режим разблокировки смежной двери

        • Режим разблокировки отдельной двери

        • Режим разблокировки всех дверей

      2. Переключение режима разблокировки системы посадки производится, когда источник питания выключен, и контрольная лампа передатчика электронного ключа не горит. Располагаясь на расстоянии не более 1 м (3,3 фута) от автомобиля, нажмите и удерживайте в течение примерно 5 с кнопку блокировки и любую другую кнопку на передатчике электронного ключа в сборе (электронном ключе).

      3. Во время переключения режима разблокировки системы посадки зуммер системы дистанционной блокировки дверей*, мультиинформационный дисплей и многофункциональный зуммер в щитке приборов информируют водителя о текущем режиме разблокировки системы посадки.


        • *: кроме моделей для Китая

          A01GV0IE01
    5. Функция разблокировки системы посадки


      1. Когда передатчик электронного ключа в сборе находится в области действия, формируемой дверным генератором электронного ключа, захват наружной ручки двери водителя в сборе и касание встроенного сенсорного датчика приводит к разблокировке только двери водителя, а захват наружной ручки двери в сборе любого из пассажиров и касание встроенного сенсорного датчика приводит к разблокировке всех дверей. (режим двери водителя)

      2. Когда передатчик электронного ключа в сборе находится в области действия, формируемой дверным генератором электронного ключа, при захвате любой наружной ручки двери в сборе и касании встроенного датчика разблокировки разблокируются все двери. (режим всех дверей)

      3. Когда передатчик электронного ключа в сборе находится в области действия, формируемой дверным генератором электронного ключа, при захвате любой наружной ручки двери в сборе и касании встроенного сенсорного датчика разблокируются все двери на одной стороне. (режим разблокировки смежной двери)

      4. Когда передатчик электронного ключа в сборе находится в области действия, формируемой дверным генератором электронного ключа, при захвате любой наружной ручки двери в сборе и касании встроенного сенсорного датчика разблокируется только эта дверь. (режим разблокировки отдельной двери)

      5. После разблокировки всех дверей дважды звучит зуммер системы дистанционной блокировки дверей, и дважды мигают лампы аварийной сигнализации.


        • *: для моделей с функцией обратной сигнализации с помощью зуммера системы дистанционной блокировки дверей

        A01GUMTE01
        Обозначения на рисунке
        *1 Сенсорный датчик - -
    6. Функция блокировки системы посадки


      1. Когда передатчик электронного ключа в сборе находится в области действия, формируемой дверным генератором электронного ключа, нажатие выключателя блокировки на наружной ручке двери в сборе вызывает блокировку всех дверей.

      2. После блокировки всех дверей зуммер системы дистанционной блокировки дверей подает 1 звуковой сигнал*, чтобы подтвердить выполнение операции, и одновременно однократно мигают лампы аварийной сигнализации.


        • *: для моделей с функцией обратной сигнализации с помощью зуммера системы дистанционной блокировки дверей

        A01GUILE01
        Обозначения на рисунке
        *1 Выключатель блокировки - -
    7. Функция открывания двери багажного отделения системы посадки


      1. Когда передатчик электронного ключа в сборе находится в области действия, формируемой антенной электронного ключа (снаружи багажного отделения), нажатие выключателя электронного ключа багажного отделения приводит к открыванию двери багажного отделения.

        Tech Tips

        Когда все двери разблокированы, дверь багажного отделения может быть открыта даже при отсутствии передатчика электронного ключа в сборе нажатием переключателя электронного ключа багажного отделения.

    8. Функция обращения к памяти


      1. Функция обращения к памяти с использованием передатчика электронного ключа в сборе автоматически восстанавливает положение сиденья (посредством системы сохранения положения во время поездки), плечевого крепления ремня безопасности, наклонной телескопической рулевой колонки и наружных зеркал заднего вида на основании идентификационного кода передатчика электронного ключа в сборе, повышая комфорт водителя.

        Условие Описание
        Регистрация в памяти

        Идентификационный код ключа записывается, когда выполняются все следующие условия:


        • Выключатель питания находится в состоянии ON (ВКЛ) (IG).

        • Дверь водителя закрыта.

        • Переключатель M1, M2 или M3 (переключатель запоминающего устройства переднего сиденья) нажат и удерживается.

        • Кнопка разблокировки на передатчике электронного ключа в сборе нажимается и удерживается.

        Обращение к памяти Когда дверь водителя открывается после разблокировки посредством функции посадки или функции дистанционной блокировки дверей, приводится в действие функция обращения к памяти.
        Отмена обращения к памяти

        Когда выполняются все перечисленные ниже условия, обращение к памяти запрещается:


        • Выключатель питания находится в состоянии ON (ВКЛ) (IG).

        • Дверь водителя закрыта.

        • Переключатель SET (переключатель запоминающего устройства переднего сиденья) нажат и удерживается.

        • Кнопка разблокировки на передатчике электронного ключа в сборе нажимается и удерживается.

      2. Регистрация в памяти

        Шаг Работа системы
        (a) Если при выключенном питании и закрытой двери водителя нажимается переключатель (переключатель запоминающего устройства переднего сиденья) M1, M2 или M3, ЭБУ управления положением в сборе (сиденья водителя) переходит в режим регистрации идентификационного кода ключа (режим связывания).
        (b) Когда в этом состоянии нажимается кнопка разблокировки на передатчике электронного ключа в сборе, идентификационный код ключа передается из ЭБУ сертификации в ЭБУ управления положением в сборе (сиденья водителя).
        (c) ЭБУ управления положением в сборе (сиденья водителя) сохраняет идентификационный код ключа и положение сиденья водителя в памяти.
        (d) Когда ЭБУ управления положением в сборе (сиденья водителя) завершает запись в память, он подает 1 звуковой сигнал с помощью встроенного зуммера, подтверждая выполнение операции.
    9. Функция предупреждения


      1. В любой из перечисленных ниже ситуаций система посадки и запуска посредством ЭБУ сертификации включает многофункциональный зуммер в щитке приборов и зуммер системы дистанционной блокировки дверей*, а также отображает сообщение на мультиинформационном дисплее для предупреждения водителя.


        • *: кроме моделей для Китая

        Ситуация Условие
        А Когда водитель покидает автомобиль, рычаг переключения передач находится в положении, отличном от P.
        B Передатчик электронного ключа оставлен в автомобиле.
        C Когда водитель покидает автомобиль, рычаг переключения передач находится в положении P.
        D Дверь закрыта неплотно.
        E Любой пассажир выносит передатчик электронного ключа из автомобиля
        F Передатчик электронного ключа находится вне областей действия.
        G Передатчик электронного ключа оставлен в салоне.
        H Передатчик электронного ключа оставлен в багажном отделении.
        I Батарея передатчика электронного ключа в сборе оказывается разряженной.
        J Блокировка рулевого управления не выключается.
        K Механизм блокировки рулевого управления неисправен.
        L Главный ЭБУ кузова неисправен.
        M Отображается метод запуска гибридной системы.
      2. Ситуации A соответствуют 2 случая.

        Случай 1: Когда рычаг переключения передач находится в каком-либо положении, кроме P, водитель открывает дверь и пытается покинуть автомобиль. В данной ситуации выполняются следующие действия:

        Возможные последствия в отсутствие выдачи предупреждения Внезапное начало движения автомобиля, угон автомобиля, откат автомобиля
        Условие вывода предупреждения

        Предупреждение выдается при выполнении всех перечисленных ниже условий:


        • Источник питания находится в режиме, отличном от OFF (ВЫКЛ).

        • Рычаг переключения передач находится в любом положении, кроме P.

        • Скорость автомобиля равна 0 км/час (0 миль в час).

        • Открывание двери водителя

        Способ предупреждения Щиток приборов в сборе Многофункциональный зуммер Непрерывно издает звуковой сигнал
        Главная контрольная лампа аварийного состояния -
        Мультиинформационный дисплей

        Отображается следующее предупреждающее сообщение:


        • Shift to P range (установите рычаг переключения передач в положение P)

        Зуммер системы дистанционной блокировки дверей -
        Индикатор выключателя питания -
        Условие прекращения выдачи предупреждения

        Выдача предупреждения прекращается при выполнении любого из следующих условий:


        • Источник питания выключен.

        • Рычаг переключения передач установлен в положение P.

        • Скорость автомобиля превышает 0 км/час (0 миль в час).

        • Дверь водителя закрыта.

        Случай 2: В дополнение к условиям случая 1 водитель закрывает дверь и пытается оставить автомобиль, унося с собой передатчик электронного ключа в сборе. В указанных случаях выполняются следующие действия:

        Возможные последствия в отсутствие выдачи предупреждения Внезапное начало движения автомобиля, угон автомобиля, откат автомобиля
        Условие выдачи предупреждения

        Предупреждение выдается при выполнении всех перечисленных ниже условий.


        • Источник питания переводится в любой режим, кроме OFF (ВЫКЛ).

        • Передатчик электронного ключа в сборе не может быть обнаружен в салоне автомобиля.

        • Рычаг переключения передач находится в любом положении, кроме P.

        • Закрывается открытая дверь водителя.

        • Скорость автомобиля равна 0 км/час (0 миль в час).

        Способ предупреждения Щиток приборов в сборе Многофункциональный зуммер Непрерывно издает звуковой сигнал
        Главная контрольная лампа аварийного состояния Мигает
        Мультиинформационный дисплей

        Попеременно отображаются следующие предупреждающие сообщения:


        • Shift to P range (установите рычаг переключения передач в положение P)

        • Key is not detected (ключ не обнаружен)

        Экран рекомендаций Check key position (проверьте местонахождение ключа)
        Зуммер системы дистанционной блокировки дверей* Непрерывно издает звуковой сигнал
        Индикатор выключателя питания -
        Условие прекращения выдачи предупреждения

        Выдача предупреждения прекращается при выполнении любого из следующих условий:


        • Источник питания выключен (режим OFF (ВЫКЛ)).

        • Передатчик электронного ключа в сборе обнаруживается в салоне автомобиля (на мультиинформационном дисплее отображается только "Shift to P range").

        • Скорость автомобиля становится выше 0 км/час (0 миль в час) (на мультиинформационном дисплее отображается только "Key is not Detected" (ключ не обнаружен)).


        • *: кроме моделей для Китая

      3. Ситуации B соответствуют 2 случая.

        Случай 1: Когда дверь водителя открыта, водитель изменяет режим источника питания на ACC и пытается выйти из автомобиля.

        Случай 2: Когда дверь водителя открыта, водитель изменяет режим источника питания с ON (ВКЛ) на OFF (ВЫКЛ) и пытается выйти из автомобиля.

        В указанных случаях выполняются следующие действия:

        Возможные последствия при отсутствии предупреждения Угон автомобиля
        Условие выдачи предупреждения

        Предупреждение выдается при выполнении одного из следующих условий:


        • Источник питания работает в режиме ON (ВКЛ) (ACC), и дверь водителя открыта.

        • Режим источника питания OFF (ВЫКЛ), рулевое управление разблокировано, и дверь со стороны водителя открыта.

        Способ предупреждения Щиток приборов в сборе Многофункциональный зуммер Продолжает звучать через короткие и равные интервалы
        Главная контрольная лампа аварийного состояния -
        Мультиинформационный дисплей -
        Экран рекомендаций -
        Зуммер системы дистанционной блокировки дверей -
        Индикатор выключателя питания -
        Условие прекращения выдачи предупреждения

        Выдача предупреждения прекращается при выполнении любого из следующих условий:


        • Режим источника питания - ON (ВКЛ) (IG).

        • Дверь водителя закрыта.

        • Рулевое управление блокируется, и источник питания выключен (режим OFF (ВЫКЛ)).

      4. Ситуации C соответствуют 2 случая.

        Случай 1: Когда рычаг переключения передач находится в положении P, и гибридная система работает, водитель закрывает дверь водителя и пытается покинуть автомобиль, унося передатчик электронного ключа. В данной ситуации выполняются следующие действия:

        Возможные последствия в отсутствие выдачи предупреждения Угон автомобиля, гибридная система не сможет быть запущена заново, разряд аккумуляторной батареи
        Условие вывода предупреждения

        Предупреждение выдается при выполнении всех перечисленных ниже условий:


        • Источник питания находится в режиме, отличном от OFF (ВЫКЛ).

        • Рычаг переключения передач находится в положении P.

        • Передатчик электронного ключа в сборе не может быть обнаружен в салоне автомобиля.

        • Закрывается открытая дверь водителя.

        Способ предупреждения Щиток приборов в сборе Многофункциональный зуммер Подает 1 звуковой сигнал
        Главная контрольная лампа аварийного состояния Мигает
        Мультиинформационный дисплей

        Отображается следующее предупреждающее сообщение:


        • Key is not detected (ключ не обнаружен)

        Экран рекомендаций Check key position (проверьте местонахождение ключа)
        Зуммер системы дистанционной блокировки дверей* Подает 3 звуковых сигнала
        Индикатор выключателя питания -
        Условие прекращения выдачи предупреждения

        Выдача предупреждения прекращается при выполнении любого из следующих условий:


        • Источник питания выключен.

        • Передатчик электронного ключа в сборе не может быть обнаружен в салоне автомобиля.


        • *: кроме моделей для Китая

        Случай 2: В дополнение к условиям случая 1, водитель нажимает выключатель блокировки на наружной ручке двери. В указанных случаях выполняются следующие действия:

        Возможные последствия при отсутствии предупреждения Угон автомобиля, разряд аккумуляторной батареи
        Состояние предупреждения

        Предупреждение выдается при выполнении всех перечисленных ниже условий.


        • Источник питания переводится в любой режим, кроме OFF (ВЫКЛ).

        • Рычаг переключения передач находится в положении P.

        • Все двери закрыты.

        • Ключ находится вне автомобиля (в пределах одной из областей действия).

        • Выключатель блокировки нажат.

        Способ предупреждения Щиток приборов в сборе Многофункциональный зуммер -
        Главная контрольная лампа аварийного состояния -
        Мультиинформационный дисплей -
        Экран рекомендаций -
        Зуммер системы дистанционной блокировки дверей* Звучит в течение 60 с
        Индикатор выключателя питания -
        Условие прекращения выдачи предупреждения

        Выдача предупреждения прекращается при выполнении любого из следующих условий:


        • Передатчик электронного ключа в сборе оказывается вне областей действия при выключенном источнике питания.

        • Передатчик электронного ключа в сборе не может быть обнаружен в салоне автомобиля.


        • *: кроме моделей для Китая

      5. Ситуация D

        Нажат выключатель блокировки на наружной ручке двери для выполнения функции блокировки системы посадки, когда одна из дверей открыта. В данной ситуации выполняются следующие действия:

        Возможные последствия в отсутствие выдачи предупреждения Угон автомобиля
        Состояние предупреждения

        Предупреждение выдается при выполнении всех перечисленных ниже условий.


        • Источник питания выключен (режим OFF (ВЫКЛ)).

        • Какая-либо из дверей открыта.

        • Выключатель блокировки нажат.

        Способ предупреждения Щиток приборов в сборе Многофункциональный зуммер -
        Главная контрольная лампа аварийного состояния -
        Мультиинформационный дисплей -
        Экран рекомендаций -
        Зуммер системы дистанционной блокировки дверей* Звуковой сигнал издается в течение 5 с
        Индикатор выключателя питания -
        Условие прекращения выдачи предупреждения

        Выдача предупреждения прекращается при выполнении любого из следующих условий:


        • Источник питания переводится в любой режим, кроме OFF (ВЫКЛ).

        • Двери разблокируются посредством функции дистанционной блокировки дверей.

        • Выполняется операция разблокировки системой посадки.

        • Все двери закрыты.

        • Приблизительно 5 секунд с момента начала выдачи предупреждения.


        • *: кроме моделей для Китая

      6. Ситуация E

        Пассажир покидает автомобиль при работающей гибридной системе, унося с собой передатчик электронного ключа. В данной ситуации выполняются следующие действия:

        Возможные последствия в отсутствие выдачи предупреждения Гибридная система не сможет быть запущена заново.
        Состояние предупреждения

        Предупреждение выдается при выполнении всех перечисленных ниже условий.


        • Источник питания переводится в любой режим, кроме OFF (ВЫКЛ).

        • Закрывается какая-либо дверь помимо двери водителя, которая была открыта (за исключением двери багажного отделения).

        • Передатчик электронного ключа в сборе не может быть обнаружен в салоне автомобиля.

        • Скорость автомобиля равна 0 км/час (0 миль в час).

        Способ предупреждения Щиток приборов в сборе Многофункциональный зуммер Подает 1 звуковой сигнал
        Главная контрольная лампа аварийного состояния Мигает
        Мультиинформационный дисплей

        Отображается следующее предупреждающее сообщение:


        • Key is not detected (ключ не обнаружен)

        Экран рекомендаций -
        Зуммер системы дистанционной блокировки дверей* Звуковой сигнал издается в течение 3 с
        Индикатор выключателя питания -
        Условие прекращения выдачи предупреждения

        Выдача предупреждения прекращается при выполнении любого из следующих условий:


        • Источник питания выключен (режим OFF (ВЫКЛ)).

        • Скорость автомобиля превышает 0 км/час (0 миль в час).

        • Передатчик электронного ключа в сборе не может быть обнаружен в салоне автомобиля.


        • *: кроме моделей для Китая

      7. Ситуация F

        Водитель пытается запустить гибридную систему или установить режим питания ON (ВКЛ) (IG), в то время как передатчик электронного ключа в сборе отсутствует в салоне или батарея передатчика электронного ключа в сборе разряжена. В данной ситуации выполняются следующие действия:

        Возможные последствия в отсутствие выдачи предупреждения Угон автомобиля
        Состояние предупреждения

        Предупреждение выдается при выполнении всех перечисленных ниже условий.


        • Выключатель питания нажат.

        • Передатчик электронного ключа в сборе не может быть обнаружен в салоне автомобиля.

        Способ предупреждения Щиток приборов в сборе Многофункциональный зуммер Подает 1 звуковой сигнал
        Главная контрольная лампа аварийного состояния Мигает
        Мультиинформационный дисплей

        Отображается следующее предупреждающее сообщение:


        • Key is not detected (ключ не обнаружен)

        Экран рекомендаций Check key position (проверьте местонахождение ключа)
        Зуммер системы дистанционной блокировки дверей -
        Индикатор выключателя питания -
        Условие прекращения выдачи предупреждения Если передатчик электронного ключа в сборе находится в области обнаружения, нажмите кнопку передатчика электронного ключа в сборе и убедитесь, что индикатор включается. Если индикатор не включается, замените батарею передатчика электронного ключа в сборе новой.
      8. Ситуация G

        Выключатель блокировки на наружной ручке двери нажимается для выполнения блокировки посредством системы посадки, когда передатчик электронного ключа находится в салоне. В данной ситуации выполняются следующие действия:

        Возможные последствия в отсутствие выдачи предупреждения Угон автомобиля
        Состояние предупреждения

        Предупреждение выдается при выполнении всех перечисленных ниже условий.


        • Источник питания выключен (режим OFF (ВЫКЛ)).

        • Все двери закрыты.

        • Передатчик электронного ключа в сборе не может быть обнаружен в салоне автомобиля.

        • Выключатель блокировки нажат.

        Способ предупреждения Щиток приборов в сборе Многофункциональный зуммер -
        Главная контрольная лампа аварийного состояния -
        Мультиинформационный дисплей -
        Экран рекомендаций -
        Зуммер системы дистанционной блокировки дверей* Звучит в течение 2 с
        Индикатор выключателя питания -
        Условие прекращения выдачи предупреждения Передатчик электронного ключа в сборе выносится из салона, и выключатель блокировки на наружной ручке двери в сборе нажимается снова.

        • *: кроме моделей для Китая

      9. Ситуация Н

        Дверь багажного отделения закрывается с помощью передатчика электронного ключа в сборе, находящегося внутри багажного отделения. В данной ситуации выполняются следующие действия:

        Возможные последствия в отсутствие выдачи предупреждения Предотвращение запирания ключа
        Состояние предупреждения

        Предупреждение выдается при выполнении всех перечисленных ниже условий.


        • Скорость автомобиля равна 0 км/час (0 миль в час).

        • Все двери закрыты.

        • Функция открывания двери багажного отделения действует.

        Способ предупреждения Щиток приборов в сборе Многофункциональный зуммер -
        Главная контрольная лампа аварийного состояния -
        Мультиинформационный дисплей -
        Экран рекомендаций -
        Зуммер системы дистанционной блокировки дверей* Звучит в течение 2 с
        Индикатор выключателя питания -
        Условие прекращения выдачи предупреждения Дверь багажного отделения открывается с помощью функции открывания двери багажного отделения системы посадки, а передатчик электронного ключа в сборе выносится из багажного отделения.

        • *: кроме моделей для Китая

      10. Ситуация I

        Батарея передатчика электронного ключа в сборе оказывается разряженной. В данной ситуации выполняются следующие действия:

        Возможные последствия в отсутствие выдачи предупреждения Неработоспособное состояние системы посадки и запуска
        Условие вывода предупреждения

        Предупреждение выдается при выполнении всех перечисленных ниже условий:


        • После непрерывной работы в режиме ON (ВКЛ) (IG) в течение примерно 20 мин или более источник питания выключается (переводится в режим OFF (ВЫКЛ)).

        • Батарея передатчика электронного ключа в сборе разряжена.

        • Передатчик электронного ключа в сборе не может быть обнаружен в салоне автомобиля.

        • Скорость автомобиля равна 0 км/час (0 миль в час).

        Или при выполнении всех следующих условий:


        • Источник питания переведен из выключенного состояния в режим ON (ВКЛ) (IG), и гибридная система работает.

        • Батарея передатчика электронного ключа в сборе разряжена.

        • Передатчик электронного ключа в сборе не может быть обнаружен в салоне автомобиля.

        • Скорость автомобиля равна 0 км/час (0 миль в час).

        • Были выданы предупреждения, относящиеся к ситуации I.

        Способ предупреждения Щиток приборов в сборе Многофункциональный зуммер Подает 1 звуковой сигнал
        Главная контрольная лампа аварийного состояния Мигает
        Мультиинформационный дисплей

        Отображается следующее предупреждающее сообщение:


        • Low Key Battery (низкое напряжение батареи ключа)

        Экран рекомендаций Have your vehicle checked by a dealer (проверьте автомобиль у дилера)
        Зуммер системы дистанционной блокировки дверей -
        Индикатор выключателя питания -
        Условие прекращения выдачи предупреждения Батарея передатчика электронного ключа в сборе заменяется новой.
      11. Ситуация J

        Блокировка рулевого управления не отключается В данной ситуации выполняются следующие действия:

        Возможные последствия без предупреждения Функция удобства использования рулевого управления
        Условие выдачи предупреждения Блокировка рулевого управления не снимается при выполнении операции разблокировки, что препятствует запуску гибридной системы.
        Способ предупреждения Щиток приборов в сборе Многофункциональный зуммер -
        Главная контрольная лампа аварийного состояния Мигает
        Мультиинформационный дисплей

        Отображается следующее предупреждающее сообщение:


        • Steering Lock is still active (блокировка рулевого управления по-прежнему включена)

        Экран рекомендаций Push the power switch while turning the steering wheel in either direction (нажмите на выключатель питания, поворачивая рулевое колесо в любом направлении)
        Зуммер системы дистанционной блокировки дверей -
        Индикатор выключателя питания Зеленый индикатор мигает с интервалом в 1 секунду (и автоматически гаснет через 15 секунд).
        Условие прекращения вывода предупреждения Выключатель питания нажат, когда рулевое колесо поворачивается влево и вправо, и блокировка рулевого колеса успешно снята.
      12. Ситуация K

        Обнаружена неисправность ЭБУ блокировки рулевого управления. В данной ситуации выполняются следующие действия:

        Возможные последствия в отсутствие выдачи предупреждения Обнаружение неисправности
        Условие выдачи предупреждения Обнаружена неисправность ЭБУ блокировки рулевого управления.
        Способ предупреждения Щиток приборов в сборе Многофункциональный зуммер -
        Главная контрольная лампа аварийного состояния Мигает
        Мультиинформационный дисплей

        Отображается следующее предупреждающее сообщение:


        • Check Steering Lock System (проверьте систему блокировки рулевого управления)

        Экран рекомендаций Have your vehicle checked by a dealer (проверьте автомобиль у дилера)
        Зуммер системы дистанционной блокировки дверей -
        Индикатор выключателя питания Желтый индикатор мигает с интервалом в 2 секунды.
        Условие прекращения вывода предупреждения ЭБУ блокировки рулевого управления возвращается в нормальный режим работы.
      13. Ситуация L

        Обнаружена неисправность главного ЭБУ кузова. В данной ситуации выполняются следующие действия:

        Возможные последствия в отсутствие выдачи предупреждения Обнаружение неисправности
        Условие выдачи предупреждения Обнаружена неисправность главного ЭБУ кузова.
        Способ предупреждения Щиток приборов в сборе Многофункциональный зуммер -
        Главная контрольная лампа аварийного состояния -
        Мультиинформационный дисплей -
        Зуммер системы дистанционной блокировки дверей -
        Индикатор выключателя питания Желтый индикатор мигает с интервалом в 2 секунды.
        Условие прекращения вывода предупреждения Восстанавливается нормальное состояние главного ЭБУ кузова.
      14. Ситуация M

        На щитке приборов появляется предупреждающее сообщение, если водитель при запуске двигателя не следует надлежащей процедуре. В данной ситуации выполняются следующие действия:

        Возможные последствия в отсутствие выдачи предупреждения Функция удобства использования
        Состояние предупреждения

        Предупреждение выдается при выполнении всех перечисленных ниже условий.


        • Источник питания переводится в любой режим, кроме ON (ВКЛ) (IG).

        • Какая-либо из дверей открыта.

        • Источник питания более одного раза переключается из режима OFF (ВЫКЛ) в режим ON (ВКЛ) (ACC) при выключенной гибридной системе и ненажатой педали тормоза.

        Способ предупреждения Щиток приборов в сборе Многофункциональный зуммер -
        Главная контрольная лампа аварийного состояния -
        Мультиинформационный дисплей

        Отображается следующее предупреждающее сообщение:


        • To start, depress the brake pedal, and push the power switch (для запуска удерживайте педаль тормоза и нажмите выключатель питания)

        Экран рекомендаций A01GUQH
        Зуммер системы дистанционной блокировки дверей -
        Индикатор выключателя питания -
        Условие прекращения выдачи предупреждения

        Выдача предупреждения прекращается при выполнении любого из следующих условий:


        • Истекло 10 секунд с момента выдачи предупредительного сообщения.

        • Выключатель питания нажат при нажатой педали тормоза или при выключенном питании.

    10. Функция энергосбережения аккумуляторной батареи


      1. Экономия энергии аккумуляторной батареи автомобиля


        • Когда двери заблокированы, сигналы в системе посадки и запуска передаются за пределы автомобиля с заданным интервалом (250 мс) . Таким образом, при нахождении автомобиля на стоянке в течение длительного времени аккумуляторная батарея может разрядиться. Поэтому система выполняет следующие операции:

          Условие Управление
          Ответный сигнал от ключа отсутствует в течение 10–14 дней. Интервал передачи сигналов увеличивается с 250 мс до 750 мс.
          Ответный сигнал от ключа отсутствует в течение 15–30 дней. Интервал передачи сигналов увеличивается с 750 мс до 2250 мс.
          Ответный сигнал от ключа не поступает более 31 суток. Система посадки и запуска автоматически выключена.
        • Условия возвращения в исходное состояние


          • Поступает сигнал системы дистанционной блокировки дверей, и идентификационный код совпадает.

          • Пользователь, имеющий при себе передатчик электронного ключа в сборе, нажимает на выключатель блокировки на наружной ручке двери в сборе.

          • Дверь запирается или отпирается механическим ключом.

      2. Функция энергосбережения батареи передатчика электронного ключа в сборе и аккумуляторной батареи автомобиля


        • Когда передатчик электронного ключа в сборе постоянно находится в области действия дверей снаружи автомобиля, в системе запуска и посадки осуществляется периодический обмен данными с передатчиком электронного ключа в сборе. Поэтому, если автомобиль остается припаркованным в данном состоянии в течение длительного времени, батарея передатчика ключа и аккумуляторная батарея автомобиля могут разрядиться. По этой причине система посадки и запуска автоматически отключается, если данное состояние длится дольше 10 минут.

        • Условия возвращения в исходное состояние


          • Поступает сигнал системы дистанционной блокировки дверей, и идентификационный код совпадает.

          • Пользователь, имеющий при себе передатчик электронного ключа в сборе, нажимает на выключатель блокировки на наружной ручке двери в сборе.

          • Дверь запирается или отпирается механическим ключом.

    11. Функция отмены действия ключа


      1. Отмена ключа возможна при выполнении определенных операций, когда автомобиль находится в следующем состоянии:


        • Источник питания выключен (режим OFF (ВЫКЛ)).

        • Дверь водителя закрыта.

        • Дверь водителя разблокирована.

      2. Порядок выполнения операций:

        Порядок отмены действия ключа
        1. Выполните разблокировку, однократно нажав кнопку разблокировки передатчика электронного ключа.

        2. В течение 5 с откройте дверь водителя.

        3. Дважды в течение 5 с произведите разблокировку с помощью кнопки разблокировки на передатчике электронного ключа в сборе.

        4. Откройте → закройте дверь со стороны водителя дважды в течение 30 секунд и снова откройте дверь. (Дверь водителя: Открыть → Закрыть → Открыть → Закрыть → Открыть)

        5. Дважды в течение 30 с произведите разблокировку с помощью кнопки разблокировки на передатчике электронного ключа в сборе.

        6. Откройте → закройте дверь со стороны водителя один раз в течение 30 секунд и снова откройте дверь. (Дверь водителя: Открыть → Закрыть → Открыть)

        7. Закройте дверь со стороны водителя в течение 5 секунд.

        В случае отмены действия ключа дважды звучит зуммер системы дистанционной блокировки дверей.* Чтобы вернуться к исходному состоянию, снова повторите все действия. По возвращении кнопки отмены действия ключа в исходное состояние зуммер системы дистанционной блокировки дверей подает один звуковой сигнал.


        • *: кроме моделей для Китая

    12. Функция регистрации кода ключа


      1. В приведенной ниже таблице рассмотрены 4 режима функции регистрации идентификационного кода, позволяющие зарегистрировать до 7 различных кодов. Коды регистрируются (записываются и хранятся) в электрически стираемом программируемом ПЗУ. Подробную информацию см. в бюллетене технического обслуживания.

        Режим Функция
        Перезапись Удаление всех ранее зарегистрированных кодов и регистрация только вновь полученных кодов. Этот режим используется всякий раз, когда заменяется передатчик электронного ключа в сборе или интегрированное реле.
        Добавление Добавление вновь полученного кода при сохранении ранее зарегистрированных кодов. Этот режим используется при добавлении нового передатчика электронного ключа в сборе. Если количество кодов превышает 7, первым стирается код, зарегистрированный раньше остальных.
        Подтверждение Позволяет узнать, сколько кодов зарегистрировано в настоящее время. При добавлении нового кода этот режим дает возможность проверить, сколько кодов уже зарегистрировано.
        Запрет Удаление всех зарегистрированных кодов и запрет работы функции дистанционной блокировки дверей. Этот режим используется в случае утери передатчика электронного ключа.
  4. КОНСТРУКЦИЯ


    1. Передатчик электронного ключа в сборе (электронный ключ)


      1. Передатчик электронного ключа в сборе (электронный ключ) содержит механический ключ, передатчик системы дистанционного управления замками дверей и приемопередатчик системы посадки и запуска.

      2. Приемопередатчик системы посадки и запуска принимает сигналы от антенн электронного ключа и передает идентификационный код в приемник системы дистанционной блокировки дверей.

      3. Передатчик электронного ключа в сборе для системы дистанционной блокировки дверей имеет кнопку блокировки, кнопку разблокировки, кнопку открывания двери багажного отделения и кнопку сигнализации.*


        • *: для моделей с функцией управления сигнализацией

      4. Механический ключ позволяет открыть дверь водителя, однако с его помощью нельзя запустить гибридную систему.

        A01GV1TE01
        Обозначения на рисунке
        *A для моделей с функцией сигнализации - -
        *1 Кнопка блокировки *2 Кнопка разблокировки
        *3 Кнопка открывания двери багажного отделения *4 Кнопка тревоги
        *5 Механический ключ - -
    2. Передатчик электронного ключа в сборе (ключ-карта)


      1. Передатчик электронного ключа в сборе (ключ-карта) состоит из механического ключа и приемопередатчика системы посадки и запуска.

      2. Приемопередатчик системы посадки и запуска принимает сигналы от антенн электронного ключа и передает идентификационный код в приемник системы дистанционной блокировки дверей.

      3. Механический ключ позволяет открыть дверь водителя, однако с его помощью нельзя запустить гибридную систему.

        A01GUH5E01
        Обозначения на рисунке
        *1 Механический ключ - -
    3. Выключатель питания


      1. Выключатель питания содержит переключатель без фиксации положения, индикатор (желтый и зеленый светодиоды), лампу подсветки, антенную катушку и усилитель электронного ключа зажигания.

      2. Водитель может определить текущий режим источника питания и то, запущена ли гибридная система, по состоянию индикатора.

      3. Когда главный ЭБУ кузова обнаруживает неисправность системы ограничения доступа с кнопочным запуском, он включает контрольную лампу (желтого цвета) в мигающем режиме. Если система управления гибридной системой будет остановлена в этом состоянии, ее повторный запуск может стать невозможным.

        A01GUYLE01
        Режим/состояние источника питания Состояние индикатора
        Педаль тормоза не нажата Педаль тормоза нажата, рычаг переключения передач в положении P
        Выкл Выкл ON (ВКЛ) (зеленый)
        ON (ВКЛ) (ACC), ON (ВКЛ) (IG) ON (ВКЛ) (желтый) ON (ВКЛ) (зеленый)
        Гибридная система работает Выкл Выкл
        Рулевое управление не разблокировано Мигает (зеленым светом) в течение 15 с Мигает (зеленым светом) в течение 15 с
        Неисправность в системе посадки и запуска Мигает (желтым светом) в течение 15 с Мигает (желтым светом) в течение 15 с
    4. Главный ЭБУ кузова


      1. Главный ЭБУ кузова содержит цепи включения реле IG1 и IG2, главный процессор и цепь фиксации.

      2. Цепь фиксации предназначена для предотвращения отсечки подачи питания к реле при возникновении неисправностей в цепи включения реле IG1 и/или IG2 во время движения.

        A01GUKVE01

        Tech Tips

        Главный ЭБУ кузова постоянно сохраняет текущий режим источника питания в памяти.

        Таким образом, если питание главного ЭБУ кузова прерывается вследствие отсоединения аккумуляторной батареи, он восстанавливает режим источника питания после подсоединения аккумуляторной батареи.

        Соответственно, если при снятии аккумуляторной батареи выключатель питания находится в каком-либо положении, кроме OFF (ВЫКЛ), питание автомобиля восстанавливается одновременно с восстановлением питания главного ЭБУ кузова (при подсоединении аккумуляторной батареи).

        По этой причине перед снятием или отсоединением аккумуляторной батареи необходимо всегда выключать питание.

  5. ДИАГНОСТИКА


    1. Когда выключатель питания находится в состоянии ON (ВКЛ) (IG), главный ЭБУ кузова может выявлять неисправности в системе посадки и запуска.

    2. Когда ЭБУ регистрируют неисправность, для предупреждения водителя начинает мигать желтая контрольная лампа выключателя питания. Одновременно ЭБУ сохраняют в своей памяти 5-значный диагностический код неисправности (DTC).

    3. Контрольная лампа продолжает выдавать предупреждение в течение 15 с даже после выключения питания.

    4. 5-значные коды DTC можно считать, подключив прибор Global TechStream (GTS) к DLC3.

    5. При наличии неисправности система посадки и запуска не может работать нормально.