СИСТЕМА РУЛЕВОЙ КОЛОНКИ ДЕТАЛЬНОЕ ОПИСАНИЕ


  1. НАЗНАЧЕНИЕ ОСНОВНЫХ УСТРОЙСТВ

    Устройство Функция
    Наклонный рулевой механизм с электродвигателем в сборе Электродвигатель наклона и электродвигатель телескопического изменения высоты Регулируют положение наклонного рулевого механизма с электродвигателем в сборе в соответствии с сигналами напряжения от мультиплексного ЭБУ регулировки наклона и телескопического изменения высоты.
    Датчик наклона и датчик телескопической длины Регистрируют сигналы вращения электродвигателей наклона и телескопического изменения высоты и передают их в мультиплексный ЭБУ регулировки наклона и телескопического изменения высоты.
    Переключатель регулировки наклона и телескопического изменения высоты Передает сигнал состояния переключателя в мультиплексный ЭБУ регулировки наклона и телескопического изменения высоты.
    Мультиплексный ЭБУ регулировки наклона и телескопического изменения высоты Определяет положение и рабочее состояние по сигналам от датчика положения, переключателя регулировки наклона и телескопического изменения высоты и сети CAN, а также управляет электродвигателями наклона и телескопического изменения высоты.
    Переключатель электропривода переднего сиденья (со стороны водителя)
    • Управляет функцией автоматического отвода и автоматического возврата.

    • Сохраняет в памяти и считывает из памяти положения сиденья в соответствии с состоянием переключателя запоминающего устройства сиденья.

    ЭБУ передней двери сети мультиплексной связи (со стороны водителя) Передает сигнал переключателя запоминающего устройства в переключатель электропривода сиденья водителя.
    Центральный блок управления системы SRS Передает сигнал состояния выключателя пряжки ремня безопасности сиденья водителя (со стороны водителя) в мультиплексный ЭБУ регулировки наклона и телескопического изменения высоты.
    Главный ЭБУ кузова (распределительный блок со стороны водителя) Передает сигнал выключателя питания (нажимного пускового переключателя) в мультиплексный ЭБУ регулировки наклона и телескопического изменения высоты.
  2. УПРАВЛЕНИЕ В СИСТЕМЕ


    1. Электроприводная система регулировки наклона и телескопического изменения высоты выполняет следующие функции:

      Функция управления Описание
      Ручная регулировка Наклон и степень выдвижения телескопического механизма можно отрегулировать с помощью переключателя наклона и телескопического изменения высоты.
      Автоматическая регулировка Автоматический отвод Если при выходе из автомобиля питание (нажимной выключатель) выключено, и ремень безопасности водителя отстегнут, рулевое колесо переместится в крайнее верхнее наклонное положение и полностью вдвинется телескопическим механизмом.
      Автоматический возврат При посадке в автомобиль, когда включается питание (нажимной выключатель) (IG), или пристегивается ремень безопасности водителя, рулевое колесо возвращается в положение, в котором оно было до выполнения автоматического отвода (положение в памяти блока управления регулировки наклона и телескопического изменения высоты).
      Функция запоминания положения Эта функция сохраняет положение сиденья водителя, а также наклон и телескопическую длину рулевой колонки. Можно сохранять и в последующем восстанавливать до трех положений. 3 положения можно сохранять для переключателя запоминающего устройства.
  3. КОНСТРУКЦИЯ


    1. Наклонный рулевой механизм с электродвигателем в сборе


      1. Наклонный рулевой механизм с электродвигателем в сборе состоит из главного вала рулевого управления, электродвигателя наклона, электродвигателя телескопического изменения высоты и мультиплексного ЭБУ регулировки наклона и телескопического изменения высоты.

        A01GUHZE01
        Обозначения на рисунке
        *1

        Электродвигатель наклона

        - Датчик наклона

        *2

        Электродвигатель телескопического изменения высоты

        - Датчик телескопической длины

        *3 Мультиплексный ЭБУ регулировки наклона и телескопического изменения высоты - -
        *a Вид сверху *b Вид снизу
    2. Система регулировки наклона и телескопического изменения высоты с электроприводом


      1. Этот механизм обеспечивает плавную регулировку и позволяет наклонять рулевую колонку на угол 15,3° по вертикали и выдвигать на 50,0 мм (1,97 дюйма) в продольном направлении.

        A01GUY4E01
        Обозначения на рисунке
        *a Механизм регулировки наклона *b Телескопический механизм
    3. Травмобезопасный механизм


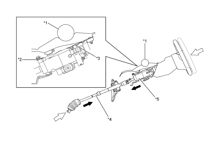
      1. Травмобезопасный механизм состоит, прежде всего, из разрывной скобы, амортизирующей пластины, промежуточного вала рулевого управления № 2 в сборе и трубки рулевой колонки. Наклонный рулевой механизм с электродвигателем в сборе закреплен на усилении панели приборов с помощью разрывной скобы. Наклонный рулевой механизм с электродвигателем в сборе и тяга рулевого управления с усилителем в сборе соединяются сжимающимся промежуточным валом рулевого управления № 2 в сборе.

        A01GV3NE01
        Обозначения на рисунке
        *1 Усиление панели приборов *2 Разрывная скоба
        *3 Амортизирующая пластина *4 Промежуточный вал № 2 рулевого управления в сборе
        *5 Труба рулевой колонки - -
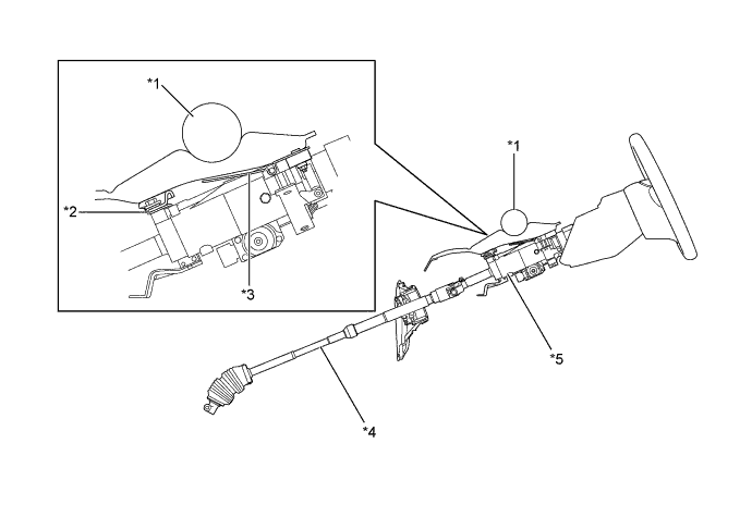
      2. Перемещение тяги рулевого управления с усилителем в сборе во время столкновения (первичное столкновение) приводит к сжиманию промежуточного вала рулевого управления № 2 в сборе, что препятствует выдвижению наклонного рулевого механизм с электроусилителем в сборе и рулевого колеса в салон.

      3. Когда при столкновении на рулевую колонку передается энергия удара (вторичное столкновение), рулевое колесо и подушка безопасности водителя амортизируют этот удар.

      4. Амортизирующая пластина деформируется, и трубка рулевой колонки сжимается.

        A01GURME01
        Обозначения на рисунке
        *1 Усиление панели приборов *2 Разрывная скоба
        *3 Амортизирующая пластина *4 Промежуточный вал № 2 рулевого управления в сборе
        *5 Труба рулевой колонки - -
        A01GURA Удар A01GUSE Сжатие
  4. Функция работы в аварийном режиме


    1. Когда мультиплексный ЭБУ регулировки наклона и телескопического изменения высоты обнаруживает неисправность в системе регулировки наклона и телескопического изменения высоты с электроприводом, ЭБУ переходит в аварийный режим управления и выполняет следующие действия:

      Неисправность Действия в аварийном режиме
      Неверный сигнал подтверждения кода ключа Функция автоматического отвода или возврата прекращает работу.
      Неисправность в цепи датчика наклона или электродвигателя наклона Функция наклона приостанавливает работу.
      Неисправность в цепи датчика телескопической длины или электродвигателя телескопического изменения высоты Функция телескопического изменения высоты приостанавливает работу.
      Неисправность в цепи питания ЭБУ Функции наклона и телескопического изменения высоты приостанавливают работу.
    2. В случае нарушения обмена данными с ЭБУ, связанным с мультиплексным ЭБУ регулировки наклона и телескопического изменения высоты и системой регулировки наклона и телескопического изменения высоты с электроприводом, эта система разрешает продолжение работы следующих функций управления:

      Управление ЭБУ, с которым нарушен обмен данными
      Главный ЭБУ кузова (распределительный блок со стороны водителя) Переключатель регулировки наклона и телескопического изменения высоты Переключатель электропривода переднего сиденья (со стороны водителя) Все связанные с системой ЭБУ
      Ручная регулировка X* X X*
      Автоматический отвод X X
      Автоматический возврат X X
      Функция запоминания положения X X X

      Tech Tips

      *: Действие разрешено, если при прерывании сигнала от главного ЭБУ кузова (распределительного блока со стороны водителя) выключатель питания (нажимной пусковой переключатель) включен (ACC или IG). Действие запрещено, если при прерывании сигнала от главного ЭБУ кузова (распределительного блока со стороны водителя) выключатель питания (нажимной пусковой переключатель) выключен.

  5. ДИАГНОСТИКА


    1. Когда мультиплексный ЭБУ регулировки наклона и телескопического изменения высоты обнаруживает неисправность в системе регулировки наклона и телескопического изменения высоты с электроприводом, он сохраняет информацию об этом в памяти. Подключив Global TechStream (GTS) к контактам DLC3, можно считать коды DTC (диагностические коды неисправностей) и выполнить активную диагностику электродвигателей наклона и телескопического изменения высоты для проверки их работоспособности. Более подробную информацию см. в руководстве по ремонту.