| *A | Models with Smart Entry and Start System | *B | AWD Models |
| *C | Models with Automatic High Beam System | - | - |
| *1 | ECM | *2 | SKID CONTROL ECU (BRAKE ACTUATOR ASSEMBLY) |
| *3 | TCM | *4 | AIR CONDITIONING AMPLIFIER ASSEMBLY |
| *5 | POWER MANAGEMENT CONTROL ECU | *6 | MAIN BODY ECU (DRIVER SIDE JUNCTION BLOCK ASSEMBLY) |
| *7 | 4WD ECU ASSEMBLY | *8 | AFS ECU (HEADLIGHT SWIVEL ECU ASSEMBLY) |
| *9 | CERTIFICATION ECU (SMART KEY ECU ASSEMBLY) | - | - |
| *a | Refer to Service Bulletin for the installation position of the parts. | - | - |
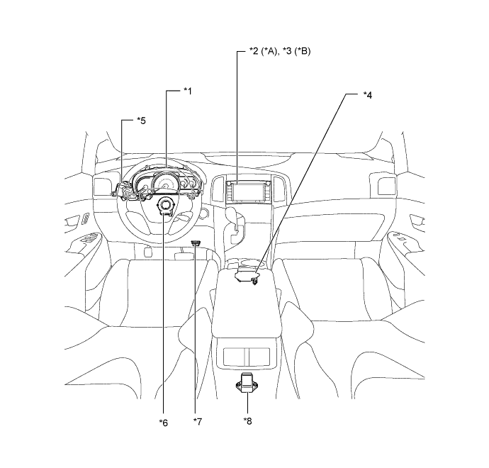
| *A | Models with Touch Screen System or Display Audio System | *B | Models with Navigation System |
| *C | Models with Smart Entry and Start System | - | - |
| *1 | COMBINATION METER ASSEMBLY | *2 | RADIO AND DISPLAY RECEIVER ASSEMBLY |
| *3 | NAVIGATION RECEIVER ASSEMBLY | *4 | AIRBAG SENSOR ASSEMBLY |
| *5 | POWER STEERING ECU ASSEMBLY | *6 | STEERING ANGLE SENSOR (SPIRAL WITH SENSOR CABLE SUB-ASSEMBLY) |
| *7 | DLC3 | *8 | YAWRATE SENSOR |
| *A | Models without Power Back Door System | *B | Models with Power Back Door System |
| *1 | BACK DOOR CLOSER ECU (MULTIPLEX NETWORK DOOR ECU) | *2 | POWER BACK DOOR ECU (POWER BACK DOOR UNIT ASSEMBLY) |
| *1 | OUTER MIRROR CONTROL ECU ASSEMBLY (RH) | *2 | OUTER MIRROR CONTROL ECU ASSEMBLY (LH) |
| *3 | POSITION CONTROL ECU AND SWITCH ASSEMBLY | - | - |