AIRBAG SYSTEM DETAILS


  1. FUNCTION OF MAIN COMPONENTS


    1. The main components have the following functions:

      Component Function
      Airbag Sensor Assembly
      • In the event of a collision, the airbag sensor assembly receives signals from either of the front airbag sensors. The airbag sensor assembly receives the signal via its judgment circuit and also receives another signal from the safing sensor built into the airbag sensor assembly. After receiving a signal from at least one of the front airbag sensors and the safing sensor, the airbag sensor assembly determines whether the driver side airbag, front passenger side airbag, driver knee airbag, curtain shield airbags and front seat belt pretensioners should be deployed. The airbag sensor assembly also diagnoses system malfunctions.

      • In the event of a collision, the airbag sensor assembly receives signals from the side door airbag sensor or side No. 2 airbag sensor assembly. The airbag sensor assembly receives the signal via its judgment circuit and also receives another signal from the safing sensor built into the airbag sensor assembly. After receiving a signal from at least one of the side sensors and the safing sensor, the airbag sensor assembly determines whether the front seat airbag assemblies, curtain shield airbag assemblies and front seat belt pretensioner should be deployed. The airbag sensor assembly also diagnoses system malfunctions.

      • The airbag sensor assembly sends an airbag deployment signal to the ECM through the Controller Area Network (CAN) to operate fuel pump control.

      Horn Button Assembly Driver Side Squib The airbags are used as supplements to the seat belts to help reduce impact to the occupants.
      Instrument Panel Passenger Airbag without Door Assembly Front Passenger Side Squib
      Lower No. 1 Instrument Panel Airbag Assembly Driver Knee Airbag Squib
      Front Seat Airbag Assembly LH/RH Front Side Airbag Squib LH/RH
      Curtain Shield Airbag Assembly LH/RH Curtain Shield Squib LH/RH
      Front Airbag Sensor LH/RH Based on the deceleration of the vehicle during a frontal collision, a distortion is created in the sensor and converted into an electrical signal.
      Side No. 2 Airbag Sensor Assembly LH/RH Based on the deceleration of the vehicle during a side or rear side collision, a distortion is created in the sensor and converted into an electrical signal.
      Side Door Airbag Sensor LH/RH
      Seat Position Airbag Sensor The seat position sensor detects the slide position of the driver seat.
      Front Seat Outer Belt Assembly LH/RH Front Pretensioner Squib LH/RH The front seat outer belt assemblies are used to help reduce impact to the occupants.
      Driver Seat Belt Buckle Switch (Front Seat Inner Belt Assembly LH) The driver seat belt buckle switch detects if the driver seat belt is fastened.
      Front Passenger Seat Belt Buckle Switch (Front Seat Inner Belt Assembly RH) The front passenger seat belt buckle switch detects if the front passenger seat belt is fastened.
      Occupant Detection ECU The occupant detection ECU judges whether the front passenger seat is occupied based on signals from the 4 occupant detection sensors and the front passenger seat belt buckle switch.
      Occupant Detection Sensor (Front LH/RH, Rear LH/RH) The sensors are strain gauge type sensors that send signals to the occupant detection ECU in accordance with the weight of the occupant.
      Combination Meter Assembly SRS Warning Light The SRS warning light turns on to alert the driver when the airbag sensor assembly detects a malfunction in the airbag system.
      Accessory Meter Assembly Multi-information Display The multi-information display alerts the driver when the airbag sensor assembly detects a malfunction in the airbag system.
  2. OPERATING CONDITION


    1. Ignition Condition


      1. Deceleration sensors used for the airbag system are installed on various parts on the vehicle and calculate the deceleration (or acceleration) rate of each part during a collision.

      2. Depending on the situation, the airbag sensor assembly sends a deployment signal to each airbag based on the information from each sensor.

      3. Frontal collision signals are produced based on the information from the airbag sensor assembly and front airbag sensors. Frontal collision signals are used to deploy the airbags and activate the pretensioners as indicated in the table below. The front side airbags are not deployed in a frontal collision.

        A01F0Q9E01
      4. The front seat airbag assembly and curtain shield airbag assembly are deployed and the front seat belt pretensioner in the front seat outer belt assembly LH or RH is activated based on signals from the side door airbag sensors and airbag sensor assembly.

        A01F0MCE01
      5. The curtain shield airbag assembly is deployed based on signals from the side door airbag sensors or side No. 2 airbag sensor assemblies and the airbag sensor assembly.

        A01F0OEE01
  3. SYSTEM CONTROL


    1. Airbag for Frontal Collision


      1. There are 5 airbags which deploy in the event of a frontal collision: the horn button assembly, instrument panel passenger airbag without door assembly, lower No. 1 instrument panel airbag assembly and curtain shield airbag assemblies. These airbags deploy simultaneously. The horn button assembly and instrument panel passenger airbag without door assembly use dual-stage control. In addition, the front pretensioners contained in the front seat outer belt assemblies LH and RH are also activated.

      2. The airbag sensor assembly detects the information indicated below from various sources in order to activate the dual-stage control.

      3. For a frontal collision, if a front airbag sensor detects an impact, it informs the airbag sensor assembly. The airbag sensor assembly causes the horn button assembly, instrument panel passenger airbag without door assembly, lower No. 1 instrument panel airbag assembly and curtain shield airbag assemblies to deploy. Meanwhile, the airbag sensor assembly activates the seat belt pretensioners for the driver and front passenger.

        Airbag Information Source
        Driver Extent of Impact
        • Front Airbag Sensor (LH or RH)

        • Airbag Sensor Assembly

        Driver Seat Position Seat Position Airbag Sensor
        Seat Belt Condition Front Seat Inner Belt Assembly (Driver Seat Belt Buckle Switch) (Non-contact Type)
        Front Passenger Extent of Impact
        • Front Airbag Sensor (LH or RH)

        • Airbag Sensor Assembly

        Occupant Detection

        4 Occupant Detection Sensors

        (Connected to the airbag sensor assembly through the occupant detection ECU.)

        Seat Belt Condition

        Front Seat Inner Belt Assembly (Front Passenger Seat Belt Buckle Switch) (Non-contact Type)

        (Connected to the airbag sensor assembly through the occupant detection ECU.)

      4. When the front passenger airbag is deployed, the airbag sensor assembly activates the actuator in response to the signal from the occupant detection ECU to open the front passenger sub-vent hole, regulating the internal pressure of the front passenger airbag to the optimum level.

        A01F0Q8E01
    2. Airbag for Side/Rear Side Collision


      1. There are 2 airbags which deploy in the event of a severe side collision: the front seat airbag assembly and curtain shield airbag assembly. These airbags deploy simultaneously.

      2. For a side collision, if the side door airbag sensor detects an impact, it informs the airbag sensor assembly, and the airbag sensor assembly causes the front seat airbag assembly and curtain shield airbag assembly to deploy simultaneously, and activates the front seat outer belt assembly.

        A01F0UOE01
      3. For a rear side collision, if the side No. 2 airbag sensor assembly detects an impact, it informs the airbag sensor assembly and the airbag sensor assembly causes the curtain shield airbag assembly to be deployed.

        A01F0KVE01
    3. Primary Check Illumination Control


      1. After the ignition switch is turned to ON, the airbag sensor assembly illuminates the SRS warning light in the combination meter assembly for approximately 6 seconds and conducts the primary check. During the primary check, the ignition of airbags is prohibited and a diagnosis of the airbag sensor assembly is performed. If a malfunction is detected during the primary check, the SRS warning light remains on even after the 6 seconds have elapsed.

      2. After the ignition switch is turned to ON, the airbag sensor assembly operates the passenger airbag ON/OFF indicator lights as shown below to check for an open in the indicator light circuits.

        A01F0RZE01
  4. CONSTRUCTION


    1. Airbag Sensor Assembly


      1. The airbag sensor assembly consists of judgment circuits, deceleration sensors, a safing sensor, ignition control circuit, backup power circuit, diagnostic circuit and memory circuit.

        Item Outline
        Judgment Circuit Judgment circuits are built into the airbag sensor assembly to judge the severity of a collision using the acceleration/deceleration signals from the front airbag sensors, side door airbag sensors and side No. 2 airbag sensor assemblies.
        Deceleration Sensor A deceleration sensor is built into the airbag sensor assembly. This sensor distorts in the event of a collision. The amount of distortion is based on the deceleration rate of the vehicle during a frontal, side or rear side collision and is converted into an electric signal.
        Ignition Control Circuit The ignition control circuit performs calculations based on the signal output from the judgment circuit of the airbag sensor assembly, front airbag sensors, side door airbag sensors and side No. 2 airbag sensor assemblies. If the calculated values are greater than the specified values, the airbags are deployed.
        Safing Sensor During a frontal, side or rear side collision, this sensor turns on and outputs an on signal to the airbag sensor assembly if the deceleration rate of the safing sensor is greater than a specified value.
        Backup Power Circuit The backup power circuit consists of a power supply capacitor and a DC-DC converter. When the power supply to the airbag sensor assembly is disrupted during a collision, the power supply capacitor discharges and supplies electric power to the system. The DC-DC converter operates as a boosting transformer when the battery voltage falls below a predetermined level.
        Diagnostic Circuit The diagnostic circuit constantly monitors for system malfunctions. When a malfunction is detected, it turns on the SRS warning light in the combination meter assembly to inform the driver.
        Memory Circuit When a malfunction is detected by the diagnostic circuit, a DTC is stored in memory.
    2. Horn Button Assembly


      1. The horn button assembly contains a set of 2 initiators and propellants. The airbag sensor assembly helps optimize the airbag deployment rate by controlling the ignition timing of the initiators.

        A01F0QJE01
        Text in Illustration
        *1 Bag *2 Inflator
        *3 1st Initiator Connector *4 2nd Initiator Connector
        *a A-A Cross Section *b Reverse Side
    3. Instrument Panel Passenger Airbag without Door Assembly


      1. The instrument panel passenger airbag without door assembly contains a set of 2 initiators, propellants and an actuator. The airbag sensor assembly helps optimize the airbag deployment rate by controlling the ignition timing of the initiators and the opening/closing of the front passenger sub-vent hole.

        A01F0ODE01
        Text in Illustration
        *1 1st Initiator Connector *2 2nd Initiator Connector
        *3 Actuator *4 Bag
        *5 Inflator - -
        *a A-A Cross Section - -
    4. Lower No. 1 Instrument Panel Airbag Assembly


      1. The driver side knee airbag assembly consists of an airbag door, inflator and a bag.

        A01F0M3E06
        Text in Illustration
        *1 Inflator *2 Bag
        *a A-A Cross Section - -
    5. Front Seat Airbag Assembly


      1. Each front seat airbag assembly is a one-piece design, consisting of an inflator and a bag.

        A01F0O0E04
        Text in Illustration
        *1 Inflator *2 Bag
        *a A-A Cross Section *b B-B Cross Section
    6. Curtain Shield Airbag Assembly


      1. Each curtain shield airbag assembly is a one-piece design, consisting of an inflator and a bag.

        A01F0VME04
        Text in Illustration
        *1 Inflator *2 Bag
        *a A-A Cross Section *b Bag Deployment Status
    7. Front Airbag Sensor


      1. The front airbag sensors are electrical type deceleration sensors. As a result of the deceleration of the vehicle during a frontal collision, distortion is created in the internal element in the sensor and converted into an electrical signal.

        A01F0KHE07
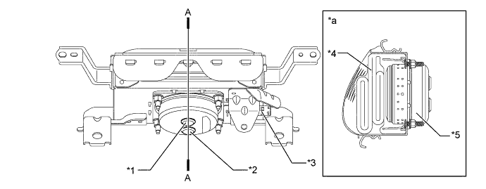
    8. Side Door Airbag Sensor and Side No. 2 Airbag Sensor Assembly


      1. A deceleration sensor is enclosed in the side door airbag sensor and side No. 2 airbag sensor assembly. As a result of the deceleration of the vehicle during a side or rear side collision, distortion is created in the internal element in the sensor and converted into an electrical signal.

        A01F0JYE09
    9. Seat Position Airbag Sensor


      1. The seat position airbag sensor, which uses a Hall IC, detects changes in the magnetic flux that occurs due to the movement of the upper rail.

        A01F0UJE10
        Text in Illustration
        *1 Seat Position Airbag Sensor - -
        *a Seat position is rearward *b Seat position is frontward
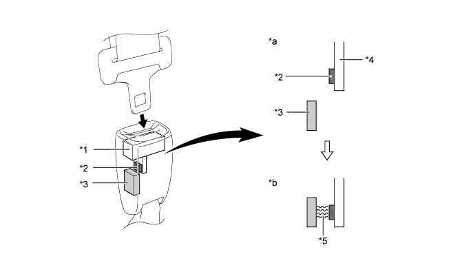
    10. Front Seat Inner Belt Assembly (Seat Belt Buckle Switch)


      1. A non-contact type switch is built into the front seat inner belt assembly (seat belt buckle switch) on the driver and front passenger sides.

      2. The non-contact type switch contains a Hall IC and magnet.

      3. The ejector inside the front seat inner belt assembly (seat belt buckle switch) and the plate installed to the ejector move when the seat belt is removed or inserted. The movement of the plate changes the magnetic flux density of the magnet.

      4. The Hall IC detects changes in the magnetic flux density. These changes indicate that the seat belt is either fastened or unfastened, and the Hall IC outputs a signal to the airbag sensor assembly (for driver) or occupant detection ECU (for front passenger).

        A01F0K7E08
        Text in Illustration
        *1 Ejector *2 Magnet
        *3 Hall IC *4 Plate
        *5 Magnetic Flux - -
        *a Seat belt not fastened *b Seat belt fastened
  5. DIAGNOSIS


    1. If the airbag sensor assembly detects a malfunction in the SRS airbag system, the airbag sensor assembly stores the malfunction data in memory, in addition to illuminating the SRS warning light.

    2. The airbag sensor assembly outputs malfunction data and 5-digit Diagnostic Trouble Codes (DTCs) to the Global TechStream (GTS).

    3. The 5-digit DTCs can be read after connecting the Global TechStream (GTS) to the DLC3. For details, refer to the Repair Manual.

    4. If the SRS airbags deploy, the airbag sensor assembly will turn on the SRS warning light. However, unlike the ordinary diagnosis function, a DTC will not be stored. The SRS warning light cannot be turned off. It is necessary to replace the airbag sensor assembly with a new one.