AIRBAG SYSTEM GENERAL


  1. OUTLINE


    1. The driver dual-stage Supplemental Restraint System (SRS) airbag and front passenger dual-stage SRS airbag supplement the seat belts to help to reduce the shocks to the head and chest of the driver and front passenger in the event of a frontal collision. On the front passenger airbag, a sub-vent hole is provided to optimize the pressure inside the front passenger airbag.

    2. The SRS knee airbag is used as supplements to the seat belts to help restrain the occupant's lower body (mainly knees), enhancing the effectiveness of occupant protection.

    3. The SRS front side airbags are used in the event of a side collision to help to reduce the shock to the chest of the driver or front passenger.

    4. The SRS curtain shield airbags are used in the event of a front, side or rear side collision to help to reduce the shock to the head of the driver, front passenger and rear passengers.

      A01F0ULE01
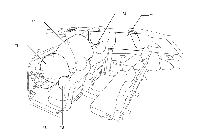
      Text in Illustration
      *1 SRS Driver Airbag *2 SRS Front Passenger Airbag
      *3 SRS Side Airbag for Driver *4 SRS Side Airbag for Front Passenger
      *5 SRS Curtain Shield Airbag *6 SRS Driver Knee Airbag
  2. PRECAUTION


    1. Ignition Switch Expressions


      1. The type of ignition switch used on this model differs depending on the specifications of the vehicle. The expressions listed in the table below are used in this section.

        Expression

        Ignition Switch

        (Position)

        Engine Switch

        (Condition)

        Ignition Switch off LOCK Off (Lock)
        Ignition Switch ACC ACC On (ACC)
        Ignition Switch ON ON On (IG)
        Engine Start START On (Start)