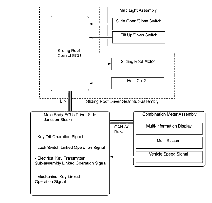
SLIDING ROOF SYSTEM SYSTEM DIAGRAM

A01GV8HE01