NIGHT VIEW SYSTEM DETAILS


  1. FUNCTION OF MAIN COMPONENTS


    1. The main components in the Lexus night view have the following functions:

      Component Outline
      No. 1 Night View ECU
      • Controls Lexus night view using each type of vehicle information.

      • Outputs the image signals to the accessory meter assembly in accordance with the signals from the night view camera.

      Night View Camera Receives light from the area ahead of the vehicle to which near-infrared ray projector radiates, and outputs it to the No. 1 night view ECU as image signals.

      Headlight Assembly

      - Near-infrared Ray Projector

      Radiates near-infrared rays forward when the Lexus night view is operating.
      Automatic Light Control Sensor Detects the lighting intensity on the periphery, and sends it to the Main Body ECU.
      Night View Switch Switches the Lexus night view on and off.
      Multi-display (Accessory Meter Assembly)
      • Shows the night view display in accordance with the signals from the No. 1 night view ECU.

      • Shows the warning display on the multi-display to inform the driver when there is a malfunction in the Lexus night view.

  2. OPERATING CONDITION


    1. The Lexus night view will activate when the following conditions are met:

      Conditions Vehicle Speed Near-infrared Ray Projector

      • Power switch is turned on (IG).

      • Headlight is low/high beam.

      • Automatic light control sensor judges that the area around the vehicle has become dark.

      • Night view switch is turned on.

      Approx. 15 km/h (9.3 mph) or more Turns on
      Approx. less than 10 km/h (6.2 mph) Turns off*

      Tech Tips

      *: Even though the night view display is shown on the multi-display, the visualizable area and distance will be decreased because the near-infrared rays are not radiated.

  3. FUNCTION


    1. When a malfunction occurs in the Lexus night view, a warning message is shown on the multi-display as follows:

      Warning Massage Condition

      Check night view system

      Have your vehicle checked by a dealer

      System Malfunction
  4. CONSTRUCTION


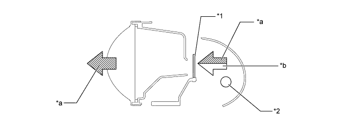
    1. Near-infrared Ray Projector


      1. The near-infrared ray projector is built into the headlight assembly.

      2. The light source consists of a halogen bulb. The light from this bulb passes through a visible ray cut filter so that only the near-infrared rays are emitted. This construction enables the system to capture a field of vision that is farther than that of the low beam headlight.

      3. The near-infrared ray projector emits weak visible rays around the lens of the near-infrared ray projector.

        A01GUI2E02
        Text in Illustration
        *1 Visible Ray Cut Filter *2 Halogen Bulb
        *a Near-infrared Rays *b Visible Rays
    2. Night View Camera


      1. The night view camera is located on the forward center of the roof headlining.

        A01GUKUE01
        Text in Illustration
        *1 Night View Camera - -
      2. The night view camera can image the area ahead of the vehicle to which near-infrared rays are radiated, which is 15 degrees horizontally and 13 degrees vertically.

      3. The night view camera has a built-in visible ray cut filter to block anything except near-infrared rays.

        A01GUJLE01
  5. OPERATION


    1. Display Transition


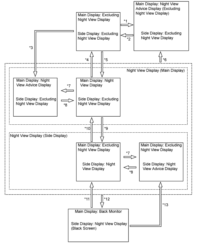
      1. The screen undergoes the following transitions when the Lexus night view activates and while it is operating:

        A01GV1NE01
        Item Transition Condition
        *1 The night view switch is turned on when the vehicle is in a bright area.
        *2 A certain amount of time has elapsed.
        *3 The night view switch is turned on without the headlight low/high beam illuminated at night.
        *4 The night view switch is turned off.
        *5 The night view switch is turned on when the operating conditions of Lexus night view are met.
        *6 The vehicle is no longer in a dark area.
        *7 Headlight low/high beam is turned off.
        *8 Headlight low/high beam is turned on.
        *9 Operation is carried out using the main display, or an interrupt display is shown on the main display.
        *10 The button to show the main display in the night view display is selected.
        *11 The shift lever is moved from R to any other position.
        *12 The shift lever is moved to R.
        *13 The headlight low/high beam is not turned on when the shift lever is moved from R to any other position.
  6. DIAGNOSIS


    1. If the No. 1 night view ECU detects a malfunction in the Lexus night view, it stores the malfunction data in memory.

    2. The No. 1 night view ECU outputs 5-digit Diagnostic Trouble Codes (DTCs) to a Global TechStream (GTS).

    3. The 5-digit DTCs can be read after connecting a Global TechStream (GTS) to the DLC3. For details refer to the Repair Manual.