NIGHT VIEW SYSTEM PARTS LOCATION

A01GV7QE01
Text in Illustration
*1 Night View Camera *2 Hybrid Vehicle Control ECU
*3 Front Controller (Multiplex Network Front Light ECU) *4

Headlight Assembly RH

- Near-infrared Ray Projector

*5

Headlight Assembly LH

- Near-infrared Ray Projector

*6 ECM
*7 Skid Control ECU Assembly *8 Shift Lever Position Sensor
*9 No. 1 Night View ECU *10 Object Recognition ECU
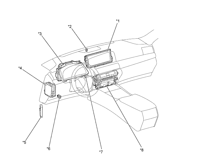
A01GV4BE01
Text in Illustration
*1 Multi-display) Accessory Meter Assembly *2 Automatic Light Control Sensor
*3 Combination Meter Assembly *4 Main Body ECU (Driver Side Junction Block)
*5 Driving Support ECU *6 DLC3
*7 Night View Switch *8 Multi-media Module Receiver Assembly