HYBRID CONTROL SYSTEM GENERAL


  1. OUTLINE


    1. The hybrid system of this hybrid vehicle employs the LEXUS Hybrid Drive under the "Hybrid Synergy Drive" concept*.

      Tech Tips

      *: The "Hybrid Synergy Drive" concept consists of 4 key benefits: fuel efficiency, low emissions, seamless acceleration and silent performance.

    2. Hybrid vehicles use a combination of 2 kinds of power sources, such as an engine and electric motor, so as to take advantage of the benefits provided by each power source while compensating for each other's shortcomings. As a result, efficient operation is achieved.

    3. Hybrid vehicles do not need their batteries to be charged externally unlike existing electric-only vehicles. Therefore, special infrastructure is not required to use hybrid vehicles.

    4. Technical development of power units (such as an engine or fuel cell) is advancing in various fields. The hybrid system is a flexible system that uses a high-efficiency power unit and electric motors.

    5. Hybrid vehicles have high-voltage electrical circuits. Hybrid vehicles have been developed with consideration given to the protection of drivers and technicians against electrocution.

  2. SPECIFICATION

    Item Specifications
    MG1 Type Permanent Magnet Motor
    Function Generates Electricity, Starts Engine
    Maximum System Voltage DC 650 V
    Cooling System Water-cooled
    MG2 Type Permanent Magnet Motor
    Function Drives Wheels, Generates Electricity
    Maximum System Voltage DC 650 V
    Maximum Output 165 kW (221 HP)
    Maximum Torque 300 N*m (221 ft.*lbf)
    Cooling System Water-cooled
    Boost Converter Rated Voltage (Inverter Side) DC 650 V
    Rated Voltage (HV Battery Side) DC 288 V
    Hybrid Vehicle Converter Rated Output Voltage

    DC 13 V to 14.5 V (Normal Condition)

    DC 11.5 V (Activated at Low Temperatures)

    Maximum Output Current 150 A
    Converter Cooling Blower Motor Type Brushless
    Fan Type Sirocco Fan
    Air Flow Volume

    70 m3/h

    Inverter Water Pump with Motor Assembly Motor Type Brushless
    Discharge Volume 12 L/min (12.7 US qts, 10.6 Imp. qts) or Greater@65°C (149°F)
    Inverter Coolant Type Toyota Genuine Super Long Life Coolant (SLLC) or Equivalent
    Color Pink
    Capacity 2.9 Liters (3.1 US qts, 2.6 Imp. qts)
    Maintenance Intervals First Time 160000 km (100000 miles)
    Subsequent Every 80000 km (50000 miles)
    HV Battery Type Sealed Nickel Metal Hydride (Ni-MH) Battery
    Cell Quantity 240 Cells (12 Cells x 6 Modules + 12 Cells x 14 Modules)
    Nominal Voltage 288 V (1.2 V x 240 Cells)
    Battery Capacity (3HR) 6.5 Ah
    Battery Cooling Blower Assembly Motor Type Brushless
    Fan Type Sirocco Fan
    Air Flow Volume Upper Side

    93 m3/h

    Lower Side

    93 m3/h

  3. MAIN FEATURES


    1. Hybrid vehicles have the following features:

      Features Outline
      Idle Stop (Reduction of Energy Loss) Idling of the engine is automatically stopped (idle stop) to reduce energy loss.
      EV Drive (Efficient Drive Control) This allows the vehicle to be driven using only the electric motor when engine efficiency is low. In addition, electricity is generated when engine efficiency is high. Control is performed to maximize the total efficiency of the vehicle.
      EV Drive Mode If the driver operates the switch and the operating conditions are met, the vehicle can run on only the electric motor.
      Motor Assist An electric motor supplements the engine power when accelerating.
      Regenerative Braking (Energy Regeneration) During deceleration and while depressing the brake pedal, part of the energy that was lost as heat is collected as electrical energy to be reused, for example as motor power.
    2. Generally, there are 3 types of hybrid systems: a series-type hybrid system, a parallel-type hybrid system and a series/parallel-type hybrid system.


      1. Series-type Hybrid System


        1. The motor rotates the wheels, and the engine acts as an electric power source for the motor using a generator.

          A01GV3DE01
          Text in Illustration
          *1 Engine *2 Generator
          *3 Inverter *4 HV Battery
          *5 Motor - -
          A01GUYA Mechanical Power Path A01GULU Electrical Power Path (DC)
          A01GUV6 Electrical Power Path (AC) - -
      2. Parallel-type Hybrid System


        1. Both the engine and the motor directly rotate the wheels. In addition to supplementing the power of the gasoline engine, the electric motor can also serve as a generator to charge the high-voltage battery pack while the vehicle is in motion. Driving the vehicle with the motor only is also possible.

          A01GUGGE01
          Text in Illustration
          *1 Engine *2 Transmission
          *3 HV Battery *4 Inverter
          *5 Motor Generator - -
          A01GUYA Mechanical Power Path A01GULU Electrical Power Path (DC)
          A01GUV6 Electrical Power Path (AC) - -
      3. Series/Parallel Hybrid System


        1. Features of both a series-type hybrid system and a parallel-type hybrid system are combined. The system has 2 motor generators. Electricity can be generated by Motor Generator 1 (MG1) using engine power. The generated electricity is used to charge the HV battery and/or also to power Motor Generator 2 (MG2).

          A01GV28E01
          Text in Illustration
          *1 Engine *2 Power Split Planetary Gear
          *3 HV Battery *4 Inverter
          *5 Motor Generator 1 (MG1) *6 Motor Generator 2 (MG2)
          A01GUYA Mechanical Power Path A01GULU Electrical Power Path (DC)
          A01GUV6 Electrical Power Path (AC) - -
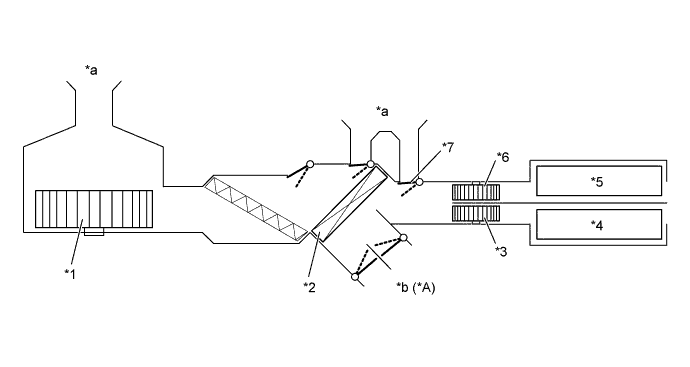
    3. The mechanism of the LEXUS Hybrid Drive is as follows:


      1. The LEXUS Hybrid Drive mainly consists of the engine, hybrid transmission, inverter with converter assembly and HV battery, and employs the series/parallel-type hybrid system.

        A01GUJ6E01
        Text in Illustration
        *1 Engine *2 Hybrid Transmission (Hybrid Vehicle Transmission Assembly)
        *3 Power Split Planetary Gear *4 2-stage Motor Speed Reduction Planetary Gear
        *5 Motor Generator 1 (MG1) *6 Motor Generator 2 (MG2)
        *7 Inverter with Converter Assembly *8 Differential
        *9 HV Battery *10 Transfer
        A01GUYA Mechanical Power Path A01GULU Electrical Power Path (DC)
        A01GUV6 Electrical Power Path (AC) - -
      2. This system optimally performs cooperative control of the high-output 2UR-FSE engine and the high-speed, high-output Motor Generator 1 (MG1) and Motor Generator 2 (MG2) in the L110F hybrid transmission (hybrid vehicle transmission assembly) that provides excellent transmission performance.

      3. Hybrid vehicles have 2 batteries that are used in different purposes. One is the HV battery (nominal voltage of DC 288 V) that stores electrical power to drive the vehicle, and the other is the auxiliary battery (nominal voltage of DC 12 V) that supplies electrical power to the electrical components.

      4. Furthermore, this vehicle uses a variable-voltage system consisting of a high-output HV battery with a nominal voltage of DC 288 V, a boost converter that boosts the operating voltage of the system to a maximum voltage of DC 650 V and an inverter that converts direct current and alternating current.

      5. Since hybrid vehicles are not equipped with a conventional generator, the voltage from the HV battery is dropped to approximately DC 14 V using the hybrid vehicle converter in order to charge the auxiliary battery.

      6. The HV battery uses sealed Nickel Metal Hydride (Ni-MH) battery cells. This HV battery has a high power density, is lightweight, and it offers longevity to match the characteristics of the LEXUS Hybrid Drive. Because charge/discharge control is performed to maintain the HV battery within a constant State Of Charge (SOC) range while the vehicle is operating normally, it does not require external recharging.

        A01GV6PE01
        Text in Illustration
        *1

        Inverter with Converter Assembly

        - Inverter

        - Boost Converter

        *2 2UR-FSE Engine
        *3

        L110F Hybrid Transmission (Hybrid Vehicle Transmission Assembly)

        - Motor Generator 1 (MG1)

        - Motor Generator 2 (MG2)

        *4 Auxiliary Battery (Nominal Voltage of DC 12 V)
        *5

        HV Battery (Nominal Voltage of DC 288 V)

        - Hybrid Vehicle Converter

        - -
    4. Hybrid vehicles have 2 hybrid related cooling systems, one for cooling the inverter with converter assembly, MG1 and MG2 and one for cooling the HV battery.


      1. A cooling system for the inverter with converter assembly, MG1 and MG2 that is independent from the engine cooling system is provided to cool the inverter with converter assembly, MG1 and MG2.

      2. This cooling system activates when the power switch is turned on (READY).

      3. An inverter radiator, which is exclusively used for the inverter assembly, MG1 and MG2, has been provided above the A/C condenser. By integrating the independent inverter radiator, A/C condenser and engine radiator, the layout has been made more compact.

        A01GUIPE01
        Text in Illustration
        *1 Inverter Radiator *2 Inverter Water Pump with Motor Assembly
        *3

        L110F Hybrid Transmission (Hybrid Vehicle Transmission Assembly)

        - Motor Generator 1 (MG1)

        - Motor Generator 2 (MG2)

        *4 Inverter with Converter Assembly
        *5 Inverter Reservoir Tank - -
        A01GUSE Inverter Coolant Flow - -
      4. A dedicated cooling system is used to ensure that the HV battery performs properly, despite it generating significant heat during the repetitive charge and discharge cycles. This cooling system takes in air from the cabin as well as cool air from the rear air conditioning unit located on the upper side of the HV battery unit to cool the HV battery. However, the cooling system functions as a dedicated cooling system for the HV battery when the vehicle is not equipped with the multi-zone automatic climate control air conditioning.

      5. This cooling system has 2 battery cooling blower assemblies, an air conditioning blower assembly, an evaporator and a control damper regardless whether the rear air conditioning system is installed or not.

      6. Since this system can cool down the HV battery by cool air, the cooling performance is improved and quieter operation of the cooling fan is achieved due to reduction of air flow volume.

      7. This cooling system introduces the cool air through 2 locations, the rear air conditioning unit and inside the cabin, and controls intake air by using a dedicated control damper.

      8. 2 battery cooling blower fans are used to send cool air to each battery module independently, thus improving cooling efficiency.

        A01GUVNE01
        Text in Illustration
        *A Models with Multi-zone Automatic Climate Control Air Conditioning - -
        *1 Rear Cooling Blower *2 Evaporator
        *3 Battery Cooling Blower Assembly (for Lower Side) *4 Lower HV Battery Module Group
        *5 Upper HV Battery Module Group *6 Battery Cooling Blower Assembly (for Upper Side)
        *7 Mode Control Damper - -
        *a Air from Cabin *b Cool Air to Cabin
        A01GV3OE01
        Text in Illustration
        *1 Battery Cooling Blower Assembly (for Upper Side) *2 Battery Cooling Blower Assembly (for Lower Side)
        *3 Lower HV Battery Module Group *4 Upper HV Battery Module Group
        *5 Rear Cooling Unit Assembly - -
        *a A - A Cross Sction *b B - B Cross Section
        *c Cool Air from Rear Air Conditioning Unit *d Air from Cabin
        A01GUSE Cooling Air Flow - -
  4. PRECAUTION


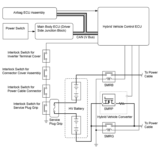
    1. Hybrid Vehicle High-voltage Safety Measures


      1. High-voltage safety is comprised of 2 points: insulation of high-voltage circuits and cut-off of high-voltage circuits. The hybrid system also detects whether or not a decrease in insulation resistance has occurred between the high-voltage system and body ground.

    2. Insulation of High-voltage Circuits


      1. High-voltage circuits are used between the HV battery, inverter with converter assembly, hybrid transmission (hybrid vehicle transmission assembly) and compressor with motor assembly. Each of these items is connected by a power cable and is electrically insulated using cases and covers.

      2. Cables are also shielded using a mesh conductor built into the electrical insulation of the wires. The shielding is grounded to the chassis of the vehicle and the main purpose is to prevent electromagnetic interference.

        A01GUVME01
        Text in Illustration
        *1 Inverter with Converter Assembly *2 Compressor with Motor Assembly
        *3 Hybrid Vehicle Converter *4 Battery Cooling Blower Assembly (for Lower Side)
        *5 Battery Cooling Blower Assembly (for Upper Side) *6 Hybrid Battery Junction Block Assembly
        *7 MG1 *8 MG2
        *9 Power Steering Converter Assembly *10 Service Plug Grip
    3. Cut-off of High-voltage Circuits


      1. When any of the conditions below occurs, the System Main Relays (SMRs) are automatically shut off by the hybrid vehicle control ECU:


        • Power switch is turned off.

        • Any airbag is deployed.

        • Inverter terminal cover is removed (interlock circuit is opened).

        • Connector cover assembly is removed (interlock circuit is opened).

        • Power cable is removed (interlock circuit is opened).

        • Service plug grip handle is raised partway (interlock circuit is opened)*.

        • Specified malfunction occurs.

        Tech Tips

        *: The service plug grip should never be removed when the vehicle is in the READY-ON state.

        A01GV14E01
      2. The service plug grip is used to cut off the high-voltage circuit manually for when service is to be performed on the vehicle.

        A01GUKBE01
        Text in Illustration
        *1 Service Plug Grip *2 Insulated Glove

        CAUTION:

        Regarding discharge of the capacitor in the inverter with converter assembly: a charge remains in the high-voltage capacitor in the inverter with converter assembly after the high voltage circuits are shut down. When servicing a hybrid vehicle, after the service plug grip is removed, wait at least 10 minutes to allow the capacitor in the inverter to discharge before beginning work.

    4. HV Battery Handling Precautions


      1. HV battery electrolyte is a highly alkaline potassium hydroxide solution (odorless, transparent, colorless). Careless handling of the HV battery is very dangerous. Handle the HV battery properly in accordance with the procedures below:

        Procedure Precaution
        When there is liquid leakage present in the area of the HV battery.
        • Neutralize it with a saturated mixture of boric acid and water.

        • After litmus paper has been used to determine that the mixture is neutral, wipe it up with rags or waste cloth.

        When battery electrolyte gets on skin, eyes etc.*
        • Flush it with a saturated solution of boric acid and water or with a large amount of water.

        • Remove contaminated clothes at once.

        When a vehicle is scrapped. Remove the HV battery from the vehicle for collection via the specified route.
        When stored. The battery should not be left in a damp or wet location.
        When a vehicle is stored for a long time.
        • Disconnect the auxiliary battery negative terminal.

        • When in storage, the HV battery should be charged every 2 months to prevent HV battery discharge or damage. Using the following procedure, charge the HV battery:


          1. Connect the negative terminal of the auxiliary battery.

          2. Turn the power switch on (IG) for 3 minutes, and do not apply any electrical loads. (This operation is needed to allow the power hybrid vehicle ECU to detect the correct SOC.)

          3. Enter the READY-ON state. After the engine starts, leave it running for 30 minutes to charge the HV battery.

        • If the engine does not start or intermittently stops within 30 minutes, stop the operation at that time. (The HV battery does not need to be charged.)

        CAUTION:

        *: If you get electrolyte in your eyes, call for help, do not rub your eyes. Rinse your eyes with a large amount of water and seek medical attention immediately.