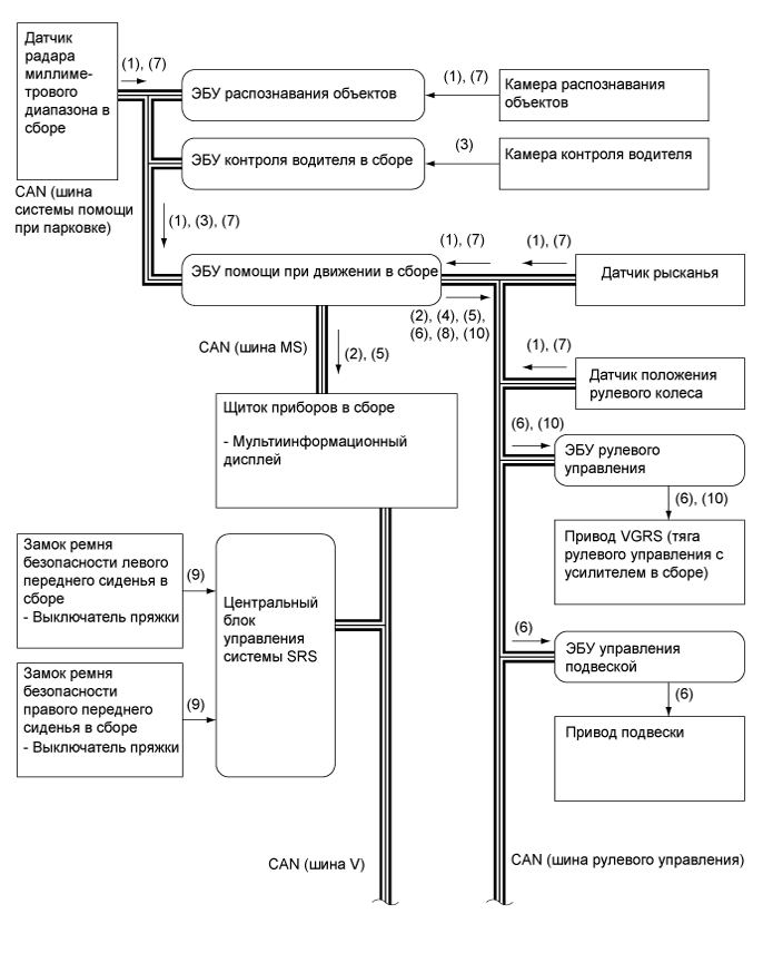
ПРЕДАВАРИЙНАЯ СИСТЕМА БЕЗОПАСНОСТИ (для моделей с камерой контроля водителя) ДЕТАЛЬНОЕ ОПИСАНИЕ


  1. НАЗНАЧЕНИЕ ОСНОВНЫХ УСТРОЙСТВ

    Пункт Назначение
    Щиток приборов в сборе Контрольная лампа PCS Горит или мигает, предупреждая водителя, в соответствии с сигналами от ЭБУ ремней безопасности.
    Мультиинформационный дисплей Отображает предупреждающее сообщение, уведомляющее водителя о состоянии системы, в соответствии с сигналами от ЭБУ ремней безопасности.
    Главная контрольная лампа аварийного состояния Горит, предупреждая водителя, в соответствии с сигналами от ЭБУ ремней безопасности.
    Многофункциональный зуммер Подает звуковой сигнал, предупреждая водителя, в соответствии с сигналами от ЭБУ контроля движения в случае неисправности системы.
    Датчик радара миллиметрового диапазона в сборе Излучает вперед волны миллиметрового диапазона, по отраженным волнам определяет наличие автомобиля впереди, расстояние между автомобилями и относительную скорость, а затем передает эти данные в ЭБУ помощи при движении.
    Задний датчик радара миллиметрового диапазона в сборе Излучает волны радара миллиметрового автомобиля назад и определяет по отраженным сигналам наличие позади автомобиля, расстояние между автомобилями и относительную скорость. Затем задний датчик радара миллиметрового диапазона передает эту информацию в ЭБУ помощи при движении.
    Передний ремень с катушкой и преднатяжителем в сборе Электродвигатель ремня безопасности Втягивает ремень безопасности в соответствии с сигналами, полученными от ЭБУ ремней безопасности.
    Замок ремня безопасности переднего сиденья в сборе (для водителя) Выключатель пряжки Определяет состояние ремня безопасности водителя (проверяет, пристегнут ли ремень) и передает соответствующий сигнал в центральный блок управления системы SRS.
    Замок ремня безопасности сиденья переднего пассажира в сборе Выключатель пряжки Определяет состояние ремня безопасности переднего пассажира (проверяет, пристегнут ли ремень) и передает сигнал в центральный блок управления системы SRS.
    Центральный блок управления системы SRS Передает состояние (пристегнут или не пристегнут) ремней безопасности водителя и переднего пассажира в ЭБУ ремней безопасности.
    ЭБУ помощи при движении в сборе
    • Принимает решение о том, что столкновение неизбежно, на основании информации от датчика радара миллиметрового диапазона и ЭБУ распознавания объектов. Затем, если требуется, передает сигнал приведения в действие ремней безопасности, сигнал запроса режима ожидания усилителя экстренного торможения и сигнал запроса предаварийного включения тормозов*.

    • Принимает решение о том, что столкновение неизбежно, на основании информации от заднего датчика радара миллиметрового диапазона. После этого передает сигнал запроса мигания аварийной сигнализации и сигнал приведения в действие интеллектуальных подголовников предаварийной системы безопасности.

    ЭБУ ремней безопасности Получает сигнал запроса приведения в действие ремней безопасности от ЭБУ помощи при движении или ЭБУ системы противоскольжения и приводит в действие ремни безопасности.
    Блок управления рабочими цилиндрами тормозов в сборе Блок управления рабочими цилиндрами тормозов в сборе Приводит в действие тормоза в соответствии с сигналами от ЭБУ системы противоскольжения.
    Датчик давления в главном цилиндре Определяет давление в главном цилиндре и передает сигнал в ЭБУ системы противоскольжения.
    Датчик давления в рабочем тормозном цилиндре Определяет давление в рабочем тормозном цилиндре и передает сигнал в ЭБУ системы противоскольжения.
    ЭБУ системы противоскольжения в сборе
    • Получает сигнал запроса режима ожидания усилителя экстренного торможения от ЭБУ помощи при движении и переводит усилитель экстренного торможения в режим ожидания. При получении сигнала выключателя стоп-сигналов ЭБУ системы противоскольжения приводит в действие усилитель экстренного торможения.

    • Приводит в действие тормоза предаварийной системы, если ЭБУ системы противоскольжения получает сигнал запроса приведения в действие тормозов предаварийной системы от ЭБУ помощи при движении.

    • Получает сигнал запроса применения предупредительного тормоза от ЭБУ контроля движения и приводит в действие предупредительный тормоз.

    • Определяет резкое включение тормозов по сигналам, поступающим от датчика давления в главном цилиндре, и передает сигнал приведения в действие ремней безопасности в ЭБУ ремней безопасности.

    • Определяет проскальзывание (занос) передних или задних колес и передает сигнал приведения в действие ремней безопасности в ЭБУ ремней безопасности.

    • Передает сигналы скорости автомобиля в ЭБУ помощи при движении.

    ЭБУ рулевого управления* При получении сигнала запроса управления VGRS от ЭБУ контроля движения ЭБУ рулевого управления переводит VGRS в режим ожидания, а затем при начале поворота рулевого колеса водителем изменяет передаточное число рулевого управления для улучшения реакции автомобиля.
    ЭБУ управления подвеской Получив сигнал запроса управления пневматической подвеской от ЭБУ помощи при движении, ЭБУ пневматической подвески оптимизирует степень амортизации амортизаторов подвески, чтобы уменьшить снижение передней части автомобиля при торможении и боковой крен при прохождении поворота.
    Камера распознавания объектов Включает 2 камеры на ПЗС, которые регистрируют излучение ближнего инфракрасного диапазона в целях обнаружения трехмерных объектов, и передает данные изображения в ЭБУ распознавания объектов.
    Излучатель ближнего инфракрасного диапазона Использует фильтры, встроенные в излучатель ближнего инфракрасного диапазона фары, для излучения волн ближнего инфракрасного диапазона. Излучение ближнего инфракрасного диапазона позволяет получать изображение с камеры распознавания объектов даже ночью.
    ЭБУ распознавания объектов Определяет положение трехмерного объекта по горизонтали на основании 2 изображений, создаваемых камерой распознавания объектов, и передает информацию в ЭБУ помощи при движении.
    Передний контроллер (ЭБУ передних фар сети мультиплексной связи) Обеспечивает свечение излучателя ближнего инфракрасного диапазона в фаре.
    Камера контроля водителя Камера контроля водителя отслеживает лицо и веки водителя и передает данные изображения в ЭБУ контроля водителя.
    ЭБУ контроля водителя в сборе Направление лица и век водителя определяется на основании данных, полученных с камеры контроля водителя, и данных, отправленных в ЭБУ помощи при движении.
    Выключатель стоп-сигналов в сборе Определяет, нажата ли педаль тормоза, и передает сигнал в ЭБУ системы противоскольжения.
    Датчик частоты вращения Определяют частоту вращения каждого колеса и передают сигналы в ЭБУ системы противоскольжения.
    Датчик рысканья Определяет скорость рысканья и замедление автомобиля в поперечном/продольном направлении, и передает сигналы в ЭБУ системы противоскольжения и ЭБУ помощи при движении.
    Датчик положения рулевого колеса Определяет угол и направление поворота рулевого колеса, и передает сигнал в ЭБУ системы противоскольжения и ЭБУ помощи при движении.
    Выключатель отмены предаварийной системы безопасности в сборе При нажатии запрещает предаварийное включение тормозов. Чтобы уведомить о том, что предаварийная система торможения выключена, загорается контрольная лампа PCS.
    Зуммер системы противоскольжения в сборе Подает звуковой сигнал, предупреждая водителя, в соответствии с сигналами от ЭБУ системы противоскольжения.

    • *: модели с системой VGRS

  2. УСЛОВИЯ РАБОТЫ


    1. Предаварийная система безопасности срабатывает в следующих узлах. Ниже показаны компоненты, которые уменьшают удар:

      Средство ослабления удара Условия работы
      Предаварийное предупреждение
      • Зажигание включено (IG).

      • Выключатель отмены предаварийной системы безопасности не нажат.

      • Скорость автомобиля – 5 км/час (4 мили в час) или выше.

      • Относительная скорость встречного автомобиля не менее приблизительно 5 км/час (4 миль в час).*1

      • Относительная скорость встречного автомобиля не менее приблизительно 15 км/час (10 миль в час).*2

      Предаварийное предупредительное включение тормозов
      • Зажигание включено (IG).

      • Выключатель отмены предаварийной системы безопасности не нажат.

      • Водитель не смотрит вперед или веки не открыты.

      • Скорость автомобиля – 40 км/час (25 миль в час) или выше.

      • Относительная скорость встречного автомобиля не менее приблизительно 40 км/час (25 миль в час).


      • Предаварийное управление усилителем экстренного торможения

      • Управление VGRS*3


      • Зажигание включено (IG).

      • Выключатель отмены предаварийной системы безопасности не нажат.

      • Выключатель VSC OFF не нажат.

      • Скорость автомобиля – 30 км/час (20 миль в час) или выше.

      • Относительная скорость встречного автомобиля не менее приблизительно 30 км/час (20 миль в час).

      Предаварийное управление ремнями безопасности (одновременное экстренное торможение и управление или значительном заносе автомобиля)
      • Зажигание включено (IG).

      • Выключатель отмены предаварийной системы безопасности не нажат.

      • Ремень безопасности пристегнут.

      • Резко включаются тормоза.

      • Система регистрирует потерю управления автомобилем.

      • Скорость автомобиля – 30 км/час (20 миль в час) или выше.


      • Предаварийное управление ремнями безопасности (управление координируется с радаром)

      • Управление пневматической подвеской*4


      • Зажигание включено (IG).

      • Выключатель отмены предаварийной системы безопасности не нажат.

      • Скорость автомобиля – 5 км/час (4 мили в час) или выше.

      • Относительная скорость встречного автомобиля не менее приблизительно 30 км/час (20 миль в час).

      Управление предаварийным включением тормозов*5
      • Зажигание включено (IG).

      • Выключатель VSC OFF не нажат.

      • Выключатель отмены предаварийной системы безопасности не нажат.

      • Скорость автомобиля – 5 км/час (4 мили в час) или выше.

      • Относительная скорость встречного автомобиля не менее приблизительно 5 км/час (4 миль в час).*1

      • Относительная скорость встречного автомобиля не менее приблизительно 15 км/час (10 миль в час).*2

      Управление интеллектуальными подголовниками
      • Зажигание включено (IG).

      • Автомобиль не движется задним ходом.

      • Выключатель отмены предаварийной системы безопасности не нажат.

      • Выключатель VSC OFF не нажат.

      • Относительная скорость автомобиля не менее приблизительно 15 км/час (10 миль в час).


      • *1: кроме моделей для Китая

      • *2: для моделей для Китая

      • *3: для моделей дс системой VGRS

      • *4: для моделей с пневматической подвеской

      • *5: для моделей с системой предаварийного включения тормозов

    2. Когда выключатель отмены предаварийной системы безопасности включен, предаварийная система безопасности не работает.

  3. УПРАВЛЕНИЕ В СИСТЕМЕ


    1. Потеря управляемости автомобилем

      (1) Пока автомобиль движется со скоростью примерно 30 км/час (20 миль в час) или выше, ЭБУ системы противоскольжения по сигналам от датчика положения рулевого колеса, датчика рысканья и датчиков частоты вращения определяет, будет ли затруднен выход из заноса.
      (2) ЭБУ системы противоскольжения передает сигнал запроса приведения в действие ремней безопасности в ЭБУ ремней безопасности.
      (3) Исходя из этого сигнала и сигналов выключателей пряжек ремней безопасности ЭБУ ремней безопасности определяет режимы работы электродвигателей ремней безопасности. Затем ЭБУ ремней безопасности усиливает натяжение ремней безопасности, втягивая их с помощью электродвигателей ремней безопасности.
      (4) Ремни безопасности возвращаются в нормальное состояние, когда нормализуются соответствующие условия движения автомобиля.
      A01GDYRE01
    2. Экстренное торможение

      (1) Когда автомобиль движется со скоростью примерно 30 км/час (20 миль в час) или выше, ЭБУ системы противоскольжения по сигналам от датчика давления в главном цилиндре, выключателя стоп-сигналов и датчиков частоты вращения может зарегистрировать состояние экстренного торможения.
      (2) При этом ЭБУ системы противоскольжения передает сигнал запроса приведения в действие ремней безопасности в ЭБУ ремней безопасности.
      (3) Исходя из этого сигнала и сигналов выключателей пряжек ремней безопасности ЭБУ ремней безопасности определяет режимы работы электродвигателей ремней безопасности. Затем ЭБУ ремней безопасности усиливает натяжение ремней безопасности, втягивая их с помощью электродвигателей ремней безопасности.
      (4) Ремни безопасности возвращаются в нормальное состояние, когда педаль тормоза отпускается.
      A01GDU5E01
    3. Высокая вероятность столкновения или неизбежное столкновение


      1. Представленная ниже диаграмма иллюстрирует последовательность включения систем во время работы предаварийной системы безопасности.

        A01GE00E02
      2. Принцип работы

        (1) На основании сигналов, поступающих от датчика радара миллиметрового диапазона, камеры распознавания объектов, датчика угла поворота рулевого колеса, датчиков частоты вращения и датчика рысканья, ЭБУ помощи при движении определяет, насколько высока вероятность столкновения.
        (2) В это время ЭБУ помощи при движении в сборе передает сигнал запроса индикации предупреждения в мультиинформационный дисплей (щиток приборов), а также сигнал запроса включения зуммера системы противоскольжения в ЭБУ системы противоскольжения.
        (3) Если ЭБУ контроля водителя по сигналу от камеры контроля водителя определяет, что водитель по-прежнему не смотрит вперед, или его глаза закрыты, он передает эту информацию в ЭБУ помощи при движении.
        (4) При получении этого сигнала ЭБУ помощи при движении передает сигнал запроса применения предупредительного тормоза в ЭБУ системы противоскольжения.
        (5) Если ЭБУ помощи при движении определяет, что вероятность неизбежного столкновения так же высока, как на шаге 1, он передает сигнал запроса отображения предупреждения о торможении в мультиинформационный дисплей (щиток приборов в сборе), а также сигнал запроса включения зуммера системы противоскольжения в ЭБУ системы противоскольжения.
        (6) В то же время ЭБУ помощи при движении передает сигнал запроса управления пневматической подвеской в ЭБУ пневматической подвески, сигнал запроса режима ожидания рулевого управления в ЭБУ рулевого управления и сигнал запроса включения усилителя экстренного торможения предаварийной системы в ЭБУ системы противоскольжения. Получив данный сигнал, ЭБУ системы противоскольжения переключает усилитель экстренного торможения в режим ожидания, а ЭБУ рулевого управления переключает VGRS в режим ожидания.
        (7) На основании сигналов, поступающих от датчика радара миллиметрового диапазона, камеры распознавания объектов, датчиков частоты вращения, датчика угла поворота рулевого колеса и датчика рысканья, ЭБУ помощи при движении определяет, что столкновение неизбежно.
        (8) В это время ЭБУ помощи при движении передает сигнал запроса приведения в действие ремней безопасности в ЭБУ ремней безопасности и сигнал запроса предаварийного включения тормозов в ЭБУ системы противоскольжения.
        (9) По этому сигналу и сигналам выключателей пряжек ремней безопасности ЭБУ ремней безопасности определяет режимы работы электродвигателей ремней безопасности и усиливает натяжение ремней безопасности, втягивая их с помощью электродвигателей. В то же время ЭБУ системы противоскольжения приводит в действие блок управления рабочими цилиндрами тормозов для предаварийного торможения.
        (10) Если столкновения удается избежать, ремни безопасности, усилитель экстренного торможения, VGRS и пневматическая подвеска возвращаются в нормальное состояние.
        A01GDYFE01
        A01GDRKE01
    4. Система активного управления подголовниками предаварийной системы безопасности


      1. Представленная ниже диаграмма иллюстрирует последовательность включения систем во время работы системы активного управления подголовниками предаварийной системы безопасности:

        A01GE1ZE01
      2. Принцип работы

        (1) ЭБУ помощи при движении определяет, что столкновение с приближающимся сзади автомобилем неизбежно, по сигналам от следующих датчиков: задний датчик радара миллиметрового диапазона в сборе, датчик частоты вращения (ЭБУ системы противоскольжения в сборе) и датчик рысканья.
        (2) В это время ЭБУ помощи при движении передает в ЭБУ интеллектуального подголовника предаварийной системы безопасности сигнал приведения в действие интеллектуального подголовника предаварийной системы безопасности.
        (3) ЭБУ интеллектуального подголовника предаварийной системы безопасности приводит в действие электродвигатель, встроенный в подголовник, чтобы переместить переднюю поверхность подголовника вперед и вверх.
        (4) При перемещении передней поверхности подголовника вперед и вверх датчик положения головы, встроенный в подушку, измеряет электростатическую емкость между подголовником и головой водителя или переднего пассажира. Эту информацию датчик передает в ЭБУ интеллектуального подголовника предаварийной системы безопасности.
        (5) ЭБУ интеллектуального подголовника предаварийной системы безопасности определяет расстояние между передней поверхностью подголовника и головой водителя или переднего пассажира по сигналу электростатической емкости от датчика положения головы. Затем ЭБУ интеллектуального подголовника предаварийной системы безопасности останавливает переднюю поверхность подголовника, подготавливаясь к заднему столкновению.
        (6) ЭБУ интеллектуального подголовника предаварийной системы безопасности поддерживает положение передней поверхности подголовника в течение приблизительно 0,9 с, подготавливаясь к заднему столкновению. После этого ЭБУ интеллектуального подголовника предаварийной системы безопасности приводит в действие электродвигатель в интеллектуальном подголовнике предаварийной системы безопасности, отводя переднюю поверхность подголовника.
        A01GDUDE01
    5. Открывание или закрывание век и определение направления лица


      1. На моделях с камерой контроля водителя ЭБУ контроля водителя определяет, что водитель не смотрит вперед или его веки не открыты, после чего ЭБУ помощи при движении подает предупреждение.

      2. После предупреждения, если состояние водителя не изменилось, ЭБУ помощи при движении активирует режим предупредительного торможения.

        A01GDV9E01
  4. ФУНКЦИИ


    1. Предупреждающие сообщения, отображаемые на щитке приборов


      1. Щиток приборов в сборе обеспечивает индикацию и выдачу предупреждений предаварийной системы безопасности для водителя, используя главную контрольную лампу аварийного состояния, контрольную лампу PCS, многофункциональный зуммер и мультиинформационный дисплей.

      2. Когда ЭБУ помощи при движении определяет, что существует вероятность столкновения, он передает сигнал в щиток приборов. При получении этого сигнала щиток приборов выводит предупреждение на мультиинформационный дисплей, а также включает главную контрольную лампу аварийного состояния и контрольную лампу PCS. Подробная информация приведена ниже.

      3. Когда ЭБУ помощи при движении определяет, что вероятность столкновения высока, он передает сигнал в щиток приборов. При получении этого сигнала щиток приборов в сборе выводит предупреждение на мультиинформационный дисплей, а также включает главную контрольную лампу аварийного состояния, контрольную лампу PCS и зуммер системы противоскольжения. Подробная информация приведена ниже.

        Когда существует высокая вероятность столкновения
        Мультиинформационный дисплей Описание Зуммер системы противоскольжения в сборе
        A01GEEPE01 ЭБУ помощи при движении определил, что вероятность столкновения еще выше, чем в предыдущем случае. Звучит непрерывно
      4. Как описано ниже, для предаварийной системы безопасности используются 3 типа предупреждающих сообщений. Когда следующие сообщения отображаются на щитке приборов, предаварийная система безопасности не работает.

        Мультиинформационный дисплей Описание Главная контрольная лампа аварийного состояния Контрольная лампа PCS Многофункциональный зуммер DTC
        A01GE8O Данное сообщение отображается, когда ЭБУ ремней безопасности обнаруживает неисправность системы. Горит Горит Подает один звуковой сигнал
        A01GE4T

        Данное сообщение отображается, если ЭБУ ремней обнаруживает выполнение любых из следующих условий:


        • Датчик радара миллиметрового диапазона в сборе загрязнен.

        • Плохие погодные условия

        • Перегрев ЭБУ ремней безопасности

        • Камера распознавания объектов загрязнения

        • Камера контроля водителя загрязнена

        После устранения этих условий система возвращается в нормальный режим работы.

        Горит Мигает Издает 1 звуковой сигнал X
        A01GEAI

        Это сообщение появляется, если нажат выключатель VSC OFF.

        Сообщение отображается в течение 3 с после нажатия выключателя VSC OFF.

        - - - X

        Tech Tips

        ○ : требуется ремонт / выводятся DTC

        X: ремонт не требуется / DTC не выводятся

  5. КОНСТРУКЦИЯ


    1. Датчик радара миллиметрового диапазона в сборе


      1. Датчик радара миллиметрового диапазона содержит схему радара миллиметрового диапазона, схему обработки сигналов и главный процессор.

      2. Датчик радара миллиметрового диапазона передает сигналы только тогда, когда скорость автомобиля превышает 0 км/час (0 миль в час), и не излучает радиоволны, когда скорость автомобиля равна 0 км/час (0 миль в час). Датчик радара миллиметрового диапазона использует частоты диапазона 76,5 ГГц.

      3. Приемные антенны принимают отраженные радиоволны радара миллиметрового диапазона.

      4. Схема обработки сигналов определяет расстояние, относительную скорость и направление объекта, генерируя радиоволны миллиметрового диапазона и оценивая сигналы, принимаемые антеннами. Затем схема обработки сигналов передает эту информацию в ЭБУ помощи при движении.

        A01GE87E02
        Обозначения на рисунке
        *1 Датчик радара миллиметрового диапазона в сборе - -
        *a Дистанция обнаружения: Приблизительно 150 м (490 футов) *b Горизонтальный угол: Приблизительно 20°
        *c Вертикальный угол: Приблизительно 8° *d Схема обработки сигналов
        *e Схема радара миллиметрового диапазона - -
      5. По информации, обеспечиваемой радаром миллиметрового диапазона, рассчитываются расстояние до объекта, азимут (горизонтальный угол) и относительная скорость, как рассмотрено ниже:

        Описание Метод расчета
        Расстояние Рассчитывается по времени, прошедшему с момента излучения волн радаром миллиметрового диапазона до момента приема отраженных волн. Дистанция обнаружения составляет примерно 150 м (490 футов).
        Азимут Рассчитывается по углу прихода отраженных волн, принимаемых радаром миллиметрового диапазона. Угол обнаружения составляет примерно 20° по горизонтали и 8° по вертикали.
        Относительная скорость Рассчитывается по изменениям частоты отраженных радиоволн радара миллиметрового диапазона (эффект Доплера*)

        Tech Tips

        *: Действие эффекта Доплера заключается в том, что при приближении объекта к наблюдателю частота излучаемых им радиоволн увеличивается, а при удалении – уменьшается.

        A01GDZNE01
    2. Задний датчик радара миллиметрового диапазона в сборе


      1. Задний датчик радара миллиметрового диапазона содержит цепь заднего радара миллиметрового диапазона, схему обработки сигналов и главный процессор.

      2. Схема заднего радара миллиметрового диапазона включает универсальную антенну (используемую для приема и передачи) и две приемные антенны.

      3. Задний датчик радара миллиметрового диапазона в сборе использует частоты диапазона 76 ГГц.

      4. Приемные антенны принимают отраженные радиоволны радара миллиметрового диапазона.

      5. Схема обработки сигналов определяет расстояние, относительную скорость и направление объекта, генерируя радиоволны миллиметрового диапазона и оценивая сигналы, принимаемые антеннами. Затем схема обработки сигналов передает эту информацию в ЭБУ помощи при движении.

        A01GDO5E01
        Обозначения на рисунке
        *1 Задний датчик радара миллиметрового диапазона в сборе - -
        *a Дистанция обнаружения: Приблизительно 1,6 - 31 м (5,2 - 101,7 фута) *b Горизонтальный угол: Приблизительно 30°
        *c Вертикальный угол: Приблизительно 4° *d Схема обработки сигналов
        *e Схема заднего радара миллиметрового диапазона - -
      6. По информации, обеспечиваемой радаром миллиметрового диапазона, рассчитываются расстояние до объекта, азимут (горизонтальный угол) и относительная скорость, как рассмотрено ниже:

        Описание Метод расчета
        Расстояние Рассчитывается по времени, прошедшему с момента излучения волн задним датчиком радара миллиметрового диапазона до момента приема отраженных волн. Дистанция обнаружения составляет примерно 1,6-31 м (5,2-101,7 фута).
        Азимут Рассчитывается по углу прихода отраженных волн, принимаемых задним датчиком радара миллиметрового диапазона. Угол обнаружения составляет примерно 30° по горизонтали и 4° по вертикали.
        Азимут Рассчитывается по изменениям частоты отраженных радиоволн радара миллиметрового диапазона (эффект Доплера*)

        Tech Tips

        *: Действие эффекта Доплера заключается в том, что при приближении объекта к наблюдателю частота излучаемых им радиоволн увеличивается, а при удалении – уменьшается.

        A01GE34E01
    3. Излучатель ближнего инфракрасного диапазона


      1. Излучатель ближнего инфракрасного диапазона испускает волны вперед, чтобы камера распознавания объектов получала изображение объектов даже ночью.

      2. Излучатели ближнего инфракрасного диапазона установлены в фарах.

      3. Когда выполняются указанные ниже условия, ЭБУ распознавания объектов передает сигнал запроса излучения волн ближнего инфракрасного диапазона в передний контроллер (ЭБУ передних фар сети мультиплексной связи) через ЭБУ помощи при движении.


        • Зажигание включено (IG).

        • Ближний свет фар включен.

        • Датчик управления освещением системы автоматического управления освещением определил, что снаружи автомобиля стемнело.

        • Автомобиль движется [со скоростью не менее 15 км/час (10 миль в час)]. Однако излучатель ближнего инфракрасного диапазона выключается, когда автомобиль останавливается [скорость 10 км/час (6 миль в час) или менее].

        A01GE5LE01
        Обозначения на рисунке
        *1 Камера распознавания объектов - -
        *a Излучение ближнего инфракрасного диапазона *b Отраженное излучение
      4. На всех моделях, кроме моделей для Китая, каждый модуль дальнего света фары содержит убирающийся фильтр подавления видимого излучения. Когда фара работает как обычная фара дальнего света и испускает видимое излучение, фильтр подавления видимого излучения убран. Для излучения волн ближнего инфракрасного диапазона фильтр подавления видимого излучения устанавливается вертикально. Свет от лампы проходит через фильтр подавления видимого излучения, поэтому испускается только излучение ближнего инфракрасного диапазона. Так как центр фильтра подавления видимого излучения образует призму, лучи, проходящие через фильтр подавления видимого излучения, рассеиваются шире, чем свет обычной фары дальнего света. Количество излучаемой энергии такое же, как у фары дальнего света. Такая конструкция обеспечивает системе большее поле зрения, чем у фар ближнего света.

      5. На моделях для Китая каждый излучатель ближнего инфракрасного диапазона фары содержит фильтр подавления видимого излучения. Свет от лампы проходит через фильтр подавления видимого излучения, поэтому испускается только излучение ближнего инфракрасного диапазона. Так как центр фильтра подавления видимого излучения образует призму, лучи, проходящие через фильтр подавления видимого излучения, рассеиваются шире, чем свет обычной фары дальнего света. Описанная конструкция обеспечивает системе большее поле зрения, чем у фар ближнего света.

      6. Рассматриваемые излучатели испускают незначительное видимое излучение рядом с линзами.

        A01GE4UE01
        Текст на рисунке
        *A кроме моделей для Китая *B Для моделей для Китая
        *1 Линза *2 Электромагнит переключения дальнего света / излучения ближнего инфракрасного диапазона
        *3 Фильтр подавления видимого излучения *4 Лампа
        *a Излучение ближнего инфракрасного диапазона *b Видимое излучение
        *c Работа в качестве источника дальнего света *d Работает как излучатель инфракрасного диапазона

        Note

        Во время работы излучатель ближнего инфракрасного диапазона испускает слабое видимое излучение. При этом, однако, не следует долго смотреть прямо в излучатель ближнего инфракрасного диапазона фары, так как она излучает такое же количество энергии, что и в обычном режиме работы.

    4. Камера распознавания объектов


      1. Камера распознавания объектов содержит 2 камеры, которые находятся на одной линии в передней центральной зоне обивки крыши автомобиля. Так как эти 2 камеры принимают отраженные лучи излучателей ближнего инфракрасного диапазона, встроенных в фары, они могут создавать изображение даже ночью.

      2. 2 камеры в камере распознавания объектов снимают объект и передают сигналы левого и правого изображений в ЭБУ распознавания объектов. ЭБУ распознавания объектов обрабатывает эти изображения, преобразуя их в трехмерную форму, и определяет параллакс для расчета расстояния до объекта.

        A01GE0OE01
        Обозначения на рисунке
        *1 Камера распознавания объектов *2 Линза
        *3 Фильтр подавления видимого излучения *4 ПЗС (приборы с зарядовой связью)
        *5 ЭБУ распознавания объектов - -
        *a Излучение ближнего инфракрасного диапазона *b Видимое излучение
        *c Данные изображения - -
      3. Поле зрения камеры распознавания объектов перед автомобилем охватывает приблизительно 45 градусов по горизонтали и 35 градусов по вертикали.

        A01GDY9E01
        Обозначения на рисунке
        *1 Камера распознавания объектов - -
        *a Приблизительно 45° *b Приблизительно 35°
    5. Камера контроля водителя


      1. Камера контроля водителя, установленная на рулевой колонке, отслеживает лицо и веки водителя и передает данные изображения в ЭБУ контроля водителя.

      2. Лицо и веки водителя освещают 2 источника излучения ближнего инфракрасного диапазона, встроенные в камеру контроля водителя. Затем отраженное излучение проходит через поверхность приема внешнего освещения (изготовленную из материала, подавляющего видимое излучение). После этого оно содержит в основном излучение ближнего инфракрасного диапазона. Матрица на ПЗС принимает отраженный свет и обеспечивает контроль лица и век водителя даже в темноте.

      3. Когда система включена, лицо водителя освещают 2 источника излучения ближнего инфракрасного диапазона, встроенные в камеру контроля водителя.

        A01GE81E01
    6. ЭБУ контроля водителя в сборе


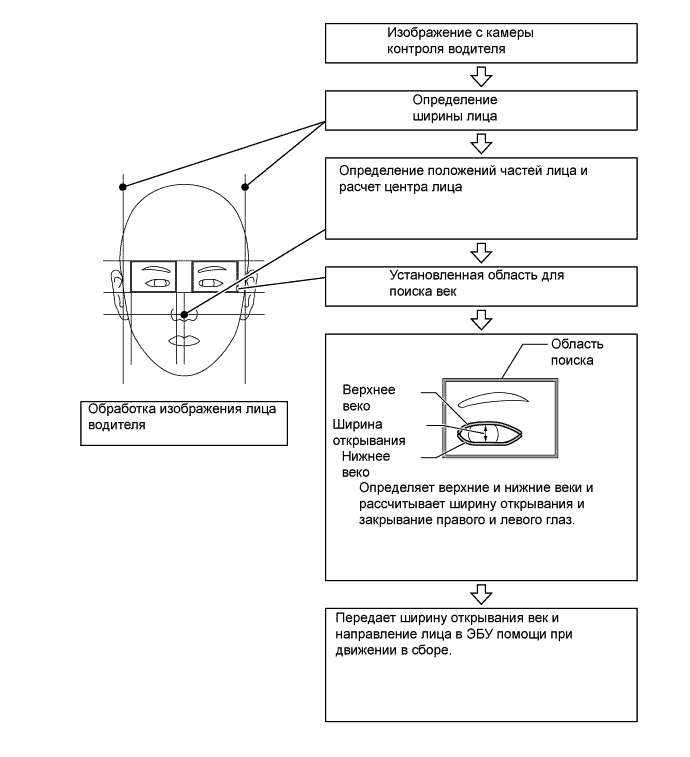
      1. ЭБУ контроля водителя рассчитывает направление лица водителя по ширине лица, положению глаз и рта, а также определяет открытое или закрытое состояние век водителя по ширине верхних и нижних век на изображении, передаваемом камерой контроля водителя. Затем ЭБУ передает сигнал направления лица и открытого или закрытого состояния век в ЭБУ помощи при движении.

        A01GDS0E01
    7. Система активного управления подголовниками предаварийной системы безопасности


      1. Когда задний датчик радара миллиметрового диапазона определяет, что возможно столкновение сзади, передняя поверхность интеллектуального подголовника предаварийной системы безопасности перемещается вперед и вверх. При этом уменьшается расстояние между подголовниками и головами водителя и переднего пассажира, что позволяет уменьшит травмы шеи.

        A01GE31E01
        Обозначения на рисунке
        *1 Система активного управления подголовниками предаварийной системы безопасности - -
        *a Нормальный режим движения *b Столкновение неизбежно
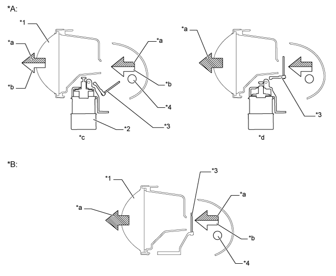
      2. Сиденья водителя и переднего пассажира снабжены интеллектуальными подголовниками предаварийной системы безопасности. Интеллектуальный подголовник предаварийной системы безопасности включает датчик определения положения головы, ЭБУ интеллектуального подголовника предаварийной системы безопасности, рычажный механизм и электродвигатель.

      3. ЭБУ интеллектуального подголовника предаварийной системы безопасности управляет электродвигателем и приводит в действие рычажный механизм, перемещая переднюю часть подголовника вперед и вверх. Максимальное расстояние, на которое перемещается подголовник, составляет 60 мм (2,4 дюйма) вперед и 25 мм (1 дюйм) вверх.

      4. Датчики определения положения головы находятся в подушках подголовников. Датчики определяют положение головы водителя и переднего пассажира по изменениям электростатической емкости* между головой и подголовником. Когда система устанавливает, что столкновение сзади неизбежно, встроенные датчики определяют положение головы водителя и переднего пассажира. Если сиденье не занято, передняя часть соответствующего подголовника перемещается на максимальное расстояние и останавливается. Если сиденье занято, передняя часть соответствующего подголовника перемещается до тех пор, пока она не коснется головы.

        Tech Tips

        *: Способность объекта сохранять электрический заряд. Емкость измеряется в фарадах (F).

        A01GDPNE01
        Обозначения на рисунке
        *1 Датчик определения положения головы *2 ЭБУ системы активного управления подголовниками предаварийной системы безопасности
        *3 Рычажный механизм *4 Электродвигатель
        *a Сечение A - A - -