СИСТЕМА ПОДУШЕК БЕЗОПАСНОСТИ ОБЩИЕ СВЕДЕНИЯ


  1. ОПИСАНИЕ


    1. Подушки безопасности системы SRS (дополнительная (пассивная) система безопасности) водителя и переднего пассажира и подушки безопасности занавесочного типа*1 помогают уменьшить травмы головы и грудной клетки водителя и переднего пассажира в случае фронтального столкновения, дополняя действие ремней безопасности.

    2. Подушки безопасности для защиты коленей ограничивают перемещение нижней части тел водителя и переднего пассажира, повышая тем самым защиту, которую обеспечивают ремни безопасности и передние подушки.

    3. Боковые подушки безопасности для водителя и переднего пассажира, задние боковые подушки безопасности*2 для задних пассажиров, находящихся у дверей, а также подушки безопасности занавесочного типа позволяют уменьшить травмы головы и грудной клетки водителя, переднего пассажира и задних пассажиров, находящихся у дверей, в случае бокового столкновения.

    4. Подушка безопасности в подушке сиденья разворачивается при фронтальном столкновении. Развертывание этой подушки безопасности, при котором передняя часть подушки сиденья надувается с целью фиксации нижней части бедер пассажира, дополняет действие ремня безопасности. Таким образом, она помогает распределить и ослабить энергию удара, действующую на верхнюю часть тела пассажира, включая голову и грудь.*3

      Tech Tips

      *1: При сильном лобовом столкновении развертываются подушки безопасности занавесочного типа.

      *2: для моделей с задними боковыми подушками безопасности системы SRS

      *3: для моделей с подушкой безопасности в подушке заднего сиденья

      A01GDUSE01
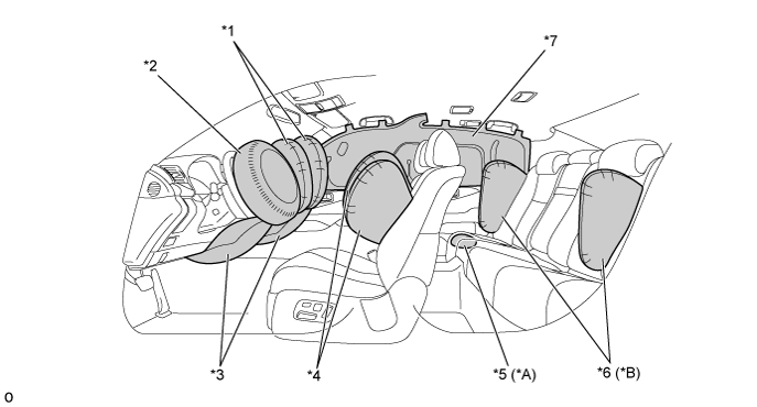
      Текст на рисунке
      *A для моделей с подушкой безопасности в подушке сиденья *B Для моделей с задними боковыми подушками безопасности системы SRS
      *1 Передняя подушка безопасности пассажира системы SRS *2 Подушка безопасности водителя системы SRS
      *3 Подушка безопасности для защиты коленей системы SRS *4 Подушка безопасности передних сидений системы SRS
      *5 Подушка безопасности в подушке сиденья системы SRS *6 Подушка безопасности задних сидений системы SRS
      *7 Подушка безопасности занавесочного типа системы SRS - -
    5. Сиденья водителя и пассажира оснащены активными подголовниками. Когда автомобиль получает удар сзади, система активного подголовника проталкивает переднюю поверхность подголовника вперед, чтобы уменьшить травмы шеи для переднего пассажира и водителя.*


      • *: для моделей с системой активных подголовников

  2. МЕРЫ ПРЕДОСТОРОЖНОСТИ


    1. Регистратор событий


      1. Данный автомобиль оборудуется регистратором событий (EDR). Основной задачей EDR является запись данных, которые помогают понять, как действовали системы автомобиля в конкретных аварийных ситуациях или ситуациях, близких к аварийным (например, в условиях, вызвавших развертывание подушек безопасности, или при столкновении с дорожным препятствием). EDR предназначен для записи данных о динамике автомобиля и работе систем безопасности, относящихся к короткому периоду времени, обычно не более 30 с.

      2. EDR данного автомобиля обеспечивает регистрацию следующих данных:


        • Каким образом действовали различные системы

        • Пристегнуты ли были ремни безопасности водителя и пассажира

        • Насколько водитель нажимал педали акселератора и/или тормоза (если этот факт вообще имел место)

        • Как быстро движется автомобиль

      3. Эти данные можно использовать, чтобы лучше понять обстоятельства, в которых произошла авария, и были получены травмы.

        Note

        Данные записываются EDR только в серьезных аварийных ситуациях. EDR не записывает никаких данных при нормальных условиях движения, а также не записывает никаких персональных данных (например, имя, пол, возраст и место аварии). Тем не менее, другие стороны, например, органы правопорядка, могут быть в состоянии объединить данные EDR с данными идентификации личности, которые обычно собираются при расследовании аварии.

        Для считывания данных, записанных EDR, требуется специальное оборудование и необходим доступ к автомобилю или EDR. Помимо производителя автомобиля считывание информации могут произвести и другие стороны, обладающие необходимым специальным оборудованием, например, органы правопорядка, если у них есть доступ к автомобилю или EDR.

      4. Lexus не сообщает третьим сторонам данные, записанные в EDR, за исключением следующих случаев:


        • Заключено соглашение с владельцем автомобиля (или с компанией, сдающей автомобиль в аренду)

        • Получен официальный запрос из полиции или от других органов власти

        • Для использования компанией Lexus в случае судебного иска

        • В судебном порядке

      5. Однако при необходимости Lexus будет:


        • Использовать данные для исследований с целью повышения безопасности автомобилей

        • Сообщит данные третьей стороне в целях расследования, не разглашая информации о конкретном автомобиле или владельце автомобиля.

      6. Если автомобиль оборудован системой защиты соединения Lexus, и была произведена подписка на соответствующие услуги, информацию о собираемых данных и их использовании можно найти в соглашении на услуги обработки и передачи информации системы защиты соединения Lexus.