СИСТЕМА ПОМОЩИ ПРИ ПАРКОВКЕ ДЕТАЛЬНОЕ ОПИСАНИЕ


  1. НАЗНАЧЕНИЕ ОСНОВНЫХ УСТРОЙСТВ

    Устройство Функция
    Многофункциональный дисплей (вспомогательный индикатор в сборе) Получает видеосигналы, представляющие изображение заднего вида из автомобиля и парковочные линии, которые на изображение накладывает приемник мультимедийного модуля в сборе, и обеспечивает их отображение на панели дисплея.
    Задняя телекамера в сборе Получает изображение зоны за автомобилем и передает видеосигналы в приемник мультимедийного модуля в сборе.
    Сенсорный пульт дистанционного управления Обеспечивает переключение в режимы помощи.
    ЭБУ системы противоскольжения в сборе Получает и обрабатывает сигналы всех типов и передает их в приемник мультимедийного модуля в сборе.
    ECM Получает и обрабатывает сигналы всех типов и передает их в приемник мультимедийного модуля в сборе.
    Датчик положения паркинга/нейтрали Передает сигнал положения рычага переключения передач в ECM.
    Датчик положения рулевого колеса Определяет угол поворота рулевого колеса и передает сигналы в ЭБУ системы противоскольжения в сборе.
    Главный ЭБУ кузова (распределительный блок со стороны водителя) Передает сигнал выключателя освещения проема двери багажного отделения в приемник мультимедийного модуля в сборе.
    ЭБУ рулевого управления с усилителем Передает сигнал VGRS в ЭБУ системы противоскольжения в сборе.
    ЭБУ предупреждения о недопустимой дистанции в сборе Передает данные обнаружения системы ультразвуковой локации в ECM.
    Приемник мультимедийного модуля в сборе Получает сигналы от сенсорного пульта дистанционного управления и передает сигнал в многофункциональный дисплей.
    Щиток приборов в сборе Передает полученные сигналы скорости автомобиля в приемник мультимедийного модуля в сборе.
    ЭБУ устройства поворота фар в сборе Передает информацию о колесной базе в приемник мультимедийного модуля в сборе.
  2. УСЛОВИЯ РАБОТЫ


    1. Система помощи при парковке


      1. Мониторная система помощи при парковке работает при выполнении всех следующих условий:


        • Зажигание включено (IG).

        • Рычаг переключения передач в положении "R".

        • Дверь багажного отделения закрывается.

  3. ФУНКЦИИ


    1. Зона, отображаемая на экране


      1. Задняя телекамера в сборе


        • На дисплее справа отображаются объекты, которые находятся справа от автомобиля, а слева отображаются объекты, которые находятся слева от автомобиля.

        • Задняя телекамера имеет широкоугольный объектив. Расстояния до объектов, воспринимаемые с помощью экрана, отличаются от фактических расстояний.

          A01GE90

          Tech Tips

          Зона, отображаемая на экране, может изменяться в зависимости от состояния автомобиля и дорожных условий. Зона обзора задней телекамеры ограничена. На изображении с задней телекамеры не видны объекты, расположенные рядом с краями бампера и под бампером.

    2. Предупреждающее сообщение


      1. При выполнении следующих условий в нижней, боковой или центральной части экрана выводится предупреждающее сообщение. Предупреждающее сообщение выводится на языке, установленном для многофункционального дисплея.

        Сообщение, выводимое в нижней или боковой части экрана
        Предупреждающее сообщение Условие
        Check surroundings for safety (убедитесь в отсутствии опасных предметов вокруг автомобиля) Во время работы системы.
        System Initializing (инициализация системы) Система перезапускается после того, как приемник мультимедийного модуля в сборе обнаруживает, что вывод аккумуляторной батареи отсоединялся и был подсоединен снова.
        Guidance Unavailable (помощь невозможна) Ошибка сигнала датчика угла поворота рулевого колеса.
        Сообщение, выводимое в центре экрана
        Предупреждающее сообщение Условие
        System not ready (система не готова) Если система не инициализирована.
  4. КОНСТРУКЦИЯ


    1. Задняя телекамера в сборе


      1. Телекамера имеет широкоугольный объектив и матрицу на комплементарных металло-оксидных полупроводниках.

        A01GDSEE01
        Обозначения на рисунке
        *1 Задняя телекамера в сборе - -
    2. Многофункциональный дисплей (дисплей системы помощи при парковке)


      1. Режим пассивной помощи


        • Режим пассивной помощи включает режим парковки с отображением парковочных направляющих линий A, режим отображения с использованием линий, ограничивающих маневрирование в продольном направлении, и C: режим парковки с использованием расчетных направляющих линий C. Первоначально (по умолчанию) устанавливается режим парковки с отображением расчетных направляющих линий.

        • Любой режим можно сменить нажатием экранной кнопки выбора режима отображения.

        • В режиме перпендикулярной парковки на изображение заднего вида из автомобиля накладываются неподвижные направляющие линии. По этим линиям можно ориентироваться при движении задним ходом.

          A01GDNRE01
          Обозначения на рисунке
          *1 Экранная кнопка выбора режима отображения - -
          *a Режим парковки с отображением парковочных направляющих линий *b Режим отображения с использованием линий, ограничивающих маневрирование в продольном направлении
          *c Режим отображения расчетных линий курса - -
        • Следующая схема содержит описание дисплея в режиме отображения с использованием парковочных направляющих линий:

          A01GEAZE01
          Позиция Описание
          *1 Парковочная направляющая линия (синяя) Указывает путь автомобиля при полном повороте рулевого колеса.
          *2 Линия, ограничивающая маневр автомобиля по ширине (синяя) Показывает расчетную ширину автомобиля.
          *3 Линия, ограничивающая маневр в продольном направлении (красная) Показывает положение на поверхности земли на расстоянии примерно 0,5 м (1,5 фута) позади заднего бампера.
          *4 Кнопка переключения режима отображения Нажатие этой кнопки изменяет режим монитора заднего вида.
          *5 Область вывода предупреждающих сообщений Указывает область, в которой отображаются предупреждающие сообщения.
          *6 Экранная кнопка выбора режима парковки Нажатие этой кнопки приводит к включению режима параллельной парковки.
        • Следующая схема содержит описание дисплея в режиме отображения с использованием расчетных направляющих линий:

          A01GE3ME01
          Позиция Описание
          *1 Линия, ограничивающая маневр в продольном направлении (красная) Показывает положение на поверхности земли на расстоянии примерно 0,5 м (1,5 фута) позади заднего бампера.
          *2 Кнопка переключения режима отображения Нажатие этой кнопки изменяет режим монитора заднего вида.
          *3 Область вывода предупреждающих сообщений Указывает область, в которой отображаются предупреждающие сообщения.
          *4 Экранная кнопка выбора режима парковки Нажатие этой кнопки приводит к включению режима параллельной парковки.
        • Следующая схема содержит описание дисплея в режиме отображения с использованием расчетных направляющих линий:

          A01GE7DE01
          Позиция Описание
          *1 Расчетная линия курса (желтая) Перемещается синхронно с движением рулевого колеса, показывая расчетный курс движения автомобиля задним ходом.
          *2 Линия, ограничивающая маневр автомобиля по ширине (синяя) Показывает расчетную ширину автомобиля.
          *3 Кнопка переключения режима отображения Нажатие этой кнопки изменяет режим монитора заднего вида.
          *4 Область вывода предупреждающих сообщений Указывает область, в которой отображаются предупреждающие сообщения.
          *5 Экранная кнопка выбора режима парковки Нажатие этой кнопки приводит к включению режима параллельной парковки.
          *6 Линия, ограничивающая маневр в продольном направлении (синяя) Показывает положение на поверхности земли на расстоянии примерно 0,5 м (1,5 фута) позади заднего бампера.
          *7 Линия, ограничивающая маневр в продольном направлении (красная) Перемещается вместе с расчетными направляющими линиями синхронно с движением рулевого колеса. Центральная точка линии соответствует положению на поверхности земли на расстоянии примерно 0,5 м (1,5 фута) позади заднего бампера.
          *8 Линия, ограничивающая маневрирование в продольном направлении (желтая) Перемещается вместе с расчетными направляющими линиями синхронно с движением рулевого колеса. Центральная точка линии соответствует положению на поверхности земли на расстоянии примерно 1,0 м (3,0 фута) позади заднего бампера.
      2. Режим параллельной парковки


        • Параллельная парковка возможна с использованием следующих двух режимов отображения: стандартного режима и режима уменьшенного расстояния.

        • Режим уменьшенного расстояния предназначен для ситуаций, когда места для парковки меньше, чем обычно.

        • По умолчанию используется стандартный режим параллельной парковки.

          A01GE74E01
          Обозначения на рисунке
          *a Стандартный режим *b Режим уменьшенного расстояния
          *c Расстояние, необходимое для парковки *d Состояние дисплея
        • Структура экрана в стандартном режиме параллельной парковки и в режиме уменьшенного расстояния одинакова.

        • Расположение направляющих линий, отображаемых в режиме параллельной парковки, изменяется в зависимости от маневров парковки.

          A01GEBCE01
          Позиция Описание
          *1 Синий контур
          • Обозначает требуемое конечное положение при парковке.

          • Исчезает, как только автомобиль начинает движение задним ходом.

          *2 Черно-желтый вертикальный шест Обозначает исходное положение для начала парковки в ряд.
          *3 Синяя кривая линия Показывает часть расчетной траектории наружной стороны автомобиля, когда рулевое колесо до упора поворачивается вправо или влево.
          *4 Экранная кнопка выбора режима Используется для переключения между стандартным режимом и режимом уменьшенного расстояния.
          *5 Область вывода предупреждающих сообщений Указывает область, в которой отображаются предупреждающие сообщения.
          *6 Экранная кнопка выбора режима парковки Производит переключение между режимом парковки в ряд и режимом перпендикулярной парковки.
          *7 Линия, ограничивающая маневр автомобиля по ширине (синяя) Показывает расчетную ширину автомобиля.
          *8 Линия, ограничивающая маневрирование в продольном направлении (желтая) Перемещается вместе с расчетными направляющими линиями синхронно с движением рулевого колеса. Центральная точка линии соответствует положению на поверхности земли на расстоянии примерно 1,0 м (3,0 фута) позади заднего бампера.
          *9 Расчетная линия курса (желтая) Перемещается синхронно с движением рулевого колеса, показывая расчетный курс движения автомобиля задним ходом.
          *10 Линия, ограничивающая маневр в продольном направлении (красная) Перемещается вместе с расчетными направляющими линиями синхронно с движением рулевого колеса. Центральная точка линии соответствует положению на поверхности земли на расстоянии примерно 0,5 м (1,5 фута) позади заднего бампера.
  5. ПРИНЦИП РАБОТЫ


    1. Режим отображения парковочных направляющих линий (при перпендикулярной парковке) системы монитора помощи при парковке


      1. Чтобы припарковать автомобиль на стоянке в режиме пассивной помощи с использованием парковочных направляющих линий на дисплее, выполните следующие действия:


        1. Установите рычаг переключения передач в положение R.

        2. Выберите режим перпендикулярной парковки.

        3. Выберите режим отображения парковочных направляющих линий.

        4. На панели дисплея появится изображение, показанное ниже.

          A01GDXU
        5. Двигаясь задним ходом, остановитесь в точке, где парковочная направляющая линия пересекается с левой стороной намеченного парковочного положения.

        6. Поверните рулевое колесо до упора вправо и двигайтесь задним ходом.

          A01GDM6
        7. Продолжайте движение задним ходом, пока автомобиль не развернется параллельно изображенным линиям.

        8. После того, как автомобиль встанет параллельно линиям, установите рулевое колесо прямо и двигайтесь задним ходом, пока автомобиль не займет требуемое парковочное положение.

          A01GE44
    2. Режим отображения расчетных линий курса (для перпендикулярной парковки) системы помощи при парковке


      1. Чтобы припарковать автомобиль на стоянке в режиме пассивной помощи с использованием расчетных направляющих линий, выполните следующие действия:


        1. Установите рычаг переключения передач в положение R.

        2. Выберите режим пассивной помощи.

        3. Выберите режим отображения расчетных линий курса.

        4. На панели дисплея появится изображение, показанное ниже.

          A01GDY4
        5. Поверните рулевое колесо так, чтобы расчетные направляющие линии оказались в месте стоянки, и осторожно начните двигаться назад.

          A01GDYY
        6. Когда задняя часть автомобиля окажется в месте стоянки, поверните рулевое колесо, чтобы уравнять расстояния слева и справа между линиями, ограничивающими маневр автомобиля по ширине, и боковыми линиями места стоянки.

        7. Добившись параллельности линий, ограничивающих маневр автомобиля по ширине, и боковых линий места стоянки, выровняйте положение рулевого колеса, а затем начните осторожно двигаться задним ходом до тех пор, пока автомобиль полностью не окажется в месте стоянки.

          A01GDSM
    3. Режим парковки в ряд монитора помощи при парковке


      1. Чтобы припарковать автомобиль на стоянке с использованием режима парковки в ряд, выполните следующую процедуру:


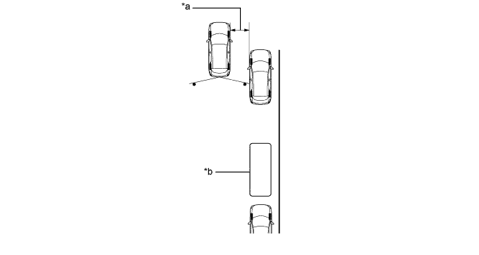
        1. Остановите автомобиль параллельно краю дороги или обочине таким образом, чтобы расстояние до припаркованного автомобиля составляло приблизительно 1 м (3,3 фута), примерно на полкорпуса впереди припаркованного автомобиля.

          A01GE0WE01
          Обозначения на рисунке
          *a Примерно 1 м (3,3 фута) *b Предполагаемое положение парковки
        2. Установите рулевое колесо прямо и переместите рычаг переключения передач в положение R.

        3. Выберите режим параллельной парковки.

        4. На панели дисплея появится изображение, показанное ниже:

          A01GDY5
        5. Двигайтесь задним ходом и остановитесь, когда черная и желтая вертикальная линия предполагаемого места парковки совпадет с задним краем припаркованного автомобиля.

          A01GDP0E01
          Обозначения на рисунке
          *a Черно-желтый вертикальный шест - -
        6. В процессе поворота рулевого колеса на экране появляется синий контур. В этот момент, если рулевое колесо повернуто на угол более 90 градусов, синяя вертикальная линия напротив заданного места парковки исчезнет.

          A01GECUE01
          Обозначения на рисунке
          *a Синий контур - -
        7. Продолжайте поворачивать рулевое колесо, смещая при этом синий контур в направлении предполагаемого места парковки, пока контур не примет вид, показанный на рисунке ниже. Продолжайте поворачивать рулевое колесо до тех пор, пока синий контур не будет совмещен с предполагаемым местом парковки.

          A01GDUYE01
          Обозначения на рисунке
          *a Синий контур - -
        8. Однако если рулевое колесо повернуто на слишком большой угол, появится сообщение, показанное на рисунке ниже, и синий контур станет красным, указывая на то, что дальнейшая помощь невозможна. Кроме того, если автомобиль находится слишком далеко от других машин, аналогичная ситуация возникнет даже при установке синего контура в нормальное положение.

          A01GDWLE01
          Обозначения на рисунке
          *a Цвет контура изменяется с синего на красный - -
        9. На предполагаемом месте парковки появятся вертикальная линия (синяя) и рамка места парковки (синяя).

          A01GEE0E01
          Обозначения на рисунке
          *a Синяя кривая линия - -
        10. Удерживайте рулевое колесо в этом положении и продолжайте движение задним ходом. Остановитесь, когда парковочная линия коснется левого края предполагаемого места парковки.

          A01GEAD
        11. Когда автомобиль остановится, поверните рулевое колесо до упора в противоположном направлении.

          A01GDMA
        12. Используя направляющую линию, ограничивающую маневрирование в продольном направлении, медленно двигайтесь задним ходом, пока автомобиль на встанет параллельно краю дороги или обочине, следя при этом за автомобилями спереди и сзади. Парковочный маневр будет завершен, как только автомобиль встанет параллельно.

          A01GDWG
  6. ДИАГНОСТИКА


    1. Система помощи при парковке обладает функцией самодиагностики, позволяющей работать с меню диагностики. Экран меню диагностики вызывается так же, как для многофункционального дисплея. Более подробную информацию см. в Руководстве по ремонту.