ПНЕВМАТИЧЕСКАЯ ПОДВЕСКА ДЕТАЛЬНОЕ ОПИСАНИЕ


  1. НАЗНАЧЕНИЕ ОСНОВНЫХ УСТРОЙСТВ

    Устройство Функция
    Пневматический цилиндр с амортизатором в сборе
    • Регулирует высоту подвески автомобиля.

    • За счет поворота поворотной заслонки изменяет масляный канал и переключает демпфирующее усилие.

    Привод амортизатора Изменяют режим демпфирования амортизаторов.
    Клапан регулировки высоты подвески № 1 в сборе и клапан регулировки высоты подвески № 2 в сборе Подают сжатый воздух в воздушные камеры 4 пневмоцилиндров с амортизаторами в сборе и выпускают его из камер.
    Компрессор регулировки высоты подвески № 1 Электродвигатель Подает в систему сжатый воздух для увеличения высоты подвески автомобиля.
    Осушитель системы регулировки высоты подвески в сборе Удаляет влагу из сжатого воздуха.
    Выпускной клапан регулировки высоты подвески Выпускает сжатый воздух из пневмоцилиндров с амортизаторами в сборе в атмосферу для уменьшения высоты подвески автомобиля.
    Датчик высоты подвески в сборе Определяет высоту подвески автомобиля.
    Датчик ускорения Определяют вертикальную составляющую ускорения кузова.
    Датчик положения рулевого колеса Определяет направление и угол поворота рулевого колеса.

    Датчик рысканья

    (со встроенным датчиком замедления)

    Определяет продольную и боковую составляющие ускорения и замедления.
    Комбинированный переключатель в сборе Выбор режима движения Переключает режим движения.
    Переключатель регулировки высоты Задает высоту подвески автомобиля.
    Щиток приборов в сборе Контрольная лампа регулировки высоты Указывает состояние переключателя регулировки высоты подвески.
    Мультиинформационный дисплей
    • Показывает выбранный режим привода.

    • В случае нарушения работы системы выдает предупреждающее сообщение.

    Главная контрольная лампа аварийного состояния Загорается, когда на мультиинформационном дисплее отображается предупреждающее сообщение.
    ЭБУ управления подвеской (со встроенным датчиком ускорения)
    • Оценивает состояние автомобиля в соответствии с сигналами, передаваемыми датчиками и переключателями, и выдает сигналы управления для компрессора регулировки высоты подвески № 1 и клапанов регулировки высоты.

    • Оценивает состояние автомобиля в соответствии с сигналами, передаваемыми датчиками и переключателями, и выдает сигналы управления для приводов амортизаторов.

    • Определяют вертикальную составляющую ускорения кузова.

    ECM Передает в ЭБУ управления подвеской сигнал частоты вращения коленчатого вала двигателя и сигнал крутящего момента.
    ЭБУ системы противоскольжения в сборе
    • Передает сигнал скорости автомобиля в ЭБУ управления подвеской.

    • Передает сигнал нажатия педали тормоза в ЭБУ управления подвеской.

    • Передает запрос на регулирование демпфирующего усилия в ЭБУ управления подвеской.

    ЭБУ помощи при движении в сборе* Передает запрос на регулирование демпфирующего усилия в ЭБУ управления подвеской.
    Главный ЭБУ кузова (распределительный блок со стороны водителя) Передает сигналы выключателей освещения дверных проемов в ЭБУ управления подвеской.

    • *: для моделей с предаварийной системой безопасности

  2. УПРАВЛЕНИЕ В СИСТЕМЕ


    1. Система регулировки высоты подвески автомобиля выполняет следующие функции:

      Функция Описание
      Функция автоматической стабилизации высоты
      • Стабилизирует высоту подвески автомобиля независимо от веса груза и пассажиров.

      • Оценивает число пассажиров и объем багажа в автомобиле, когда подается сигнал выключателя освещения дверного проема, и быстро регулирует высоту подвески автомобиля.

      Функция регулирования на высокой скорости Опускает автомобиль во время движения с заданной или более высокой скоростью Это управление способствует улучшению аэродинамики автомобиля и обеспечивает повышенную курсовую устойчивость на высоких скоростях.
      Функция выбора высоты подвески автомобиля Водитель по мере необходимости может установить вместо нормальной высоты подвески большую высоту подвески, используя переключатель регулировки высоты подвески.
    2. AVS выполняет следующие функции управления.

      Функция управления Описание
      Управление отдачей (нелинейное управление H∞) Плавно регулирует демпфирующее усилие, устанавливая требуемую величину в зависимости от изменения состояния дорожной поверхности и условий движения. В результате наряду с высокоэффективным демпфированием колебаний обеспечивается исключительный комфорт во время движения.
      Регулирование угла крена Эта функция регулирует демпфирующее усилие, снижая разность фаз между углами поперечного и продольного крена во время управления направлением движения, за счет чего обеспечиваются плавных ход и превосходная маневренность.
      Управление в жестком режиме Когда состояние дороги не вынуждает использовать дополнительное демпфирующее усилие, управляет амортизаторами таким образом, чтобы их демпфирующее усилие не увеличивалось.
      Гашение колебаний неподрессоренной массы При выявлении резонанса неподрессоренной массы эта функция обеспечивает такое управление, при котором демпфирующее усилие не снижается ниже определенного уровня, что обеспечивает ослабление резонанса неподрессоренной массы.
      Управление, препятствующее продольному наклону кузова при торможении Увеличивает жесткость подвески, ограничивая продольный наклон кузова при торможении и обеспечивая превосходную курсовую устойчивость и управляемость.
      Управление, препятствующее продольному наклону кузова при разгоне Увеличивает жесткость подвески при разгоне, минимизируя колебания положения автомобиля.
      Система управления по скорости автомобиля Регулирует демпфирующее усилие согласно скорости автомобиля, обеспечивая комфорт на низкой скорости и отличную курсовую устойчивость и управляемость на высокой скорости.
      Управление во время работы VSC Эта функция изменяет демпфирующее усилие для регулирования положения автомобиля во время работы системы VSC (занос передних или задних колес).
      Управление предаварийной системой безопасности* Эта функция устанавливает демпфирующее усилие высокой жесткости в соответствии с сигналами запроса регулировки демпфирующего усилия от ЭБУ помощи при движении, благодаря чему уменьшается продольный наклон кузова при торможении.
      Выбор режима демпфирования Функция выбора режима привода позволяет водителю установить необходимое демпфирующее усилие, соответствующее одному из 3 режимов.

      • *: для моделей с предаварийной системой безопасности

    3. Управление отдачей (нелинейное управление H∞)


      1. ЭБУ управления подвеской определяет вибрации (в направлениях подъема, крена и продольного наклона) по сигналам датчика ускорения и регулирует демпфирующее усилие всех 4 колес, использую логику нелинейного управления H∞. Поэтому отдача автомобиля регулируется плавным и естественным образом, обеспечивая комфорт при движении.

        A01GDSCE01
    4. Регулирование угла крена


      1. Демпфирующее усилие каждого колеса регулируется согласно сигналам датчика положения рулевого колеса и датчика рысканья (сигнал датчика замедления) таким образом, чтобы оптимизировать положение автомобиля во время поворота.

      2. Демпфирующее усилие с внутренней и наружной сторон поворота регулируется независимо для каждого из 4 колес с использованием модели с регулированием угла крена, в которой амортизаторы (для ослабления крена и подъема) располагаются в гипотетической точке внутри поворота и регулируют перемещение в 2 направлениях. В результате оптимизируется положение автомобиля на повороте, и гарантируются необходимые характеристики сцепления с поверхностью земли.

      3. Демпфирующее усилие регулируется таким образом, чтобы уменьшить сдвиг по фазе между углом крена и углом продольного наклона, обеспечивая положение автомобиля, отвечающее ощущениям человека и обеспечивающее комфортное рулевое управление.

        A01GE0LE01
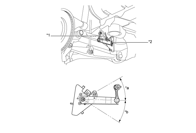
    5. Выбор режима демпфирования


      1. Режим демпфирования можно выбрать с помощью переключателя выбора режима движения.

        A01GDY7E01
        Обозначения на рисунке
        *1 Комбинированный переключатель в сборе *2 Выбор режима движения
        *3 Переключатель регулировки высоты - -
      2. ЭБУ управления подвеской устанавливает режим демпфирования (COMFORT, NORMAL или SPORT) в соответствии с выбранным режимом движения.

      3. Если выбран режим демпфирования SPORT, демпфирующее усилие устанавливается выше, чем в режиме NORMAL, обеспечивая тем самым установку, соответствующую спортивному вождению.

      4. Если выбран режим демпфирования COMFORT, демпфирующее усилие устанавливается ниже, чем в режиме NORMAL, обеспечивая тем самым плавное и комфортное движение.

        Режим движения (положение переключателя выбора режима движения) Режим демпфирования
        SPORT S+ SPORT
        SPORT S NORMAL
        NORMAL NORMAL
        COMFORT COMFORT
        ECO NORMAL
        A01GDZPE01
  3. КОНСТРУКЦИЯ


    1. Компрессор регулировки высоты подвески № 1


      1. Компрессор регулировки высоты № 1 представляет собой единый узел, включающий собственно компрессор с электродвигателем, который подает сжатый воздух, необходимый для увеличения высоты подвески автомобиля, осушитель системы регулировки высоты подвески, который удаляет влагу из сжатого воздуха, подаваемого компрессором с электродвигателем, и выпускной клапан регулировки высоты, который выпускает сжатый воздух из пневмоцилиндра с амортизатором в сборе в атмосферу.

        A01GDZ9E01
        Обозначения на рисунке
        *1 Выпускной клапан регулировки высоты подвески *2 Осушитель системы регулировки высоты подвески в сборе
        *3 Электродвигатель *4 Компрессор регулировки высоты подвески
    2. Пневматический цилиндр с амортизатором в сборе


      1. Пневмоцилиндр с амортизатором в сборе включает отдельную воздушную камеру с большой емкостью для сжатого воздуха, обеспечивающую отличный комфорт при движении.

      2. Используются однотрубные амортизаторы с регулируемым демпфирующим усилием.

      3. Амортизатор создает демпфирующее усилие в чрезвычайно малом диапазоне скоростей поршня, что повышает удобство управления и гарантирует превосходные ездовые качества автомобиля. Кроме того, благодаря полностью регулируемой характеристике демпфирования амортизатора достигаются великолепная курсовая устойчивость и плавность хода при любом состоянии дорожной поверхности.

      4. Для переключения демпфирующего усилия амортизатора используются клапан увеличения жесткости и клапан уменьшения жесткости. Демпфирующее усилие регулируется поворотной заслонкой, которая изменяет количество масла, протекающего через клапан.

      5. На моделях с приводом на одну ось пневмоцилиндры с амортизаторами снабжены нелинейными пружинами обратного хода. Для поддержания комфортного движения и уменьшения крена на поворотах постоянное значение, которое обычно не изменяется для пружин обратного хода, в случае нелинейных пружин обратного хода ступенчато регулируется.

        A01GDUGE01
        Обозначения на рисунке (передний пневмоцилиндр с амортизатором)
        *A Для моделей с приводом на одну ось *B Для моделей с постоянным полным приводом
        *1 Воздушная камера *2 Мембрана
        *3 Поршень *4 Азот под высоким давлением
        *5 Нелинейная пружина обратного хода *6 Ограничитель
        *7 Клапан увеличения жесткости *8 Поворотная заслонка
        *9 Клапан уменьшения жесткости - -
        A01GDMHE01
        Обозначения на рисунке (задний пневмоцилиндр с амортизатором)
        *1 Воздушная камера *2 Мембрана
        *3 Поршень *4 Азот под высоким давлением
        *5 Ограничитель *6 Клапан увеличения жесткости
        *7 Поворотная заслонка *8 Клапан уменьшения жесткости
    3. Клапан регулировки высоты подвески в сборе


      1. Клапаны регулировки высоты подвески управляют воздушными каналами между компрессором регулировки высоты № 1 и всеми пневмоцилиндрами с амортизаторами в сборе.

        A01GDN1E01
        Обозначения на рисунке (клапан регулировки высоты подвески № 1 в сборе)
        *1 Электромагнитный клапан - -
        *a Канал (к клапану регулировки высоты подвески № 2 в сборе) *b Канал (к левому переднему пневмоцилиндру с амортизатором в сборе)
        *c Канал (от компрессора регулировки высоты № 1) *d Канал (к правому переднему пневмоцилиндру с амортизатором в сборе)
        A01GE7BE01
        Обозначения на рисунке (клапан регулировки высоты подвески № 2 в сборе)
        *1 Электромагнитный клапан - -
        *a Канал (от клапана регулировки высоты подвески № 1 в сборе) *b Канал (к левому заднему пневмоцилиндру с амортизатором в сборе)
        *c Канал (к правому заднему пневмоцилиндру с амортизатором в сборе) - -
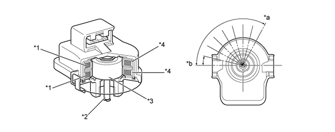
    4. Привод амортизатора


      1. В приводе амортизатора используется шаговый электродвигатель, обладающий 9-шаговым диапазоном, что позволяет очень точно изменять демпфирующее усилие.

      2. Шаговый двигатель состоит из 2 наборов статоров и обмоток.

      3. Для регулировки демпфирующего усилия шаговый двигатель заставляет магнитный ротор, который соединен непосредственно с управляющим штоком амортизатора, совершать небольшие вращательные движения согласно сигналам, полученным из ЭБУ управления подвеской.

        A01GEC6E01
        Обозначения на рисунке
        *1 Обмотка *2 Выходной вал
        *3 Магнитный ротор *4 Статор
        *a Мягко *b Жестко
    5. Датчик высоты подвески в сборе


      1. Датчик высоты подвески в сборе измеряет высоту подвески автомобиля.

      2. Этот датчик имеет рычаг, который перемещается в соответствии с изменением высоты подвески, вызывая изменение напряжения, что позволяет ЭБУ управления подвеской определять высоту подвески автомобиля.

        A01GDRZE01
        Обозначения на рисунке (передний датчик высоты подвески в сборе)
        *A Для моделей с приводом на одну ось *B Для моделей с постоянным полным приводом
        *1 Датчик высоты передней подвески в сборе *2 Рычаг
        *a Прямой ход *b Обратный ход
        A01GE7SE01
        Обозначения на рисунке (задний датчик высоты подвески в сборе)
        *1 Рычаг *2 Датчик высоты задней подвески в сборе
        *a Прямой ход *b Обратный ход
    6. Датчик ускорения


      1. Датчик ускорения определяет вертикальное перемещение кузова.

      2. Предусмотрено 3 датчика ускорения. Один из низ встроен в ЭБУ управления подвеской. Таким образом, датчики ускорения независимо измеряют вертикальные составляющие ускорения.

        A01GE80E01
    7. Датчик положения рулевого колеса


      1. Датчик положения рулевого колеса определяет направление и угол поворота рулевого колеса.

      2. В приводе установлены 2 пары магниторезистивных элементов, которые определяют вращение магнита, встроенного в измерительное зубчатое колесо. Привод определяет изменения магнитного сопротивления в процессе вращения измерительного зубчатого колеса при повороте рулевого колеса.

        A01GDYME01
        Обозначения на рисунке
        *1 Измерительное зубчатое колесо - -
        *a Передняя сторона - -
    8. Датчик рысканья


      1. Для обеспечения компактности датчик рысканья объединен с датчиком замедления и находится в нижней части центральной консоли.

      2. Датчик рысканья определяет изменения емкости, обусловленные вращением вертикальной оси автомобиля с угловой скоростью поворота.

      3. Датчик замедления определяет изменения емкости между подвижным и неподвижным электродами при замедлении автомобиля. Определение полного замедления автомобиля в горизонтальной плоскости обеспечивают 2 датчика замедления, установленные под углом 45 градусов спереди и сзади.

        A01GE7RE01
        Обозначения на рисунке
        *1 Датчик рысканья *2 Датчик замедления
  4. Функция работы в аварийном режиме


    1. Когда в системе пневматической подвески возникает неисправность, ЭБУ управления подвеской запрещает регулирование высоты подвески автомобиля и демпфирующего усилия.

  5. ДИАГНОСТИКА


    1. Когда ЭБУ управления подвеской обнаруживает неисправность в пневматической подвеске, он включает главную контрольную лампу аварийного состояния и отображает на мультиинформационном дисплее сообщение, чтобы уведомить водителя о неисправности.

    2. Кроме того, ЭБУ управления подвеской сохраняет диагностический код неисправности (DTC). DTC можно считать с помощью Global TechStream (GTS). Более подробную информацию см. в руководстве по ремонту.