STEERING COLUMN SYSTEM DETAILS


  1. FUNCTION OF MAIN COMPONENTS

    Component Function
    Tilt Steering Gear with Motor Assembly Tilt Motor and Telescopic Motor Adjusts the position of the tilt steering gear with motor assembly in accordance with the voltage output of the multiplex tilt and telescopic ECU.
    Tilt Position Sensor and Telescopic Position Sensor Detects the rotation signal of the tilt motor and telescopic motor and informs the multiplex tilt and telescopic ECU.
    Tilt and Telescopic Switch Sends a switch signal to the multiplex tilt and telescopic ECU depending on the switch operation.
    Multiplex Tilt and Telescopic ECU Calculates position information and operating condition using signals from the position sensor, the tilt and telescopic switch and the CAN network, and controls the tilt motor and telescopic motor.
    Front Power Seat Switch (Driver Side)
    • Operates the automatic away and automatic return function.

    • Registers and recalls seat positions in accordance with the operation of the seat memory switch.

    Front Multiplex Network Door ECU (Driver Side) Sends a seat memory switch signal to the front power seat switch (driver side).
    Center Airbag Sensor Assembly Sends the driver seat belt buckle switch (driver side) signal to the multiplex tilt and telescopic ECU.
    Main Body ECU (Drive Side Junction Block) Sends an engine switch (push start switch) signal to the multiplex tilt and telescopic ECU.
  2. SYSTEM CONTROL


    1. The power tilt and power telescopic system has the following control functions:

      Control Outline
      Manual Control The tilt and telescopic positions can be adjusted using the tilt and telescopic switch.
      Automatic Control Auto Away When exiting the vehicle, if the engine switch (push start switch) is turned off and the driver seat belt is unbuckled, the steering wheel will be moved to the highest tilt level and will be fully retracted telescopically.
      Auto Return When entering the vehicle, if the engine switch (push start switch) is turned on (IG) or the driver seat belt is buckled, the steering wheel will be returned to the position it was in before the operation of the auto away function (tilt and telescopic computer memory position).
      Memory Control The memory function can store the driver seat position and tilt and telescopic position. Up to 3 memory positions can be stored in the system memory and recalled. 3 positions can be saved for the seat memory switch.
  3. CONSTRUCTION


    1. Tilt Steering Gear with Motor Assembly


      1. The tilt steering gear with motor assembly consists of the steering main shaft, tilt motor, telescopic motor and multiplex tilt and telescopic ECU.

        A01GE0AE01
        Text in Illustration
        *1

        Tilt Motor

        - Tilt Position Sensor

        *2

        Telescopic Motor

        - Telescopic Position Sensor

        *3 Multiplex Tilt and Telescopic ECU - -
        *a Top View *b Bottom View
    2. Power Tilt and Power Telescopic System


      1. A stepless adjustment enables the tilt mechanism to be tilted 15.3° vertically, and the telescopic mechanism to be moved 50.0 mm (1.97 in.) longitudinally.

        A01GE2YE01
        Text in Illustration
        *a Tilt Mechanism *b Telescopic Mechanism
    3. Energy Absorbing Mechanism


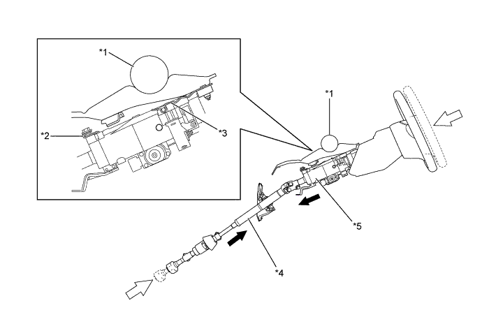
      1. The energy absorbing mechanism mainly consists of a breakaway bracket, energy absorbing plate, No. 2 steering intermediate shaft assembly and column tube. The tilt steering gear with motor assembly is mounted on the instrument panel reinforcement via a breakaway bracket. The tilt steering gear with motor assembly and the power steering link assembly are connected with a contractile No. 2 steering intermediate shaft assembly.

        A01GE95E01
        Text in Illustration
        *1 Instrument Panel Reinforcement *2 Breakaway Bracket
        *3 Energy Absorbing Plate *4 No. 2 Steering Intermediate Shaft Assembly
        *5 Column Tube - -
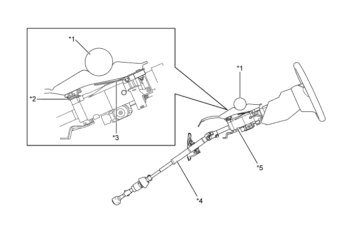
      2. When the power steering link assembly moves during a collision (primary collision), the No. 2 steering intermediate shaft assembly contracts, thus helping reduce the possibility of the tilt steering gear with motor assembly and the steering wheel protruding into the cabin.

      3. When a collision impact is transmitted to the steering wheel (secondary collision), the steering wheel and the airbag help absorb the impact.

      4. The energy absorbing plate deforms, and the column tube contracts.

        A01GDR8E01
        Text in Illustration
        *1 Instrument Panel Reinforcement *2 Breakaway Bracket
        *3 Energy Absorbing Plate *4 No. 2 Steering Intermediate Shaft Assembly
        *5 Column Tube - -
        A01GE3Q Impact A01GDXM Contract
  4. FAIL-SAFE


    1. When the multiplex tilt and telescopic ECU detects a malfunction in the power tilt and power telescopic system, the ECU changes the control mode to a fail-safe mode as follows:

      Detection Item Fail-safe
      Key Code Confirm Signal Malfunction Auto away or auto return function stops.
      Tilt Position Sensor or Tilt Motor Circuit Malfunction Tilt operation is suspended.
      Telescopic Position Sensor or Telescopic Motor Circuit Malfunction Telescopic operation is suspended.
      ECU Power Source Circuit Malfunction Tilt and telescopic operations are suspended.
    2. If a communication problem has occurred in any ECUs related to the multiplex tilt and telescopic ECU and the power tilt and power telescopic system, the power tilt and power telescopic system allows the following controls to continue:

      Control ECU for which communication is lost
      Main Body ECU (Driver Side Junction Block) Tilt and Telescopic Switch Front Power Seat Switch (Driver Side) Related to All ECUs
      Manual Control X* X X*
      Auto Away X X
      Auto Return X X
      Memory Control X X X

      Tech Tips

      *: The operation is permitted if the engine switch (push start switch) is on (ACC) or on (IG) while the signal from the main body ECU (driver side junction block) is interrupted. The operation is prohibited if the engine switch (push start switch) is off while the signal from the main body ECU (driver side junction block) is interrupted.

  5. DIAGNOSIS


    1. If the multiplex tilt and telescopic ECU detects a malfunction in the power tilt and power telescopic system, the ECU stores the malfunction data in memory. Then, by connecting the Global TechStream (GTS) to the DLC3 terminal, the Diagnostic Trouble Codes (DTCs) can be accessed and an active test can be performed to test the operation of the tilt motor and the telescopic motor. For details, refer to the Repair Manual.