СИСТЕМА ЛЮКА ДЕТАЛЬНОЕ ОПИСАНИЕ


  1. СИСТЕМА УПРАВЛЕНИЯ


    1. Система люка выполняет следующие функции:

      Люк, сдвигающийся внутрь
      Функция Описание
      Ручное открывание и закрывание (сдвиг) Данная функция открывает или закрывает люк, когда переключатель открывания или закрывания удерживается нажатым не более 0,3 с. Люк движется до тех пор, пока нажат переключатель.
      Автоматическое открывание путем сдвига одним касанием*1
      • Данная функция открывает люк до удобного положения упора, когда переключатель открывания удерживается нажатым 0,3 с или более.

      • С целью уменьшения ветрового шума данная функция прекращает открывание люка в удобном положении упора. Чтобы открыть люк полностью, следует еще раз нажать переключатель открывания.

      Автоматическое закрывание путем сдвига одним касанием*1 Данная функция полностью закрывает люк, когда переключатель закрывания удерживается нажатым в течение 0,3 с или более.
      Функция ручного подъема/опускания Данная функция поднимает или опускает люк, когда переключатель открывания или переключатель закрывания нажимается не более чем на 0,3 с. Люк движется до тех пор, пока нажат переключатель.
      Функция автоматического подъема/опускания*1 Данная функция полностью поднимает или опускает люк, когда переключатель открывания или переключатель закрывания удерживается нажатым в течение не менее 0,3 с.
      Функция травмобезопасности*1 Функция травмобезопасности автоматически останавливает люк и наполовину открывает (или полностью поднимает) его, если во время закрывания или опускания в проем люка попал посторонний предмет.
      Управление при выключении зажигания*1 Функция управления при выключении зажигания позволяет управлять люком в течение приблизительно 45 с после переключения выключателя зажигания в положение ACC или OFF (ВЫКЛ) при условии, что не открывались передние двери.
      Настройка управления с помощью ключа*1 Управление люком с помощью ключа можно настроить на выполнение операции сдвига или выполнение операции наклона.
      Функция открывания/закрывания, связанная с ключом*1
      • Когда ключ в цилиндре замка двери водителя поворачивается и удерживается в положении разблокировки не менее 2,5 с, приводной механизм люка включает электродвигатель люка, который открывает люк, пока ключ повернут.

      • Таким же образом поворот и удерживание ключа в цилиндре замка двери водителя в положении блокировки вызывает закрывание люка.

      Функция подъема/опускания, связанная с ключом*1
      • Когда ключ в цилиндре замка двери водителя поворачивается и удерживается в положении разблокировки не менее 2,5 с, приводной механизм люка включает электродвигатель люка, который полностью открывает люк, пока ключ повернут.

      • Таким же образом поворот и удерживание ключа в цилиндре замка двери водителя в положении блокировки вызывает опускание люка.

      Настройка функции управления с помощью передатчика Функцию управления люком с помощью передатчика можно настроить для управления сдвигом или наклоном люка.
      Функция открывания/закрывания с помощью передатчика* Когда главный ЭБУ кузова (бортовой ЭБУ сети мультиплексной связи) в течение не менее 2,4 с получает сигнал разблокировки от передатчика через приемник системы блокировки дверей, приводной механизм люка открывает люк.
      Функция подъема и опускания с помощью передатчика* Когда главный ЭБУ кузова (бортовой ЭБУ сети мультиплексной связи) в течение не менее 2,4 с получает сигнал разблокировки от передатчика через приемник системы блокировки дверей, приводной механизм люка полностью открывает люк.
      Предупреждение о незакрытом люке*1 Если при переводе выключателя зажигания из включенного (IG) состояния в выключенное открыт люк при открытой двери водителя, зуммер в щитке приборов в сборе подает один звуковой сигнал. Затем на мультиинформационном дисплее появляется предупреждающее сообщение, а главная контрольная лампа аварийного состояния начинает мигать.

      *: Если ЭБУ люка не инициализирован, эта функция не работает.

      Многосекционный люк
      Функция Описание
      Ручное открывание и закрывание (сдвиг) Данная функция открывает или закрывает люк, когда переключатель открывания или закрывания удерживается нажатым не более 0,3 с. Люк движется до тех пор, пока нажат переключатель.
      Автоматическое открывание путем сдвига одним касанием*
      • Данная функция открывает люк до удобного положения упора, когда переключатель открывания удерживается нажатым 0,3 с или более.

      • С целью уменьшения ветрового шума данная функция прекращает открывание люка в удобном положении упора. Чтобы открыть люк полностью, следует еще раз нажать переключатель открывания.

      Функция ручного подъема/опускания Данная функция поднимает или опускает люк, когда переключатель открывания или переключатель закрывания нажимается не более чем на 0,3 с. Люк движется до тех пор, пока нажат переключатель.
      Функция автоматического подъема/опускания* Данная функция полностью поднимает или опускает люк, когда переключатель открывания или переключатель закрывания удерживается нажатым в течение не менее 0,3 с.
      Функция травмобезопасности* Функция травмобезопасности автоматически останавливает люк и наполовину открывает (или полностью поднимает) его, если во время закрывания или опускания в проем люка попал посторонний предмет.
      Функция управления при выключении зажигания* Функция управления при выключении зажигания позволяет управлять люком в течение приблизительно 45 с после переключения выключателя зажигания в положение ACC или OFF (ВЫКЛ) при условии, что не открывались передние двери.
      Предупреждение о незакрытом люке* Если при переводе выключателя зажигания из включенного (IG) состояния в выключенное открыт люк при открытой двери водителя, зуммер в щитке приборов в сборе подает один звуковой сигнал. Затем на мультиинформационном дисплее появляется предупреждающее сообщение, а главная контрольная лампа аварийного состояния начинает мигать.

      *: Если ЭБУ люка не инициализирован, эта функция не работает.

      Tech Tips


      • Начальное положение люка сохраняется в ЭБУ люка, расположенном в приводном механизме люка в сборе. При отсоединении выводов аккумуляторной батареи данные не удаляются из памяти. Однако после замены приводного механизма люка в сборе требуется выполнить инициализацию.

      • После замены приводного механизма люка в сборе люк не будет работать правильно. В этом случае необходимо инициализировать положение люка следующим образом:


        • Удерживайте нажатым переключатель люка (подъем или закрытие), пока не завершится инициализация. При этом ЭБУ люка начнет инициализацию и последовательно выполнит операции подъема, опускания, открывания и закрывания люка.

        • Удерживайте переключатель нажатым в течение 1 с после завершения операции подъема.

        • ЭБУ люка выполнит операции автоматического опускания, открывания и закрывания.

        • Процесс инициализации заканчивается по завершении операции закрывания.

      • Во время выполнения инициализации удерживайте нажатым переключатель подъема или закрывания. Если во время инициализации отпустить переключатель подъема или закрывания, система не сможет завершить инициализацию. В этом случае следует заново выполнить рассмотренные выше операции.

      • Более подробную информацию см. в руководстве по ремонту.

    2. Функция травмобезопасности


      1. В целях управления функцией травмобезопасности ЭБУ люка контролирует величину перемещения и определяет заклинивание люка по импульсным сигналам от датчика Холла IC1, а направление движения люка – по разности фаз импульсов датчиков Холла IC1 и IC2.

        A01GVRME11
  2. КОНСТРУКЦИЯ


    1. Многосекционный люк


      1. Система многосекционного люка включает в себя 1 нестеклянную (переднюю) и 2 стеклянных (центральную и заднюю) секции. За счет использования 1 нестеклянной и 2 стеклянных секций в проеме люка обеспечивается большая площадь остекления по сравнению с люком, сдвигающимся внутрь. Это позволило увеличить размер проема люка и количество света, пропускаемого в автомобиль.

      2. Одновременное перемещение передней и центральной стеклянных панелей осуществляется электродвигателем привода люка с использованием троса. Задняя стеклянная панель является неподвижной.

      3. Передняя панель может подниматься и опускаться, а центральная стеклянная панель может подниматься/опускаться и перемещаться в направлениях открывания/закрывания.

        A01GVJNE01
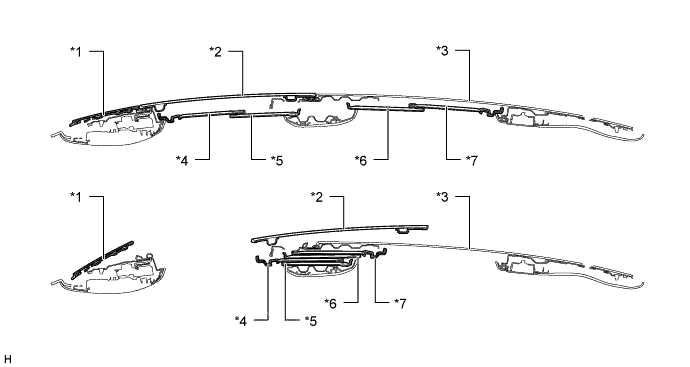
        Обозначения на рисунке
        *1 Панель люка в сборе *2 Стекло люка в сборе
        *3 Панель кожуха люка *4 Солнцезащитная панель № 1 в сборе
        *5 Солнцезащитная панель № 2 в сборе *6 Солнцезащитная панель № 3 в сборе
        *7 Солнцезащитная панель № 4 в сборе - -