AUDIO AND VISUAL SYSTEM PARTS LOCATION

A011LX4E01
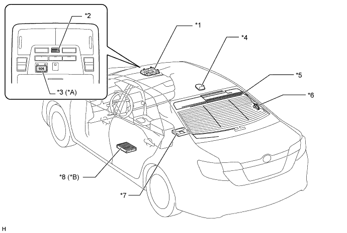
Text in Illustration
*A Models with Manual (SOS) Switch *B Models with 10-speaker System
*1 Roof Console Box Assembly *2 Telephone Microphone
*3 Manual (SOS) Switch *4

Roof Antenna Assembly

- Telephone and GPS Antenna (Models with Manual (SOS) Switch)

- Satellite Radio Antenna (XM Satellite Radio)

*5

Window Glass Antenna

- AM

- FM

- FM-sub

*6 Amplifier Antenna Assembly
*7 DCM (Telematics Transceiver) *8 Stereo Component Amplifier Assembly
A011LK5E01
Text in Illustration
*A Models with 6-speaker Sound System *B Models with Display Audio System, Premium Display Audio System and Premium Display Audio with JBL System
*C Models with 10-speaker Surround Sound System *D Models with HDD Navigation System
*1

Steering Pad Switch Assembly

- Volume

- Back

- 4 way

- Mode

*2

Steering Pad Switch Assembly

- Telephone

- Voice

*3 Combination Meter Assembly *4 Spiral Cable with Sensor Sub-assembly
*5 No. 1 Stereo Jack Adapter Assembly *6 Radio Receiver Assembly
*7 Radio and Display Receiver Assembly *8 Navigation Receiver Assembly