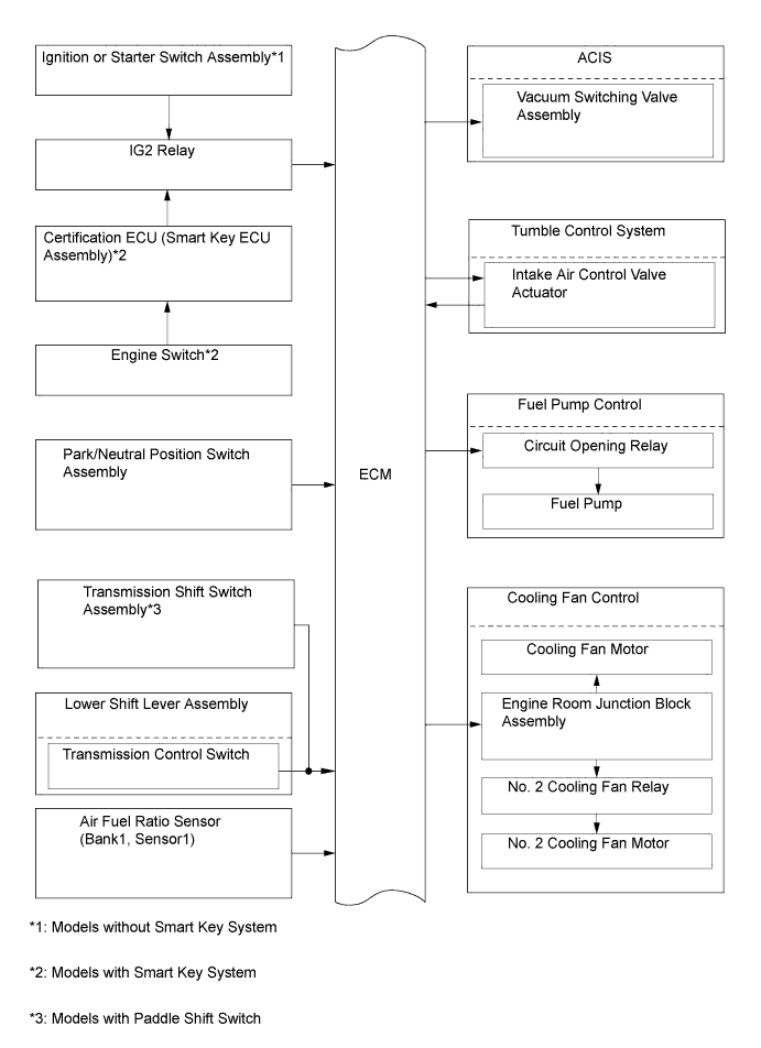
SFI SYSTEM SYSTEM DIAGRAM

A011LNSE01
A011LOKE01
A011LKBE01