СИСТЕМА УПРАВЛЕНИЯ ТОРМОЗАМИ ДЕТАЛЬНОЕ ОПИСАНИЕ


  1. НАЗНАЧЕНИЕ ОСНОВНЫХ УСТРОЙСТВ

    Устройство Функция
    Блок управления рабочими цилиндрами тормозов в сборе ЭБУ системы противоскольжения Оценивает условия движения автомобиля по сигналам датчиков и выключателей и передает управляющие сигналы в блок управления рабочими цилиндрами тормозов.
    Реле электромагнитного клапана (встроенное в ЭБУ системы противоскольжения) Подает питание на электромагнитные клапаны.
    Реле электродвигателя (встроенное в ЭБУ системы противоскольжения) Подает питание на электродвигатель насоса.
    Электромагнитные клапаны
    • Гидравлический контур включает в себя 2 электромагнитных клапана отсечки главного цилиндра, 4 электромагнитных клапана удержания давления и 4 электромагнитных редукционных клапана.

    • Изменяет путь подачи тормозной жидкости согласно сигналам от ЭБУ системы противоскольжения, поступающим во время действия функций системы управления тормозами, и тем самым регулирует давление жидкости, подаваемой в рабочие тормозные цилиндры.

    Электродвигатель насоса Приводит в движение насосы внутри блока управления рабочими цилиндрами тормозов.
    Датчик давления в главном цилиндре Определяет давление в главном цилиндре.
    Датчики частоты вращения Определяет частоту вращения одного из 4 колес.
    Центральный блок управления системы SRS
    • В центральный блок управления системы SRS встроены датчики ускорения и рысканья.

    • Датчик рысканья определяет скорость рысканья автомобиля.

    • Датчик ускорения определяет продольную и поперечную составляющие ускорения автомобиля.

    • Центральный блок управления системы SRS передает сигналы обнаружения от датчиков рыскания и ускорения в ЭБУ системы противоскольжения через шину CAN.

    Датчик положения рулевого колеса Определяет направление и угол поворота рулевого колеса.
    Выключатель стоп-сигналов в сборе Регистрирует сигнал нажатия педали тормоза.
    Реле нагрузки на педаль тормоза Определяет нажатие педали тормоза.
    Выключатель стояночного тормоза в сборе Определяет состояние педали стояночного тормоза.
    Интегрированная панель управления в сборе Выключатель VSC OFF Дает водителю возможность выбрать режим: Normal, TRC OFF или VSC OFF.
    Зуммер системы противоскольжения в сборе*1, *2 Подает звуковой сигнал, оповещающий водителя о работе системы управления тормозами (под действием динамической радарной системы круиз-контроля или предаварийной системы включения тормозов).
    Главный ЭБУ кузова (бортовой ЭБУ сети мультиплексной связи) Передает сигнал выключателя стояночного тормоза в ЭБУ системы противоскольжения.
    ЭБУ рулевого управления с усилителем Работает совместно с ЭБУ системы противоскольжения, регулируя дополнительный крутящий момент рулевого управления.
    ECM
    • Передает сигнал положения дроссельной заслонки, сигнал положения педали акселератора, сигнал частоты вращения коленчатого вала двигателя и пр. в ЭБУ системы противоскольжения.

    • Используется для регулирования мощности двигателя в соответствии с сигналами от ЭБУ системы противоскольжения.

    ЭБУ помощи при движении в сборе*1, *2 Когда ЭБУ контроля дистанции по сигналам датчика радара миллиметрового диапазона определяет сокращение дистанции до движущегося впереди автомобиля, он передает сигнал в ЭБУ системы противоскольжения с тем, чтобы привести в действие систему управления тормозами.
    ЭБУ ремней безопасности*1 Получает сигнал запроса приведения в действие ремней безопасности от ЭБУ помощи при движении или ЭБУ системы противоскольжения и приводит в действие ремни безопасности.
    Щиток приборов в сборе Контрольная лампа состояния тормозной системы
    • Включается для предупреждения водителя, когда ЭБУ системы противоскольжения обнаруживает неисправность в системе EBD или тормозной системе.

    • Включается, чтобы уведомить водителя о низком уровне тормозной жидкости.

    • Включается, чтобы уведомить водителя о включении стояночного тормоза.

    Контрольная лампа ABS Включается, чтобы предупредить водителя о том, что ЭБУ системы противоскольжения обнаружил неисправность в АБС.
    Контрольная лампа скольжения SLIP
    • Мигает, оповещая водителя о том, что TRC или VSC осуществляет управление.

    • Горит, оповещая водителя о том, что ЭБУ системы противоскольжения обнаружил неисправность в системах TRC и/или VSC.

    Контрольная лампа VSC OFF Включается, чтобы уведомить водителя о выборе режима VSC OFF.
    Главная контрольная лампа аварийного состояния Загорается, предупреждая водителя, когда на мультиинформационном дисплее отображается сообщение.
    Мультиинформационный дисплей Отображает предупреждающее сообщение, уведомляя водителя о выборе режима TRC OFF или о том, что автомобиль движется со включенным стояночным тормозом.
    Зуммер Звучит, чтобы уведомить водителя о движении с включенным стояночным тормозом.
    Радиоприемник в сборе*3 Выключатель аварийной сигнализации Передает в ЭБУ системы противоскольжения запрос на включение/выключение ламп аварийной сигнализации.
    Приемник мультимедийного модуля в сборе*4

    *1: для моделей с предаварийной системой безопасности

    *2: для моделей с динамической радарной системой круиз-контроля

    *3: для моделей с 8 динамиками

    *4: для моделей с системой навигации с жестким диском

  2. УСЛОВИЯ РАБОТЫ


    1. Сигнал экстренного торможения


      1. Условия включения/выключения сигнала экстренного торможения указаны в следующей таблице.

        Условия включения

        Сигнал экстренного торможения выдается, когда выполняются все перечисленные ниже условия:


        • Скорость автомобиля превышает 55 км/час (35 миль в час).

        • Водитель нажимает педаль тормоза.

        • По характеру замедления автомобиля регистрируется экстренное торможение.

        Условия выключения

        Выдача сигнала экстренного торможения прекращается при выполнении любого из следующих условий:


        • Водитель отпустил педаль тормоза.

        • Экстренное торможение больше не регистрируется по характеру замедления автомобиля.

        • Водитель нажал выключатель аварийной сигнализации.

  3. УПРАВЛЕНИЕ В СИСТЕМЕ


    1. Таблица функций управления системы


      1. Система управления тормозами включает следующие подсистемы/функции:

        Функция управления Описание
        Антиблокировочная система тормозов (АБС) Помогает предотвратить блокировку колес при резком включении тормозов, а также при торможении на скользкой поверхности.
        Электронная система распределения тормозного усилия (EBD) EBD использует АБС для надлежащего распределения тормозного усилия между передними и задними колесами в соответствии с условиями движения. Кроме того, при торможении на повороте она регулирует тормозные усилия на правых и левых колесах, обеспечивая устойчивость автомобиля.
        Усилитель экстренного торможения Основной задачей усилителя экстренного торможения является обеспечение дополнительного тормозного усилия для водителя, который не способен развить требуемое тормозное усилие при экстренном торможении. В результате улучшается тормозная характеристика автомобиля.
        Антипробуксовочная система (TRC) Помогает ограничить пробуксовку ведущих колес при слишком резком нажатии водителем педали акселератора во время трогания с места или разгона на скользкой поверхности.
        Система курсовой устойчивости (VSC) Система курсовой устойчивости (VSC) Помогает ограничить увод автомобиля в сторону при существенной тенденции к недостаточной или избыточной поворачиваемости на повороте.
        Согласованное управление с EPS Координирует работу совместно с ЭБУ рулевого управления с усилителем, обеспечивая усиление крутящего момента рулевого управления в соответствии с состоянием автомобиля.
        Управление тормозами (при работе динамической радарной системы круиз-контроля)*1 Если во время работы динамической радарной системы круиз-контроля ЭБУ помощи при движении на основании дистанции до автомобиля впереди и скорости относительно этого автомобиля определяет, что требуется значительное замедление, ЭБУ системы противоскольжения приводит в действие тормозную систему в соответствии с сигналом от ЭБУ помощи при движении.
        Управление тормозами (при работе предаварийной системы безопасности)*2 Когда ЭБУ помощи при движении определяет высокую вероятность столкновения, ЭБУ системы противоскольжения включает усилитель экстренного торможения предаварийной системы безопасности или тормоз предаварийной системы безопасности в соответствии с сигналом от ЭБУ помощи при движении.
        Сигнал экстренного торможения В случае экстренного торможения сигнал экстренного торможения заставляет мигать стоп-сигналы, чтобы предупредить водителей движущихся сзади автомобилей.

        *1: для моделей с динамической радарной системой круиз-контроля

        *2: для моделей с предаварийной системой безопасности

    2. Антиблокировочная система тормозов (АБС)


      1. Система АБС помогает предотвратить блокировку колес при резком нажатии на педаль тормоза, а также при торможении на скользкой поверхности. Это помогает создать оптимальное тормозное усилие, соответствующее состоянию дороги, обеспечивающее при этом устойчивость автомобиля.

        A01GVHXE03
        Обозначения на рисунке
        *A При наличии АБС *B Без АБС
        *a Включение тормозов - -
    3. Электронная система распределения тормозного усилия (EBD)


      1. Эта функция регулирует тормозное усилие на задних колесах в соответствии с изменениями условий движения автомобиля, например нагрузки или скорости, обеспечивая превосходную эффективность торможения.

        A01GVGYE01
      2. Во время торможения на повороте эта функция регулирует тормозное усилие между левыми и правыми колесами в соответствии с текущими условиями движения автомобиля. Это обусловливает курсовую устойчивость и исключительно эффективное торможение.

        A01GVJ1
        Обозначения на рисунке
        A01GVKO Тормозное усилие A01GVJY Управляющий момент
    4. Усилитель экстренного торможения


      1. Во время работы усилителя экстренного торможения ЭБУ системы противоскольжения по сигналам датчика давления в главном цилиндре рассчитывает скорость и усилие нажатия педали тормоза, а затем определяет, собирался ли водитель выполнить экстренное торможение. Когда ЭБУ системы противоскольжения определяет, что водитель пытался выполнить экстренное торможение, усилитель экстренного торможения приводит в действие блок управления рабочими цилиндрами тормозов, чтобы увеличить давление тормозной жидкости и, соответственно, тормозное усилие.

        A01GVM7E02
    5. Антипробуксовочная система (TRC)


      1. TRC помогает предотвратить пробуксовку ведущих колес при чрезмерном нажатии водителем педали акселератора во время трогания с места или разгона на скользкой поверхности. Одновременно с управлением гидравлической тормозной системой ведущих колес ЭБУ системы противоскольжения передает в блок управления двигателем запрос на регулирование мощности двигателя. При этом создается тяговое усилие, соответствующее существующим условиям движения, что обеспечивает надлежащий разгон при трогании с места.

        A01GVJQE04
        Обозначения на рисунке
        *A Для моделей без TRC *B Для моделей с TRC
        *1 Двигатель *2 ECM
        *3

        Блок управления рабочими цилиндрами тормозов в сборе

        - ЭБУ системы противоскольжения

        - -
        *a Чрезмерное тяговое усилие вызывает пробуксовку ведущих колес *b Регулирование мощности двигателя с помощью дроссельной заслонки
        A01GVG1 Скользкая поверхность - -
    6. Система курсовой устойчивости (VSC)


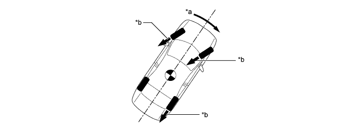
      1. Ниже приведены 2 примера, иллюстрирующих поведение автомобиля, когда боковая сила превышает прочность сцепления шин с дорожным покрытием. VSC призвана облегчить управление поведением автомобиля за счет регулирования мощности двигателя и тормозного усилия на каждом из колес при выполнении любого из следующих условий.

        A01GVKVE01
        Обозначения на рисунке
        *a Тенденция к недостаточной поворачиваемости *b Тенденция к избыточной поворачиваемости
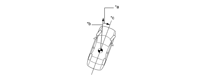
      2. Чтобы распознать характер движения автомобиля, датчики определяют угол поворота рулевого колеса, скорость автомобиля, рысканье и боковое ускорение, которые затем анализируются ЭБУ системы противоскольжения.

      3. Недостаточная поворачиваемость распознается по разности между расчетным и фактическим рысканьем автомобиля. Если фактическое рысканье автомобиля (которое можно определить по движению рулевого колеса) меньше расчетного рысканья (вычисленного по скорости автомобиля и углу поворота рулевого колеса), это означает, что автомобиль выполняет поворот под большим углом, чем требует траектория движения. Таким образом, ЭБУ системы противоскольжения распознает существенную тенденцию к недостаточной поворачиваемости.

        A01GVZLE01
        Обозначения на рисунке
        *a Фактическая траектория движения (фактическое рысканье) *b Траектория движения, определенная на основе расчетного рысканья
      4. Избыточная поворачиваемость определяется по значениям угла бокового увода автомобиля и угловой скорости скольжения автомобиля (по изменению угла бокового увода автомобиля во времени). Если угол бокового увода автомобиля и угловая скорость скольжения слишком велики, ЭБУ системы противоскольжения расценивает такую ситуацию как существенную тенденцию к избыточной поворачиваемости.

        A01GVMLE01
        Обозначения на рисунке
        *a Угол увода колес *b Направление движения центра тяжести автомобиля
        *c Движение автомобиля - -
      5. Когда ЭБУ системы противоскольжения распознает тенденцию к недостаточной или избыточной поворачиваемости, он снижает мощность двигателя и тормозит передние или задние колеса, регулируя момент рысканья автомобиля. Ниже рассмотрены основные действия системы VSC. При этом способы управления различаются в зависимости от характеристик автомобиля и условий движения.

      6. Когда ЭБУ системы противоскольжения распознает существенную тенденцию к недостаточной поворачиваемости, он предпринимает нейтрализующие действия в зависимости от вероятности заноса. ЭБУ системы противоскольжения регулирует мощность двигателя и тормозит передние колеса и заднее колесо, расположенное с внутренней стороны при повороте, чтобы недостаточную поворачиваемость колес.

        A01GVYAE01
        Обозначения на рисунке (правый поворот:)
        *a Управляющий момент *b Тормозное усилие
      7. Когда ЭБУ системы противоскольжения распознает существенную тенденцию к избыточной поворачиваемости, он предпринимает также нейтрализующие действия в зависимости от вероятности заноса. ЭБУ тормозит переднее и заднее колесо внешнего радиуса поворота и создает направленный наружу момент инерции автомобиля, ослабляя тенденцию к избыточной поворачиваемости. Наряду с уменьшением скорости автомобиля, вызванным тормозным усилием, обеспечивается прекрасная курсовая устойчивость.

        A01GVAUE02
        Обозначения на рисунке (правый поворот:)
        *a Управляющий момент *b Тормозное усилие
    7. Согласованное управление с EPS


      1. Если водитель резко включает тормоза на дорожном покрытии, у которого значительно различается коэффициент сцепления для правых и левых колес, разница тормозного усилия между правыми и левыми колесами приводит к потере устойчивости положения автомобиля и создает момент рысканья. В этом состоянии ЭБУ системы противоскольжения управляет АБС и VSC в целях стабилизации положения автомобиля. Одновременно он осуществляет согласованное управление совместно с EPS таким образом, чтобы создать усиление крутящего момента рулевого управления, облегчающее выполнение маневров поворота и сохраняющее устойчивое положение автомобиля.

        A01GVT1E01
        Обозначения на рисунке
        *a Скользкая поверхность - -
        A01GVKO Тормозное усилие A01GVJY Направление усиления крутящего момента
        A01GVQJ Момент рысканья при управлении торможением - -
      2. Если водитель резко трогается с места или ускоряется на дорожном покрытии, у которого значительно различается коэффициент сцепления для правых и левых колес, пробуксовка ведущего колеса приведет к потере устойчивости положения автомобиля и отрицательно скажется на характеристиках разгона. В этом состоянии ЭБУ системы противоскольжения включает систему TRC для управления гидравлическим тормозом проскальзывающего ведущего колеса и передает в ECM запрос на регулирование мощности двигателя. Одновременно он осуществляет согласованное управление совместно с EPS таким образом, чтобы создать усиление крутящего момента рулевого управления, облегчающее выполнение маневров поворота и сохраняющее устойчивое положение автомобиля.

        A01GVJXE01
        Обозначения на рисунке
        *a Скользкая поверхность - -
        A01GVKO Тяговое усилие A01GVJY Направление усиления крутящего момента
        A01GVQJ Момент рысканья при разгоне - -
      3. Когда ЭБУ системы противоскольжения распознает занос передних колес, он управляет VSC для уменьшения заноса. Одновременно он осуществляет согласованное управление совместно с EPS таким образом, чтобы создать усиление крутящего момента рулевого управления, облегчающее выполнение маневров поворота и сохраняющее устойчивое положение автомобиля.


        • Усилитель рулевого управления выполняет следующие функции:


          1. Усиление крутящего момента рулевого управления информирует водителя о заносе передних колес.

          2. Если водитель поворачивает рулевое колесо чрезмерно, усиление крутящего момента рулевого управления регулируется таким образом, чтобы предотвратить избыточный поворот рулевого колеса.

            A01GVL7E02
            Обозначения на рисунке
            *a Тенденция к заносу передних колес - -
            A01GVKO Тормозное усилие A01GVJY Направление усиления для информирования о заносе передних колес
            A01GVQJ Направление усиления для предотвращения чрезмерного поворота рулевого колеса A01GVQF Управляющий момент
      4. Когда ЭБУ системы противоскольжения распознает тенденцию к заносу задних колес, он управляет VSC для уменьшения заноса. Одновременно он координирует управление с EPS, обеспечивая усиление крутящего момента рулевого управления, чтобы облегчить выполнение маневров поворота в направлении устранения заноса заднего колеса.

        A01GW19E01
        Обозначения на рисунке
        *a Тенденция к заносу задних колес - -
        A01GVKO Тормозное усилие A01GVJY Направление усиления крутящего момента
        A01GVQF Управляющий момент - -
    8. Управление тормозами (при работе динамической радарной системы круиз-контроля)


      1. Когда во время работы динамической радарной системы круиз-контроля уменьшается расстояние до едущего впереди автомобиля, автомобиль может оказаться не способным обеспечить требуемое замедление за счет ограничения мощности двигателя, регулируемой ECM. При этом, даже если водитель не нажимает педаль тормоза, ЭБУ системы противоскольжения приводит в действие блок управления рабочими цилиндрами тормозов и инициирует торможение для достижения требуемой интенсивности замедления, которая непрерывно вычисляется и запрашивается ЭБУ помощи при движении. В результате включаются стоп-сигналы.

      2. По окончании торможения ЭБУ системы противоскольжения постепенно снижает тормозное усилие до нуля, обеспечивая плавное замедление.

      3. Если требуется дополнительное торможение, система включает зуммер системы противоскольжения, предупреждая водителя о необходимости включения тормозов.

    9. Управление тормозами (при работе предаварийной системы безопасности)


      1. Когда ЭБУ помощи при движении определяет, что вероятность столкновения высока, он передает в ЭБУ системы противоскольжения сигнал запроса включения усилителя экстренного торможения предаварийной системы безопасности. Получив сигнал, ЭБУ системы противоскольжения переводит усилитель экстренного торможения в режим ожидания. Когда водитель нажимает педаль тормоза, ЭБУ системы противоскольжения приводит в действие усилитель экстренного торможения в соответствии с сигналом датчика давления в главном цилиндре.

      2. Когда ЭБУ помощи при движении определяет, что столкновение неизбежно, он передает в ЭБУ системы противоскольжения сигнал запроса включения тормоза предаварийной системы безопасности. Затем ЭБУ системы противоскольжения приводит в действие блок управления рабочими цилиндрами тормозов для предаварийного торможения и замедляет автомобиль. Таким образом система помогает уменьшить удар при столкновении.

      3. Если при включении усилителя экстренного торможения ЭБУ системы противоскольжения определяет, что усилие нажатия на педаль и тормозное усилие малы, он немедленно производит предаварийное включение тормозов, обеспечивая тормозное усилие.

    10. Сигнал экстренного торможения


      1. Сигнал экстренного торможения автоматически вызывает мигание всех стоп-сигналов в случае экстренного торможения, что снижает риск столкновения с движущимся сзади автомобилем.

      2. ЭБУ системы противоскольжения определяет состояние автомобиля и регистрирует торможение с использованием датчиков частоты вращения, датчика рысканья (центрального блока управления системы SRS) и выключателя стоп-сигналов.

      3. На основании сигналов этих устройств ЭБУ системы противоскольжения выдает команду для ЭБУ управления стоп-сигналами, чтобы обеспечить мигание стоп-сигналов при распознавании экстренного торможения.

  4. ФУНКЦИИ


    1. Выключатель VSC OFF


      1. Работу функций VSC и TRC можно остановить выключателем VSC OFF. Когда автомобиль съезжает на обочину или движется по грунтовой дороге, функция регулировки мощности двигателя отключается, чтобы поддерживать крутящий момент.

      2. Выключатель VSC OFF позволяет выбрать один из 3 режимов (нормальный режим, режим TRC OFF или режим VSC OFF). При кратковременном нажатии выключателя VSC OFF активируется режим TRC-OFF, и функция TRC отключается. Если выключатель VSC OFF удерживается нажатым не менее 3 с, активируется режим VSC-OFF, и отключаются функции TRC и VSC.

      3. Если питание выключается в режиме TRC OFF или VSC OFF, при его последующем включении выбирается нормальный режим. Также система автоматически переходит в нормальный режим при увеличении скорости автомобиля.

        A01GVCFE03
      4. Функции управления тормозами в каждом из режимов работают следующим образом.

        Режим Функция управления тормозами Индикация TRC OFF на мультиинформационном дисплее Контрольная лампа VSC OFF
        TRC VSC
        Нормальный режим Не отображается Лампа выключена
        Режим TRC OFF - Отображается Лампа выключена
        Режим VSC OFF - -* Отображается Лампа включена

        Tech Tips

        ○: Управление возможно

        -: Управление невозможно

        *: функция управления действует во время торможения или при сильном рыскании.

  5. КОНСТРУКЦИЯ


    1. Блок управления рабочими цилиндрами тормозов в сборе


      1. Блок управления рабочими цилиндрами тормозов в сборе состоит из модуля привода и ЭБУ системы противоскольжения.

        A01GVVUE01
        Обозначения на рисунке
        *1 ЭБУ системы противоскольжения - -
        *a Модуль привода - -
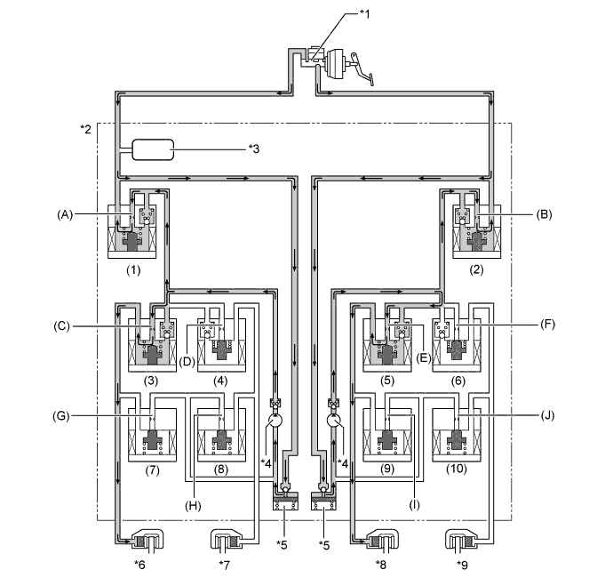
      2. Секция блока управления содержит 2 электромагнитных клапана отсечки главного цилиндра, 4 электромагнитных клапана удержания давления, 4 электромагнитных редукционных клапана, 2 насоса, 2 бачка и датчик давления в главном цилиндре.

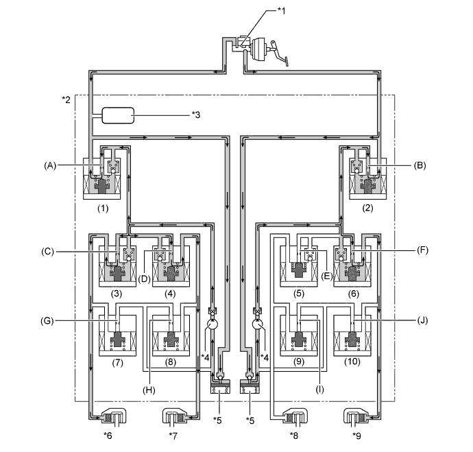
      3. Блок управления рабочими цилиндрами тормозов включен в следующий гидравлический контур:

        A01GVBXE01
        Обозначения на рисунке
        *1 Главный цилиндр тормозной системы в сборе *2 Блок управления рабочими цилиндрами тормозов в сборе
        *3 Датчик давления в главном цилиндре *4 Электромагнитный клапан отсечки главного цилиндра
        *5 Электромагнитный клапан удержания давления *6 Электромагнитный редукционный клапан
        *7 Насос *8 Бачок
        *9 Суппорт переднего тормоза (с левой стороны) *10 Суппорт заднего тормоза (с правой стороны)
        *11 Суппорт заднего тормоза (с левой стороны) *12 Суппорт переднего тормоза (с правой стороны)
    2. Датчик частоты вращения


      1. В системе используются активные датчики частоты вращения. В этом датчике имеется микросхема.

      2. В каждом из передних датчиков частоты вращения используется зубчатый ротор, установленный на приводном валу ведущего колеса.

      3. В задних датчиках частоты вращения используется ротор магнитного типа с полюсами N и S, расположенными на его окружности. Задний ротор датчика частоты вращения соединен с внутренним кольцом подшипника ступицы.

        A01GVLHE01
        Обозначения на рисунке
        *A Спереди *B Задние фонари
        *1 Передний датчик частоты вращения *2 Ротор датчика
        *3 Задний датчик частоты вращения - -
      4. В активном датчике частоты вращения используется микросхема, регистрирующая изменения магнитного поля в результате вращения ротора датчика. При этом датчик передает данные измерений в ЭБУ системы противоскольжения в виде цифровых импульсов (сигнал скорости автомобиля).

      5. Скорость автомобиля определяется по частоте выходных импульсов. Поскольку активный датчик формирует цифровые импульсы, он может определять скорости автомобиля, близкие к 0 км/час.

        A01GVZ4E06
    3. Датчик положения рулевого колеса


      1. Датчик положения рулевого колеса определяет направление и угол поворота рулевого колеса и передает соответствующий сигнал в ЭБУ системы противоскольжения.

        A01GVKC

        Tech Tips

        При снятии и установке датчика положения рулевого колеса необходимо предпринять специальные действия по предотвращению нарушения его центровки. Более подробную информацию см. в Руководстве по ремонту.

    4. Центральный блок управления системы SRS


      1. В центральный блок управления системы SRS встроены датчики ускорения и рысканья.

      2. Датчик рысканья определяет скорость рысканья автомобиля.

      3. Датчик ускорения определяет продольную и поперечную составляющие ускорения автомобиля.

  6. ПРИНЦИП РАБОТЫ


    1. АБС с EBD


      1. На основе сигналов, полученных от 4 датчиков частоты вращения и центрального блока управления системы SRS, ЭБУ системы противоскольжения рассчитывает частоту вращения и замедление для каждого колеса и оценивает вероятность пробуксовки колес. В соответствии с вероятностью пробуксовки ЭБУ системы противоскольжения регулирует давление жидкости в рабочих цилиндрах каждого из колес, управляя редукционными электромагнитными клапанами и клапанами удержания давления в следующих 3 режимах: режиме понижения, режиме удержания и режиме повышения давления.

        Не действует Обычное торможение - -
        Действует Режим повышения давления Режим удержания давления Режим понижения давления
        Гидравлический контур A01GVB2E01 A01GVG5 A01GVVME01
        Клапан удержания давления (канал А) Выкл (открыт) Вкл (закрыт) Вкл (закрыт)
        Клапан удержания давления (канал B) Выкл (закрыт) Выкл (закрыт) Вкл (открыт)
        Давление в рабочем тормозном цилиндре Повышается Удерживается Понижается
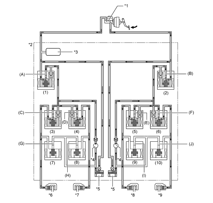
    2. Усилитель экстренного торможения


      1. В случае экстренного торможения ЭБУ системы противоскольжения оценивает намерения водителя исходя из скорости увеличения давления в главном цилиндре, определяемой по сигналу датчика давления в главном цилиндре. Когда ЭБУ системы противоскольжения принимает решение о необходимости дополнительного увеличения тормозного усилия, насос в блоке управления тормозными цилиндрами создает дополнительное давление, усиливающее давление в главном цилиндре, и это давление направляется в каждый рабочий тормозной цилиндр.

      2. Кроме того, ЭБУ системы противоскольжения обеспечивает усиление экстренного торможения при неисправности усилителя тормозной системы. Неисправность усилителя тормозной системы выявляется ЭБУ системы противоскольжения с использованием сигналов реле нагрузки на педаль тормоза и датчика давления в главном цилиндре.

        A01GVKLE01
        A01GVQQE01
        Обозначения на рисунке (принцип работы усилителя экстренного торможения):
        *1 Главный цилиндр тормозной системы в сборе *2 Блок управления рабочими цилиндрами тормозов в сборе
        *3 Датчик давления в главном цилиндре *4 Насос
        *5 Бачок *6 Суппорт переднего тормоза (с левой стороны)
        *7 Суппорт заднего тормоза (с правой стороны) *8 Суппорт заднего тормоза (с левой стороны)
        *9 Суппорт переднего тормоза (с правой стороны) - -
      3. Ниже рассмотрена работа всех клапанов:

        Наименование Канал Усилитель экстренного торможения не действует Усилитель экстренного торможения действует
        Электромагнитные клапаны отсечки главного цилиндра (1), (2) (A), (B) Выкл (открыт) Вкл*
        Передние тормоза Электромагнитные клапаны удержания давления (3), (6) (C), (F) Выкл (открыт) Выкл (открыт)
        Электромагнитные редукционные клапаны (7), (10) (G), (J), Выкл (закрыт) Выкл (закрыт)
        Задние тормоза Электромагнитные клапаны удержания давления (4), (5) (D), (E) Выкл (открыт) Выкл (открыт)
        Электромагнитные редукционные клапаны (8), (9) (H), (I) Выкл (закрыт) Выкл (закрыт)
        Насос Выкл Вкл

        *: Гидравлическое давление регулируется посредством непрерывного переключения электромагнитных клапанов между открытым и закрытым состояниями в зависимости от рабочих условий.

    3. TRC


      1. Давление жидкости, создаваемое насосом, регулируется требуемым образом с помощью электромагнитного клапана отсечки главного цилиндра. Таким образом, управление рабочими тормозными цилиндрами ведущих колес осуществляется в 3 режимах: режиме понижения, режиме удержания и режиме увеличения давления, что позволяет свести к минимуму пробуксовку ведущих колес.

      2. На рисунке показан гидравлический контур для режима увеличения давления во время действия TRC. Электромагнитный клапан удержания давления и электромагнитный редукционный клапан включаются/выключаются в соответствии со схемой работы АБС с EBD.

        A01GVXSE01
        A01GVTRE01
        Обозначения на рисунке (принцип работы TRC):
        *1 Главный цилиндр тормозной системы в сборе *2 Блок управления рабочими цилиндрами тормозов в сборе
        *3 Датчик давления в главном цилиндре *4 Насос
        *5 Бачок *6 Суппорт переднего тормоза (с левой стороны)
        *7 Суппорт заднего тормоза (с правой стороны) *8 Суппорт заднего тормоза (с левой стороны)
        *9 Суппорт переднего тормоза (с правой стороны) - -
      3. Ниже рассмотрена работа всех клапанов:

        Наименование Канал TRC не действует TRC действует
        Режим повышения давления Режим удержания давления Режим понижения давления
        Электромагнитный клапан отсечки главного цилиндра (1), (2) (A), (B) Выкл (открыт) Вкл* Вкл* Вкл*
        Передние тормоза Электромагнитный клапан удержания давления (3), (6) (C), (F) Выкл (открыт) Выкл (открыт) Вкл (закрыт) Вкл (закрыт)
        Электромагнитный редукционный клапан (7), (10) (G), (J) Выкл (закрыт) Выкл (закрыт) Выкл (закрыт) Вкл (открыт)
        Давление в рабочем тормозном цилиндре - - - Повышается Удерживается Понижается
        Задние тормоза Электромагнитный клапан удержания давления (4), (5) (D), (E) Выкл (открыт) Вкл (закрыт) Вкл (закрыт) Вкл (закрыт)
        Электромагнитный редукционный клапан (8), (9) (H), (I) Выкл (закрыт) Выкл (закрыт) Выкл (закрыт) Выкл (закрыт)
        Давление в рабочем тормозном цилиндре - - - - - -
        Насос Выкл ON (ВКЛ) ON (ВКЛ) ON (ВКЛ)

        *: Гидравлическое давление регулируется посредством непрерывного переключения электромагнитных клапанов между открытым и закрытым состояниями в зависимости от рабочих условий.

    4. VSC


      1. VSC посредством электромагнитных клапанов регулирует давление жидкости, создаваемое насосом, и подает его в каждый рабочий тормозной цилиндр в следующих 3 режимах: режиме понижения, режиме удержания и режиме увеличения давления. В результате обеспечивается контроль тенденций к недостаточной и избыточной поворачиваемости.

        A01GVG7E01
      2. В режиме ограничения недостаточной поворачиваемости ЭБУ системы противоскольжения регулирует мощность двигателя и включает тормоза обоих передних колес и заднего колеса с внутренней стороны поворота. Тем не менее, в некоторых случаях, обусловленных состоянием тормозов (включены или выключены) и состоянием автомобиля, тормозное усилие может не прикладываться к отдельным колесам, даже если для этого имеются необходимые условия. На рисунке ниже показан гидравлический контур в режиме увеличения давления, обеспечивающий противодействие недостаточной поворачиваемости автомобиля при повороте вправо. В других режимах работы электромагнитный клапан удержания давления и электромагнитный редукционный клапан открываются/закрываются в соответствии со схемой работы системы АБС с EBD.

        A01GVTGE01
        Обозначения на рисунке (принцип работы VSC (ограничение недостаточной поворачиваемости)):
        *1 Главный цилиндр тормозной системы в сборе *2 Блок управления рабочими цилиндрами тормозов в сборе
        *3 Датчик давления в главном цилиндре *4 Насос
        *5 Бачок *6 Суппорт переднего тормоза (с левой стороны)
        *7 Суппорт заднего тормоза (с правой стороны) *8 Суппорт заднего тормоза (с левой стороны)
        *9 Суппорт переднего тормоза (с правой стороны) - -
      3. Ниже рассмотрена работа всех клапанов:

        Наименование Канал VSC не действует VSC действует
        Режим повышения давления Режим удержания давления Режим понижения давления
        Электромагнитный клапан отсечки главного цилиндра (1), (2) (A), (B) Выкл (открыт) Вкл* Вкл* Вкл*
        Передние тормоза Электромагнитный клапан удержания давления (3) (C) Выкл (открыт) Выкл (открыт) Вкл (закрыт) Вкл (закрыт)
        (6) (F) Выкл (открыт) Выкл (открыт) Вкл (закрыт) Вкл (закрыт)
        Электромагнитный редукционный клапан (7) (G) Выкл (закрыт) Выкл (закрыт) Выкл (закрыт) Вкл (открыт)
        (10) (J) Выкл (закрыт) Выкл (закрыт) Выкл (закрыт) Вкл (открыт)
        Давление в рабочем тормозном цилиндре Правом - - - Повышается Удерживается Понижается
        Левом - - - Повышается Удерживается Понижается
        Задние тормоза Электромагнитный клапан удержания давления (4) (D) Выкл (открыт) Выкл (открыт) Вкл (закрыт) Вкл (закрыт)
        (5) (E) Выкл (открыт) Вкл (закрыт) Вкл (закрыт) Вкл (закрыт)
        Электромагнитный редукционный клапан (8) (H) Выкл (закрыт) Выкл (закрыт) Выкл (закрыт) Вкл (открыт)
        (9) (I) Выкл (закрыт) Выкл (закрыт) Выкл (закрыт) Вкл (открыт)
        Давление в рабочем тормозном цилиндре Правом - - - Повышается Удерживается Понижается
        Левом - - - - - -
        Насос Выкл ON (ВКЛ) ON (ВКЛ) ON (ВКЛ)

        *: Гидравлическое давление регулируется посредством непрерывного переключения электромагнитных клапанов между открытым и закрытым состояниями в зависимости от рабочих условий.

      4. В режиме ограничения избыточной поворачиваемости ЭБУ системы противоскольжения включает тормоза переднего и заднего колес с внешней стороны поворота. Тем не менее, иногда, в зависимости от состояния тормозов (включены или выключены) и состояния автомобиля, тормозное усилие может не прикладываться к отдельным колесам, даже если для этого имеются необходимые условия. На рисунке ниже показан гидравлический контур в режиме увеличения давления, обеспечивающий противодействие избыточной поворачиваемости автомобиля при повороте вправо. В других режимах работы электромагнитный клапан удержания давления и электромагнитный редукционный клапан открываются/закрываются в соответствии со схемой работы системы АБС с EBD.

        A01GVT9E01
        Обозначения на рисунке (принцип работы VSC (ограничение избыточной поворачиваемости)):
        *1 Главный цилиндр тормозной системы в сборе *2 Блок управления рабочими цилиндрами тормозов в сборе
        *3 Датчик давления в главном цилиндре *4 Насос
        *5 Бачок *6 Суппорт переднего тормоза (с левой стороны)
        *7 Суппорт заднего тормоза (с правой стороны) *8 Суппорт заднего тормоза (с левой стороны)
        *9 Суппорт переднего тормоза (с правой стороны) - -
      5. Ниже рассмотрена работа всех клапанов:

        Наименование Канал VSC не действует VSC действует
        Режим повышения давления Режим удержания давления Режим понижения давления
        Электромагнитный клапан отсечки главного цилиндра (1), (2) (A), (B) Выкл (открыт) Вкл* Вкл* Вкл*
        Передние тормоза Электромагнитный клапан удержания давления (3) (C) Выкл (открыт) Выкл (открыт) Вкл (закрыт) Вкл (закрыт)
        (6) (F) Выкл (открыт) Вкл (закрыт) Вкл (закрыт) Вкл (закрыт)
        Электромагнитный редукционный клапан (7) (G) Выкл (закрыт) Выкл (закрыт) Выкл (закрыт) Вкл (открыт)
        (10) (J) Выкл (закрыт) Выкл (закрыт) Выкл (закрыт) Выкл (закрыт)
        Давление в рабочем тормозном цилиндре Правом - - - - - -
        Левом - - - Повышается Удерживается Понижается
        Задние тормоза Электромагнитный клапан удержания давления (4) (D) Выкл (открыт) Вкл (закрыт) Вкл (закрыт) Вкл (закрыт)
        (5) (E) Выкл (открыт) Выкл (открыт) Вкл (закрыт) Вкл (закрыт)
        Электромагнитный редукционный клапан (8) (H) Выкл (закрыт) Выкл (закрыт) Выкл (закрыт) Выкл (закрыт)
        (9) (I) Выкл (закрыт) Выкл (закрыт) Выкл (закрыт) Вкл (открыт)
        Давление в рабочем тормозном цилиндре Правом - - - - - -
        Левом - - - Повышается Удерживается Понижается
        Насос Выкл ON (ВКЛ) ON (ВКЛ) ON (ВКЛ)

        *: Гидравлическое давление регулируется посредством непрерывного переключения электромагнитных клапанов между открытым и закрытым состояниями в зависимости от рабочих условий.

    5. Управление тормозами (при работе динамической радарной системы круиз-контроля)


      1. Во время работы динамической радарной системы круиз-контроля ЭБУ системы противоскольжения управляет тормозами, используя сигнал запроса тягового усилия, поступающий из ЭБУ помощи при движении. При этом управление тормозами осуществляется таким же образом, как в нормальном режиме работы тормозной системы.

        A01GVH4E01
    6. Управление тормозами (при работе предаварийной системы безопасности)


      1. Когда ЭБУ помощи при движении определяет, что вероятность столкновения высока, он передает в ЭБУ системы противоскольжения сигнал запроса включения усилителя экстренного торможения предаварийной системы безопасности. Получив сигнал, ЭБУ системы противоскольжения переводит усилитель экстренного торможения в режим ожидания. Когда водитель нажимает педаль тормоза, ЭБУ системы противоскольжения приводит в действие усилитель экстренного торможения в соответствии с сигналом датчика давления в главном цилиндре.

      2. Если столкновение неизбежно, ЭБУ системы противоскольжения приводит в движение электродвигатель в источнике питания для подачи давления непосредственно в рабочие тормозные цилиндры, даже если водитель не нажимает педаль тормоза. При этом управление тормозами осуществляется таким же образом, как в нормальном режиме работы тормозной системы.

        A01GVC3E01
    7. VSC (согласованное управление с EPS)


      1. При согласованном (координированном) управлении с EPS электромагнитные клапаны действуют таким же образом, как при работе функций управления тормозами (АБС, TRC, VSC).

  7. Аварийный режим работы


    1. Если в ЭБУ системы противоскольжения, датчиках или блоке управления рабочими цилиндрами тормозов в сборе возникает неисправность, система управления тормозами продолжает функционировать, исключив неисправный узел и используя только нормально работающие узлы.

  8. ДИАГНОСТИКА


    1. Когда ЭБУ системы противоскольжения обнаруживает неисправность в системе управления тормозами, включаются контрольные лампы. Одновременно в памяти ЭБУ системы противоскольжения сохраняется диагностический код неисправности (DTC).

    2. Система самодиагностики имеет функцию проверки сигналов датчиков (режим активной диагностики).

    3. Описание DTC и функции проверки приведено в Руководстве по ремонту.