СИДЕНЬЕ В СБОРЕ


  1. ФУНКЦИИ


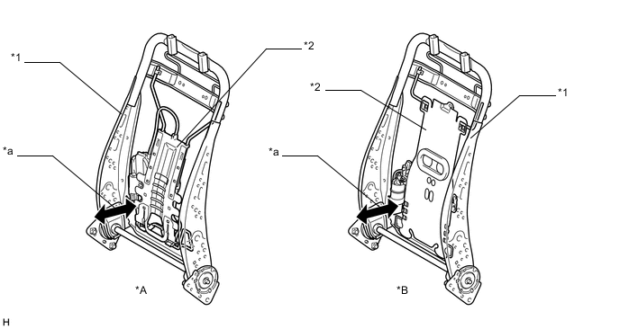
    1. Опора поясницы с электроприводом


      1. Сиденье водителя снабжено 2-ходовой регулируемой опорой поясницы. Эта опора содержит пластмассовую корзину, расположенную в зоне поясницы водителя и выдвигающую спинку сиденья вперед, тем самым обеспечивая равномерную поддержку от верхней части спины до таза и повышая удобство посадки.

        A00036KE03
        Обозначения на рисунке
        *A Для моделей без системы климат-контроля сидений *B Для моделей с системой климат-контроля сидений
        *1 Каркас спинки сиденья *2 Пластмассовая корзина
        *a Продольная регулировка (вперед-назад) - -
  2. КОНСТРУКЦИЯ


    1. Блокировка дверей от открывания из салона


      1. За подушкой заднего сиденья находятся крепления ISO-FIX для установки детских сидений.

      2. На облицовке отделения для мелких вещей предусмотрены верхние скобы обвязки крепления системы блокировки дверей от открывания из салона для установки детских сидений.

        A0002GCE03
        Обозначения на рисунке
        *1 Крепления ISO-FIX *2 Верхняя скоба обвязки крепления CRS