СИСТЕМА СИДЕНИЙ С ЭЛЕКТРОПРИВОДОМ

A0002MTE02
Обозначения на рисунке (для моделей с запоминающими устройствами сидений)
*A Для моделей с левосторонним рулевым управлением *B Для моделей с правосторонним рулевым управлением
*C Для моделей для Китая и варианта комплектации для Тайваня и Гонконга *D Кроме моделей для Китая и варианта комплектации для Тайваня и Гонконга
*1 ЭБУ распределения питания *2 ЭБУ электропривода левого наружного зеркала в сборе
*3 Выключатель освещения проема передней двери в сборе *4 Приемник системы дистанционной блокировки дверей
A0002SVE02
Обозначения на рисунке (для моделей с левосторонним рулевым управлением):
*1 Рулевая колонка в сборе *2 Мультиплексный ЭБУ регулировки наклона и телескопического изменения высоты
*3 Главный ЭБУ кузова (бортовой ЭБУ сети мультиплексной связи) *4 DLC3
*5 Переключатель запоминающего устройства положения сиденья (левый) *6
  • Главный переключатель сети мультиплексной связи в сборе


    • Выключатель системы блокировки дверей

*7 ЭБУ сертификации (ЭБУ электронного ключа зажигания в сборе) - -
*a Установочное положение детали приводится в бюллетене технического обслуживания. - -
A000311E02
Обозначения на рисунке (для моделей с правосторонним рулевым управлением):
*1 Рулевая колонка в сборе *2 Мультиплексный ЭБУ регулировки наклона и телескопического изменения высоты
*3 Главный ЭБУ кузова (бортовой ЭБУ сети мультиплексной связи) *4 DLC3
*5 Переключатель запоминающего устройства положения сиденья (правый) *6
  • Главный переключатель сети мультиплексной связи в сборе


    • Выключатель системы блокировки дверей

*7 ЭБУ сертификации (ЭБУ электронного ключа зажигания в сборе) - -
*a Установочное положение детали приводится в бюллетене технического обслуживания. - -
A0002VCE08
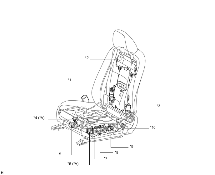
Обозначения на рисунке (сиденье водителя для моделей с левосторонним рулевым управлением):
*A для моделей с переключателем регулировки подушки сиденья - -
*1 Замок ремня безопасности левого переднего сиденья в сборе *2 Регулятор опоры поясницы
*3 Электродвигатель наклона *4 Электродвигатель регулировки длины подушки сиденья
*5 Электродвигатель направляющей (продольного перемещения) *6 Переключатель регулировки подушки сиденья
*7 Электродвигатель передней вертикальной тяги *8 Переключатель электропривода левого сиденья
*9 Переключатель электропривода левого сиденья в сборе *10 Электродвигатель подъема
A00037ME02
Обозначения на рисунке (сиденье водителя для моделей с правосторонним рулевым управлением):
*A для моделей с переключателем регулировки подушки сиденья - -
*1 Регулятор опоры поясницы *2 Электродвигатель наклона
*3 Замок ремня безопасности правого переднего сиденья в сборе *4 Электродвигатель подъема
*5 Переключатель электропривода правого сиденья в сборе *6 Переключатель электропривода правого сиденья
*7 Электродвигатель передней вертикальной тяги *8 Переключатель регулировки подушки сиденья
*9 Электродвигатель направляющей (продольного перемещения) *10 Электродвигатель регулировки длины подушки сиденья
A0002TDE05
Обозначения на рисунке (сиденье переднего пассажира для моделей с левосторонним рулевым управлением):
*A для моделей с переключателем электропривода сиденья - -
*1 Электродвигатель наклона *2 Регулятор опоры поясницы
*3 Переключатель электропривода сиденья *4 Электродвигатель подъема
*5 Переключатель электропривода правого сиденья в сборе *6 Переключатель электропривода правого сиденья
*7 Электродвигатель передней вертикальной тяги *8 Электродвигатель направляющей (продольного перемещения)
A0002P1E02
Обозначения на рисунке (сиденье переднего пассажира для моделей с правосторонним рулевым управлением):
*A для моделей с переключателем электропривода сиденья - -
*1 Переключатель электропривода сиденья *2 Регулятор опоры поясницы
*3 Электродвигатель наклона *4 Электродвигатель направляющей (продольного перемещения)
*5 Электродвигатель передней вертикальной тяги *6 Переключатель электропривода левого сиденья
*7 Переключатель электропривода левого сиденья в сборе *8 Электродвигатель подъема