СИСТЕМА СИДЕНИЙ С ЭЛЕКТРОПРИВОДОМ

A0002HGE02
Обозначения на рисунке (для моделей с запоминающими устройствами сидений)
*A кроме моделей для Китая и варианта комплектации для Тайваня *B для моделей для Китая и варианта комплектации для Тайваня
*1 ЭБУ распределения питания *2 ЭБУ электропривода левого наружного зеркала в сборе
*3 Выключатель освещения проема левой передней двери в сборе *4 Приемник системы дистанционной блокировки дверей
*5 Главный ЭБУ кузова (бортовой ЭБУ сети мультиплексной связи) *6 DLC3
*7 Переключатель запоминающего устройства положения сиденья (левый) *8
  • Главный переключатель сети мультиплексной связи в сборе


    • Выключатель системы блокировки дверей

*9 ЭБУ сертификации (ЭБУ электронного ключа зажигания в сборе) *10 Рулевая колонка в сборе
*11 Мультиплексный ЭБУ регулировки наклона и телескопического изменения высоты - -
*a Установочное положение детали указано в бюллетене технического обслуживания. - -
A0002VCE06
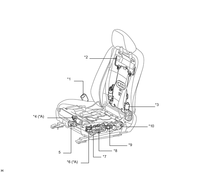
Обозначения на рисунке (сиденье водителя:)
*A для моделей с переключателем регулировки подушки сиденья - -
*1 Замок ремня безопасности левого переднего сиденья в сборе *2 Регулятор опоры поясницы
*3 Электродвигатель наклона *4 Электродвигатель регулировки длины подушки сиденья
*5 Электродвигатель направляющей (продольного перемещения) *6 Переключатель регулировки подушки сиденья
*7 Электродвигатель передней вертикальной тяги *8 Переключатель электропривода левого сиденья
*9 Переключатель электропривода левого сиденья в сборе *10 Электродвигатель подъема
A0002TDE04
Обозначения на рисунке (сиденье переднего пассажира:)
*A для моделей с переключателем электропривода сиденья - -
*1 Электродвигатель наклона *2 Регулятор опоры поясницы
*3 Переключатель электропривода сиденья *4 Электродвигатель подъема
*5 Переключатель электропривода правого сиденья в сборе *6 Переключатель электропривода правого сиденья
*7 Электродвигатель передней вертикальной тяги *8 Электродвигатель направляющей (продольного перемещения)