СИСТЕМА ПОДУШЕК БЕЗОПАСНОСТИ


  1. НАЗНАЧЕНИЕ ОСНОВНЫХ УСТРОЙСТВ


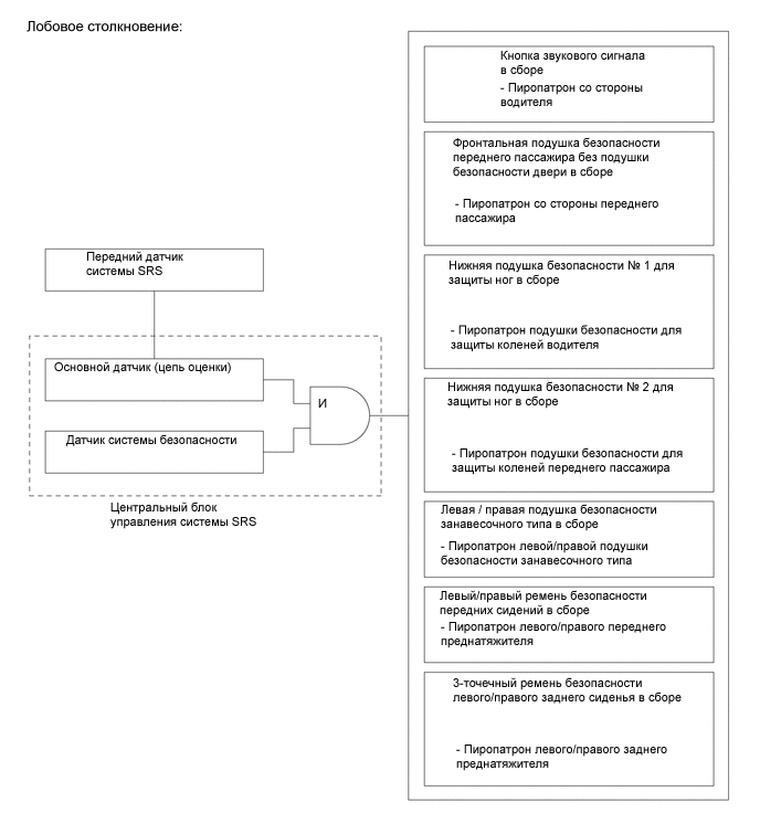
    1. Основные устройства выполняют следующие функции:

      Устройство Функция
      Центральный блок управления системы SRS
      • В случае столкновения блок управления системы SRS получает сигналы от одного из передних датчиков системы SRS. Блок управления системы SRS получает один сигнал через свою цепь оценки, а другой – от датчика системы безопасности, встроенного в блок управления системы SRS. Получив сигнал хотя бы от одного из передних датчиков системы SRS и от датчика системы безопасности, блок управления системы SRS определяет необходимость развертывания боковой подушки безопасности водителя, боковой подушки безопасности переднего пассажира, подушек безопасности для защиты коленей водителя и пассажира, подушек безопасности занавесочного типа, а также преднатяжителей ремней безопасности передних и задних сидений. Также блок управления системы SRS диагностирует неисправности системы.

      • В случае столкновения блок управления системы SRS получает сигналы от бокового датчика системы SRS или от заднего датчика системы SRS. Блок управления системы SRS получает один сигнал через свою цепь оценки, а другой – от датчика системы безопасности, встроенного в блок управления системы SRS. Получив сигнал хотя бы от одного из боковых датчиков системы SRS и от датчика системы безопасности, блок управления системы SRS определяет необходимость развертывания подушек безопасности передних сидений, подушек безопасности задних сидений и подушек безопасности занавесочного типа. Также блок управления системы SRS диагностирует неисправности системы.

      • Центральный блок управления системы SRS передает сигнал развертывания подушек безопасности в ЕСМ через мультиплексную шину CAN (локальная сеть контроллеров), чтобы повлиять на управление топливным насосом.

      Кнопка звукового сигнала в сборе Пиропатрон со стороны водителя Подушки безопасности дополняют действие ремней безопасности и помогают ослабить удары, действующие на водителя и пассажиров.
      Фронтальная подушка безопасности переднего пассажира без подушки безопасности двери в сборе Пиропатрон со стороны переднего пассажира
      Нижние подушки безопасности № 1 и № 2 для защиты ног в сборе Пиропатрон подушки безопасности для защиты коленей водителя / пиропатрон подушки безопасности для защиты коленей переднего пассажира
      Левая / правая подушка безопасности передних сидений в сборе Пиропатрон левой/правой передней боковой подушки безопасности
      Левая / правая подушка безопасности задних сидений в сборе Пиропатрон левой/правой задней боковой подушки безопасности
      Левая / правая подушка безопасности занавесочного типа в сборе Пиропатрон левой/правой подушки безопасности занавесочного типа
      Левый / правый передний датчик системы SRS Замедление автомобиля при фронтальном столкновении вызывает деформацию датчика, которая преобразуется в электрический сигнал.
      Левый / правый боковой датчик системы SRS в сборе Замедление автомобиля при боковом или заднем боковом столкновении вызывает деформацию датчика, которая преобразуется в электрический сигнал.
      Левый / правый задний датчик системы SRS
      Датчик положения сиденья Датчик положения сиденья определяет продольное положение сиденья.
      Левый/правый ремень безопасности передних сидений в сборе Пиропатрон левого/правого переднего преднатяжителя Ремни безопасности передних сидений в сборе помогают ослабить удары, воздействующие на водителя и пассажира.
      3-точечный ремень безопасности левого/правого заднего сиденья в сборе Пиропатрон левого/правого заднего преднатяжителя Ремни безопасности задних сидений в сборе помогают ослабить удары водителя и пассажира.
      Выключатель пряжки ремня безопасности водителя (замок ремня безопасности левого переднего сиденья в сборе) Выключатель пряжки ремня безопасности водителя определяет, пристегнут или нет ремень безопасности водителя.
      ЭБУ распределения питания
      • При лобовом, боковом или заднем боковом столкновении ЭБУ распределения питания получает сигнал развертывания подушки безопасности от блока управления системы SRS.

      • При этом ЭБУ распределения питания отключает электропитание гибридной системы, выключая главные реле системы (SMR), чтобы обеспечить безопасность.

      Щиток приборов в сборе Контрольная лампа аварийного состояния SRS Контрольная лампа аварийного состояния SRS загорается для предупреждения водителя, когда блок управления системы SRS обнаруживает неисправность в системе подушек безопасности SRS.
  2. УСЛОВИЯ РАБОТЫ


    1. Условия воспламенения


      1. В системе SRS используются датчики замедления, которые устанавливаются в разных частях автомобиля и определяют степень замедления (или ускорения) каждой части во время столкновения.

      2. В зависимости от ситуации блок управления системы SRS передает сигнал развертывания в подушки безопасности на основании информации, полученной от датчиков.

      3. Сигналы фронтального столкновения формируются на основе информации от блока управления системы SRS и передних датчиков системы SRS. Для развертывания подушек безопасности и приведения в действие преднатяжителей используются сигналы фронтального столкновения, как показано в следующей таблице. При фронтальном столкновении разворачиваются боковые и задние боковые подушки безопасности.

        A0002KIE05
      4. Развертывание подушки безопасности переднего сиденья и приведение в действие преднатяжителя ремня безопасности левого или правого переднего сиденья осуществляется на основании сигналов от боковых датчиков системы SRS и блока управления системы SRS.

        A0002J0E02
      5. Подушка безопасности заднего сиденья и подушка безопасности занавесочного типа разворачиваются на основании сигналов от задних и боковых датчиков системы SRS, а также блока управления системы SRS.

        A0003AME03
  3. УПРАВЛЕНИЕ В СИСТЕМЕ


    1. Подушки безопасности для защиты от фронтального столкновения


      1. При фронтальном (лобовом) столкновении развертываются 6 подушек безопасности: подушка безопасности в кнопке звукового сигнала в сборе, фронтальная подушка безопасности переднего пассажира без крышки в сборе, подушка безопасности № 1 для защиты ног в сборе, подушка безопасности № 2 для защиты ног в сборе и подушки безопасности занавесочного типа в сборе. Все эти подушки безопасности развертываются одновременно. Для развертывания подушки безопасности в кнопке звукового сигнала в сборе и фронтальной подушки безопасности пассажира без крышки в сборе применяется двухступенчатое управление. Кроме того, приводятся в действие преднатяжители ремней безопасности левого и правого передних и задних сидений.

      2. Для реализации двухступенчатого управления блок управления системы SRS анализирует указанную ниже информацию от различных источников.

      3. Когда передний датчик системы SRS регистрирует удар при фронтальном столкновении, он информирует о нем блок управления системы SRS. Блок управления системой SRS вызывает развертывание подушки безопасности в кнопке звукового сигнала в сборе, фронтальной подушки безопасности переднего пассажира без крышки в сборе, подушки безопасности № 1 для защиты ног в сборе, подушки безопасности № 2 для защиты ног в сборе и подушек безопасности занавесочного типа в сборе. При этом блок управления системы SRS приводит в действие преднатяжители ремней безопасности водителя, переднего пассажира и пассажиров задних сидений.

        Подушка безопасности Информация Источник
        Для водителя Сила удара
        • Передний датчик системы SRS (левый или правый)

        • Блок управления системы SRS

        Состояние ремня безопасности Замок ремня безопасности переднего сиденья в сборе (выключатель пряжки ремня безопасности водителя) (бесконтактный)
        Для переднего пассажира Сила удара
        • Передний датчик системы SRS (левый или правый)

        • Блок управления системы SRS

        Для заднего пассажира Сила удара
        • Передний датчик системы SRS (левый или правый)

        • Блок управления системы SRS

        A0002FAE03
    2. Подушки безопасности для защиты от бокового / заднего столкновения


      1. При сильном боковом столкновении развертываются 3 подушки безопасности: подушка безопасности передних сидений в сборе, подушка безопасности задних сидений в сборе и подушка безопасности занавесочного типа в сборе. Все эти подушки безопасности развертываются одновременно.

      2. Когда боковой датчик системы SRS регистрирует удар при боковом столкновении, он информирует о нем блок управления системы SRS, и последний обеспечивает одновременное развертывание подушки безопасности передних сидений в сборе, подушки безопасности задних сидений в сборе и подушки безопасности занавесочного типа в сборе, а также приводит в действие ремень безопасности переднего сиденья в сборе.

        A0003DHE03
      3. Когда задний датчик системы SRS регистрирует удар при заднем боковом столкновении, он информирует о нем блок управления системы SRS посредством бокового датчика системы SRS, и блок управления системы SRS обеспечивает разворачивание подушки безопасности занавесочного типа и подушки безопасности заднего сиденья.

        A0002MFE01
    3. Управление контрольными лампами при первичной проверке


      1. После установки выключателя питания в состояние ON (ВКЛ) (IG) центральный блок управления системы SRS примерно на 6 с включает контрольную лампу аварийного состояния SRS на щитке приборов и проводит первичную проверку. Во время первичной проверки воспламенение внутри подушек безопасности запрещается, и выполняется диагностика работы блока управления системы SRS. При обнаружении неисправности во время первичной проверки контрольная лампа аварийного состояния SRS останется включенной даже по истечении 6 с.

        A0003AZE18
  4. КОНСТРУКЦИЯ


    1. Блок управления системы SRS


      1. Блок управления системы SRS содержит цепи оценки, датчик системы безопасности, цепь управления зажиганием, вспомогательный источник питания, цепь диагностики и цепь памяти.

        Позиция Описание
        Цепь оценки Цепи оценки встраиваются в блок управления системой SRS и оценивают степень серьезности столкновения на основании сигналов ускорения/замедления от передних датчиков системы SRS, боковых датчиков системы SRS и задних боковых датчиков системы SRS.
        Датчик замедления В блок управления системы SRS встраивается датчик замедления. В случае столкновения этот датчик деформируется. Степень деформации зависит от интенсивности замедления автомобиля во время лобового столкновения и преобразуется в электрический сигнал.
        Цепь управления зажиганием В цепи управления зажиганием выполняются вычисления, основанные на сигналах, выдаваемых цепью оценки блока управления системы SRS, передних датчиков системы SRS, боковых датчиков системы SRS и задних датчиков системы SRS. Если вычисленные значения превышают заданные, осуществляется развертывание подушек безопасности.
        Датчик системы безопасности При фронтальном, боковом или заднем боковом столкновении этот датчик срабатывает и, если скорость замедления, сообщаемого датчику системы безопасности, превышает заданное значение, передает сигнал включения в блок управления системы SRS.
        Цепь вспомогательного источника питания Цепь вспомогательного источника питания содержит конденсатор и преобразователь постоянного тока в постоянный. Когда во время столкновения прерывается подача питания в блок управления системы SRS, конденсатор вспомогательного источника питания разряжается и обеспечивает питание системы. Преобразователь постоянного тока в постоянный действует как повышающий трансформатор, когда напряжение аккумуляторной батареи падает ниже допустимого уровня.
        Цепь диагностики Цепь диагностики обеспечивает непрерывный контроль неисправностей в системе. Когда обнаруживается неисправность, она включает контрольную лампу аварийного состояния SRS на щитке приборов для информирования водителя.
        Цепь памяти Когда посредством цепи диагностики обнаруживается неисправность, в памяти сохраняется код DTC.
    2. Кнопка звукового сигнала в сборе


      1. Кнопка звукового сигнала в сборе содержит 2 комплекта инициаторов и зарядов. Блок управления системы SRS помогает оптимизировать скорость развертывания подушек безопасности, регулируя моменты зажигания инициаторов.

        A0002MSE03
        Обозначения на рисунке
        *1 Оболочка *2 Насос
        *3 Разъем 1-го инициатора *4 Разъем 2-го инициатора
        *a Сечение A - A *b Обратная сторона
    3. Фронтальная подушка безопасности переднего пассажира без подушки безопасности двери в сборе


      1. Подушка безопасности для защиты ног пассажира без крышки содержит 2 комплекта инициаторов и зарядов. Блок управления системы SRS помогает оптимизировать скорость развертывания подушек безопасности, регулируя моменты зажигания этих инициаторов.

      2. При развертывании фронтальная подушка безопасности переднего пассажира без подушки безопасности двери в сборе принимает форму 2 подушек с углублением посередине. Сразу после развертывания подушки эта форма обеспечивает опору пассажиру во многих местах, включая голову и плечи. Таким образом, подушка распределяет нагрузку, действующую на пассажира, ослабляя точечный удар, которому пассажир подвергается непосредственно после развертывания подушки.

        A0002WPE03
        Обозначения на рисунке
        *1 Разъем 1-го инициатора *2 Разъем 2-го инициатора
        *3 Насос *4 Оболочка
        *5 Нажатие - -
        *a Сечение A - A - -
    4. Подушка безопасности для защиты ног № 1 в сборе и подушка безопасности для защиты ног № 2 в сборе


      1. Каждая подушка безопасности для защиты коленей в сборе состоит из крышки отсека подушки, насоса и оболочки.

        A0002ZRE01
        Обозначения на рисунке
        *1 Нижняя подушка безопасности № 1 для защиты ног в сборе *2 Нижняя подушка безопасности № 2 для защиты ног в сборе
        *3 Насос *4 Оболочка
        *a Сечение A - A - -
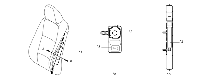
    5. Подушка безопасности передних сидений в сборе


      1. Каждая подушка безопасности передних сидений выполнена в виде единого узла, включающего насос и оболочку.

        A0002ZQE03
        Обозначения на рисунке
        *1 Подушка безопасности передних сидений в сборе *2 Насос
        *3 Оболочка - -
        *a Сечение A - A *b Сечение B - B
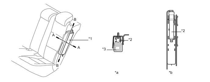
    6. Подушка безопасности задних сидений в сборе


      1. Каждая подушка безопасности задних сидений выполнена в виде единого узла, включающего насос и оболочку.

        A0002WUE03
        Обозначения на рисунке
        *1 Подушка безопасности задних сидений в сборе *2 Насос
        *3 Оболочка - -
        *a Сечение A - A *b Сечение B - B
    7. Подушка безопасности занавесочного типа в сборе


      1. Каждая подушка безопасности занавесочного типа в сборе представляет собой единый узел, состоящий из насоса и оболочки.

        A00033YE02
        Обозначения на рисунке
        *1 Подушка безопасности занавесочного типа в сборе *2 Насос
        *3 Оболочка - -
        *a Сечение A - A - -
    8. Передний датчик системы SRS


      1. В передних датчиках системы SRS применяются электрические датчики замедления. Замедление автомобиля при лобовом столкновении вызывает деформацию внутреннего элемента датчика, которая преобразуется в электрический сигнал.

        A0002UAE25
        *1 Передний датчик системы SRS
        *2 Датчик замедления
        *3 Блок управления системы SRS
        *4 ИС передачи данных
    9. Боковой датчик системы SRS в сборе или задний датчик системы SRS в сборе


      1. Боковые и задние датчики системы SRS включают в себя датчик замедления. Замедление автомобиля при боковом или заднем боковом столкновении вызывает деформацию внутреннего элемента датчика, которая преобразуется в электрический сигнал.

        A0003CTE08
    10. Датчик положения сиденья


      1. Датчик положения сиденья, содержащий ИС на приборах с эффектом Холла, регистрирует изменения магнитного потока, возникающие из-за перемещения верхней направляющей.

        A0002FZE01
        Обозначения на рисунке
        *1 Датчик положения сиденья - -
        *a Сиденье сдвинуто назад *b Сиденье сдвинуто вперед
    11. Замок ремня безопасности переднего сиденья в сборе (выключатель пряжки ремня безопасности)


      1. В замок ремня безопасности переднего сиденья в сборе (выключатель пряжки ремня безопасности) со стороны водителя и со стороны переднего пассажира встроен бесконтактный выключатель.

      2. Этот выключатель содержит датчик Холла и магнит.

      3. Отстегивание и пристегивание ремня безопасности вызывают смещение выбрасывателя внутри замка ремня безопасности переднего сиденья в сборе (выключателя пряжки ремня безопасности) и пластины, смонтированной на выбрасывателе. При смещении пластины изменяется плотность магнитного потока магнита.

      4. Датчик Холла регистрирует изменения плотности магнитного потока. Эти изменения определяют, пристегнут или отстегнут ремень безопасности, и датчик Холла передает соответствующий сигнал в блок управления системы SRS (со стороны водителя).

        A0002Z7E15
        Обозначения на рисунке
        *1 Выбрасыватель *2 Магнит
        *3 Датчик Холла *4 Пластина
        *5 Магнитный поток - -
        *a Ремень безопасности не пристегнут *b Ремень безопасности пристегнут
  5. ДИАГНОСТИКА


    1. Когда блок управления системы SRS обнаруживает неисправность системы подушек безопасности SRS, он сохраняет информацию о неисправности в памяти, а также включает контрольную лампу аварийного состояния SRS.

    2. Данные о неисправности в системе SRS (5-значные диагностические коды неисправностей (DTC)) передаются блоком управления системы SRS в Global TechStream (GTS).

    3. 5-значные коды DTC можно считать, подключив прибор Global TechStream (GTS) к DLC3. Более подробную информацию см. в Руководстве по ремонту.

    4. При развертывании подушек безопасности системы SRS блок управления системы SRS включает контрольную лампу аварийного состояния SRS. Однако в отличие от обычной диагностики DTC при этом не сохраняется в памяти. Выключить контрольную лампу аварийного состояния SRS невозможно. Блок управления системы SRS должен быть заменен новым блоком.