СИСТЕМА ПОДУШЕК БЕЗОПАСНОСТИ

A0002TGE03
Обозначения на рисунке
*1 Правый передний датчик системы SRS *2 Левый передний датчик системы SRS
*3 ECM *4

Левая подушка безопасности передних сидений в сборе

- Пиропатрон левой передней боковой подушки безопасности

*5

Левый передний ремень с катушкой и преднатяжителем в сборе

- Пиропатрон левого переднего преднатяжителя

*6 Левый боковой датчик системы SRS в сборе
*7 Левый задний датчик системы SRS *8

Левая подушка безопасности задних сидений в сборе

- Пиропатрон левой задней боковой подушки безопасности

*9

3-точечный ремень безопасности левого заднего сиденья в сборе

- Пиропатрон левого заднего преднатяжителя

*10

Левая подушка безопасности занавесочного типа в сборе

- Пиропатрон левой подушки безопасности занавесочного типа

*11

3-точечный ремень безопасности правого заднего сиденья в сборе

- Пиропатрон правого заднего преднатяжителя

*12

Правая подушка безопасности задних сидений в сборе

- Пиропатрон правой задней боковой подушки безопасности

*13

Правая подушка безопасности занавесочного типа в сборе

- Пиропатрон правой подушки безопасности занавесочного типа

*14 Правый задний датчик системы SRS
*15

Правая подушка безопасности передних сидений в сборе

- Пиропатрон правой передней боковой подушки безопасности

*16 Правый боковой датчик системы SRS в сборе
*17

Правый передний ремень с катушкой и преднатяжителем в сборе

- Пиропатрон правого переднего преднатяжителя

- -
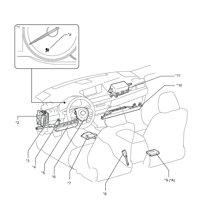
A000332E02
Обозначения на рисунке (для моделей с левосторонним рулевым управлением):
*A Для моделей с ручным выключателем (SOS) - -
*1 Щиток приборов в сборе *2 ЭБУ гибридной системы
*3 Главный ЭБУ кузова (бортовой ЭБУ сети мультиплексной связи) *4 DLC3
*5

Нижняя подушка безопасности № 1 для защиты ног в сборе

- Пиропатрон подушки безопасности для защиты коленей водителя

*6

Кнопка звукового сигнала в сборе

- Пиропатрон со стороны водителя

*7 Блок управления системы SRS *8 Выключатель пряжки ремня безопасности водителя (замок ремня безопасности левого переднего сиденья в сборе)
*9 DCM (приемопередатчик системы обработки и передачи информации) *10

Нижняя подушка безопасности № 2 для защиты ног в сборе

- Пиропатрон подушки безопасности для защиты коленей переднего пассажира

*11

Фронтальная подушка безопасности переднего пассажира без подушки безопасности двери в сборе

- Пиропатрон со стороны переднего пассажира

- -
*a Контрольная лампа аварийного состояния SRS - -
A000392E02
Обозначения на рисунке (для моделей с правосторонним рулевым управлением):
*1 Щиток приборов в сборе *2

Фронтальная подушка безопасности переднего пассажира без подушки безопасности двери в сборе

- Пиропатрон со стороны переднего пассажира

*3 ЭБУ гибридной системы *4 Главный ЭБУ кузова (бортовой ЭБУ сети мультиплексной связи)
*5

Нижняя подушка безопасности № 2 для защиты ног в сборе

- Пиропатрон подушки безопасности для защиты коленей переднего пассажира

*6 Блок управления системы SRS
*7 Выключатель пряжки ремня безопасности водителя (замок ремня безопасности правого переднего сиденья в сборе) *8

Нижняя подушка безопасности № 1 для защиты ног в сборе

- Пиропатрон подушки безопасности для защиты коленей водителя

*9 DLC3 *10

Кнопка звукового сигнала в сборе

- Пиропатрон со стороны водителя

*a Контрольная лампа аварийного состояния SRS - -