СИСТЕМА ПОДУШЕК БЕЗОПАСНОСТИ

A0003BNE01
Обозначения на рисунке
*1 Правый передний датчик системы SRS *2 Левый передний датчик системы SRS
*3 ECM *4

Левая подушка безопасности передних сидений в сборе

- Пиропатрон левой передней боковой подушки безопасности

*5

Левый передний ремень с катушкой и преднатяжителем в сборе

- Пиропатрон левого переднего преднатяжителя

*6 Левый боковой датчик системы SRS в сборе
*7 Левый задний датчик системы SRS *8

Левая подушка безопасности задних сидений в сборе

- Пиропатрон левой задней боковой подушки безопасности

*9

3-точечный ремень безопасности левого заднего сиденья в сборе

- Пиропатрон левого заднего преднатяжителя

*10

Левая подушка безопасности занавесочного типа в сборе

- Пиропатрон левой подушки безопасности занавесочного типа

*11

3-точечный ремень безопасности правого заднего сиденья в сборе

- Пиропатрон правого заднего преднатяжителя

*12

Правая подушка безопасности задних сидений в сборе

- Пиропатрон правой задней боковой подушки безопасности

*13

Правая подушка безопасности занавесочного типа в сборе

- Пиропатрон правой подушки безопасности занавесочного типа

*14 Правый задний датчик системы SRS
*15

Правая подушка безопасности передних сидений в сборе

- Пиропатрон правой передней боковой подушки безопасности

*16 Правый боковой датчик системы SRS в сборе
*17

Правый передний ремень с катушкой и преднатяжителем в сборе

- Пиропатрон правого переднего преднатяжителя

- -
A0003CNE01
Обозначения на рисунке (для моделей с левосторонним рулевым управлением):
*A Для моделей с ручным выключателем (SOS) - -
*1 Щиток приборов в сборе *2 Контрольная лампа аварийного состояния SRS
*3 Главный ЭБУ кузова (бортовой ЭБУ сети мультиплексной связи) *4 ЭБУ распределения питания
*5 DLC3 *6

Нижняя подушка безопасности № 1 для защиты ног в сборе

- Пиропатрон подушки безопасности для защиты коленей водителя

*7

Кнопка звукового сигнала в сборе

- Пиропатрон со стороны водителя

*8 Блок управления системы SRS
*9 Датчик положения сиденья *10 Выключатель пряжки ремня безопасности водителя (замок ремня безопасности левого переднего сиденья в сборе)
*11 DCM (приемопередатчик системы обработки и передачи информации) *12

Нижняя подушка безопасности № 2 для защиты ног в сборе

- Пиропатрон подушки безопасности для защиты коленей переднего пассажира

*13

Фронтальная подушка безопасности переднего пассажира без подушки безопасности двери в сборе

- Пиропатрон со стороны переднего пассажира

- -
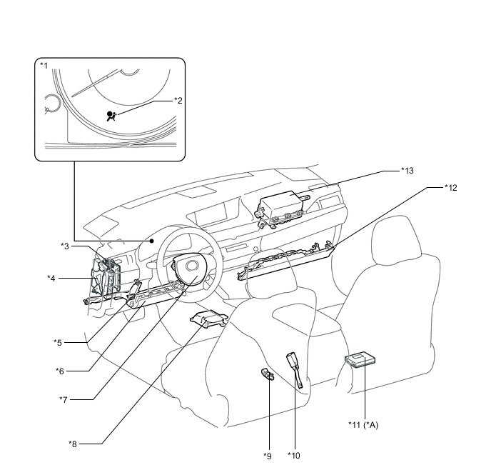
A0003ANE01
Обозначения на рисунке (для моделей с правосторонним рулевым управлением):
*1 Щиток приборов в сборе *2 Контрольная лампа аварийного состояния SRS
*3

Фронтальная подушка безопасности переднего пассажира без подушки безопасности двери в сборе

- Пиропатрон со стороны переднего пассажира

*4 Главный ЭБУ кузова (бортовой ЭБУ сети мультиплексной связи)
*5 ЭБУ распределения питания *6

Нижняя подушка безопасности № 2 для защиты ног в сборе

- Пиропатрон подушки безопасности для защиты коленей переднего пассажира

*7 Блок управления системы SRS *8 Датчик положения сиденья
*9 Выключатель пряжки ремня безопасности водителя (замок ремня безопасности правого переднего сиденья в сборе) *10

Нижняя подушка безопасности № 1 для защиты ног в сборе

- Пиропатрон подушки безопасности для защиты коленей водителя

*11

Кнопка звукового сигнала в сборе

- Пиропатрон со стороны водителя

- -