BODY STRUCTURE DETAILS


  1. FUNCTION


    1. Safety Features


      1. Impact Absorbing Structure for Frontal Collision


        1. Through the adoption of a body structure that disperses collision energy to multiple frame components, collision energy is efficiently absorbed to suppress cabin deformation.

        2. The front side members and apron upper members are utilized to absorb and disperse energy in a frontal collision.

        3. The apron upper members have been strengthened to optimize dispersal of collision energy to the front pillar reinforcement, beltline reinforcement, rocker panel reinforcement and floor panel.

          A01GVYCE01
          Text in Illustration
          *1 Front Side Member *2 Apron Upper Member
          *3 Front Pillar Reinforcement *4 Beltline Reinforcement
          *5 Rocker Panel Reinforcement - -
          A01GVJY Impact A01GVKO Impact Flow
        4. The rocker panel reinforcements have been strengthened to optimize dispersal of collision energy from the front wheels to the beltline reinforcement, front pillar reinforcement and floor panel.

        5. The front end of the rocker is has been extended further forward. Therefore, impact force during a frontal collision can be absorbed at the front end of the rocker, suppressing vehicle body deformation around the cabin. (on Right Side of RHD Models)

        6. By installing an A-pillar lower patch, vehicle body deformation around the cabin caused by impact force during a frontal collision is suppressed. (on Right Side of RHD Models)

          A01GVS4E01
          Text in Illustration
          *A Right Side of RHD Models - -
          *1 Rocker Panel Reinforcement *2 Beltline Reinforcement
          *3 Front Pillar Reinforcement - -
          *a Extra Piece *b A-pillar Lower Patch
          A01GVJY Impact A01GVKO Impact Flow
      2. Impact Absorbing Structure for Side Collision


        1. Through the adoption of a body structure that disperses collision energy to multiple frame components, collision energy is efficiently absorbed to suppress cabin deformation.

        2. The center pillars are strengthened to optimize dispersal of collision energy to the floor crossmember and roof reinforcement.

        3. The use of roof reinforcements and floor crossmembers enables a construction that transmits load to the opposite side of the vehicle in a collision.

        4. Ultra high strength sheet steel is used for the center pillar outer reinforcement and center pillar hinge reinforcement to ensure high strength.

        5. Optimal placement of the impact protect beams enables a construction that efficiently transmits load.

        6. A rear door box is provided inside the bottom of the rear door. In the event of a side collision, the rear door box strikes the rear crossmember gusset, absorbing the impact by transmitting it to the center floor member.

          A01GVXOE01
          Text in Illustration
          *1 Front Header Extension *2 Roof Center Reinforcement
          *3 Roof Rear Reinforcement *4 Front Floor Crossmember
          *5 Center Floor Crossmember *6 Rear Door Box
          *7 Center Floor Crossmember Gusset *8 Impact Protect Beam
          *9 Center Pillar Outer Reinforcement *10 Center Pillar Hinge Reinforcement
          *a A-A Cross Section *b B-B Cross Section
          A01GVJY Impact A01GVKO Impact Flow
        7. When the roof is subjected to an impact, the impact is dispersed to the roof reinforcements, front pillars and center pillars, thereby minimizing deformation of the cabin.

          A01GVXRE01
          Text in Illustration
          *1 Front Header Extension *2 Roof Center Reinforcement
          *3 Roof Rear Reinforcement *4 Front Pillar
          *5 Center Pillar - -
          A01GVJY Impact A01GVKO Impact Flow
      3. Lessening Pedestrian Injury


        1. A longitudinal ribbed structure is adopted for the inner hood to cushion impact.

        2. A hood reinforcement is provided for the hood inner panel to help secure excellent pedestrian protection performance and tensile rigidity.

        3. The space between the hood panel and the hood reinforcement lock striker has been formed into a crushable structure so that the hood sub-assembly can collapse easily during a collision.

          A01GVXCE01
          Text in Illustration
          *1 Longitudinal Ribbed Structure *2 Hood Reinforcement (Impact Absorbing Structure)
          *a A-A Cross Section *b Space
          A01GVJY Impact - -
        4. The cowl uses an open section structure that collapses easily in an impact from the top, thus reducing the impact to and head injuries sustained by a pedestrian in an accident.

          A01GVIHE01
          Text in Illustration
          *1 Hood Panel *2 Windshield Glass
          *3 Cowl Top Panel Sub-assembly - -
          *a A-A Cross Section *b Open Section
          A01GVJY Impact - -
    2. Aerodynamics


      1. An aero stabilizing fin is provided on the driver door, front passenger door and rear combination lenses for enhanced aerodynamics.


        1. After passing the aero stabilizing fin, the air speed will increase and vortex flow will be generated.

        2. This vortex increases the speed of the surrounding air while at the same time pulling the airflow towards the vehicle body.

        3. The airflow with higher speed passes near both sides of the vehicle body and ends at the rear of the vehicle. This helps to hold the vehicle body, and a vortex will be generated.

        A01GVP0E01
        Text in Illustration
        *a Aero Stabilizing Fin *b Vortex
        A01GVKO Airflow A01GVJY Hold the Vehicle from Both Sides
      2. A fin-shaped engine under cover and rear under cover have been adopted to achieve higher diffuser efficiency, thereby ensuring stability.

        A01GVAD
  2. CONSTRUCTION


    1. Lightweight and Highly Rigid Body


      1. High strength steel and ultra high strength steel are used in order to realize excellent body rigidity and a lightweight body.

        A01GVHTE01
        Text in Illustration
        *a Ultra High Strength Steel (1620 MPa Class) *b Ultra High Strength Steel (1470 MPa Class)
        *c Ultra High Strength Steel (980 MPa Class) *d High Strength Steel (590 MPa Class)
        *e High Strength Steel (440 MPa Class) - -
        A01GVI3 Ultra High Strength Sheet Steel A01GVG1 High Strength Sheet Steel
        A01GVS7 Aluminum - -
    2. Rust Resistant Body


      1. Anti-corrosion sheet steel is used as shown in the following illustration:

        A01GVK2
        Text in Illustration
        A01GVI3 Anti-corrosion Sheet Steel - -
      2. For rust resistance, sealant has been applied to the floor panel to prevent water from entering through the mating surfaces of the panels. Undercoating has been also applied to reduce damage to the body from chipping, contributing to rust resistance.

        A01GVM3E01
        Text in Illustration
        *a Sealant - -
        A01GVI3 Undercoat - -
    3. Body Shell Construction


      1. The cowl top panel sub-assembly outer, which is straight, is used to connect the left and right front spring supports, improving lateral rigidity and ensuring front suspension input point rigidity and body rigidity.

        A01GVLYE01
        Text in Illustration
        *1 Cowl Top Panel Sub-assembly - -
      2. A closed shape has been adopted for the upper back panel. The upper back panel, which is straight, is used to connect the left and right back side panels, promoting a lightweight yet rigid body.

        A01GVG6E01
        Text in Illustration
        *1 Upper Back Panel - -
      3. Reinforcements have been added to the open area of the lower back panel, ensuring torsional rigidity and excellent handling stability.

        A01GVJME01
        Text in Illustration
        *1 Lower Back Panel Reinforcement Sub-assembly *2 Lower Back Panel Reinforcement Sub-assembly No. 2
    4. Anti-chipping Application


      1. To help prevent the paint from the paint from chipping, anti-chipping paint is applied to the hood panel.

      2. Anti-chipping tape is applied to the quarter panel on the back of the rear door to protect the paint surface from icy snow or gravel and to achieve a high level of rust resistance.

        A01GVC7E01
        Text in Illustration
        *1 Anti-chipping Paint *2 Anti-chipping Tape
    5. Low Vibration and Low Noise Body


      1. A hood insulator is provided on the underside of the hood panel. This achieves excellent sound insulation performance.

        A01GVOOE01
        Text in Illustration
        *1 Hood Insulator - -
        *a A-A Cross Section - -
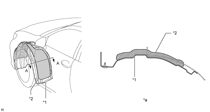
      2. Sound absorbing material (front fender seal) is used in the front fender liner to reduce road noise.

        A01GVNUE01
        Text in Illustration
        *1 Front Fender Liner *2 Sound-absorbing Material (Front Fender Seal)
        *a A-A Cross Section - -
      3. A front fender upper protector is used on the engine compartment side of the fender side cover to reduce the amount of noise transmitted from the area between the fender and apron to the vehicle cabin.

        A01GW1LE01
        Text in Illustration
        *1 Front Fender Upper Protector - -
        *a A-A Cross Section - -
        A01GVKO Noise - -
      4. A front fender side panel protector is used to reduce the amount of noise transmitted from the area between the fender and front pillar to the vehicle cabin.

        A01GVY7E01
        Text in Illustration
        *1 Front Fender Side Panel Protector - -
        *a A-A Cross Section - -
        A01GVKO Noise - -
      5. Damping coatings are provided, combining enhanced quietness and reduced weight.

        A01GVFZ
        Text in Illustration
        A01GVKH Damping Material Area - -
      6. The layout of the sound-absorbing material is optimized to reduce noise and vibration.

        A01GVITE01
        Text in Illustration
        *a A-A Cross Section *b B-B Cross Section
        *c C-C Cross Section *d D-D Cross Section
        *e E-E Cross Section *f F-F Cross Section
        *g G-G Cross Section *h H-H Cross Section
        *i I-I Cross Section *j J-J Cross Section
        *k K-K Cross Section *l L-L Cross Section
        *m M-M Cross Section - -
        A01GVKH Sound-absorbing Material - -