MEMORY SYSTEM


  1. SEAT POSITION DETECTION METHOD


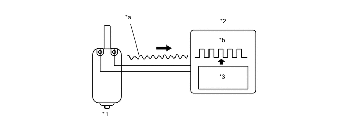
    1. A pulse generation circuit in position control ECU and switch converts the driving current pulsations that are generated by the rotation of the motor into pulse signals. These signals are then picked up in order to detect the seat position.

      A01W7G9C01
      *1 Seat Motor *2 Position Control ECU and Switch
      *3 Pulse Generation Circuit - -
      *a Current pulsations generated by motor *b Pulses after conversion