LANE DEPARTURE ALERT SYSTEM


  1. OPERATING CONDITION

    Operating Conditions of LDA System
    Operation Condition
    Operating/Resume

    The lane departure warning function is activated when all of the following conditions are met:


    • The LDA main switch is on. (When the LDA main switch is pressed to turn on the LDA system, the LDA indicator illuminates.)

    • The vehicle speed is above approximately 50 km/h (32 mph) or more.

    • Lane markers are detected.

    • No turn signal command is detected.

    • System malfunction is not detected.

    Suspended

    The lane departure alert system is suspended when any one of the following conditions is met:


    • The vehicle speed is below approximately 50 km/h (32 mph) or more.

    • A turn signal command is detected.

    • No lane markers are detected.

    • Immediately after the lane departure warning is activated.

    • A malfunction is detected in the LDA system.

    • The temperature of the forward recognition camera is abnormal.

    • The vehicle crosses halfway or further over a lane marker.

    Canceled

    The lane departure alert system is stopped when any one of the following conditions is met:


    • The LDA main switch is off.

    • The LDA system is malfunctioning.

    • The engine switch is turned off.

    The lane departure alert system resumes when the following conditions are met:


    • The conditions to start operation listed above returns to are satisfied.

    • The LDA system condition returns to normal.

    • The engine switch is turned off and on (IG) again to ensure normal operation, after the LDA system has been stopped by a system malfunction.

    Operating Conditions of LDA System (Vehicle Sway Warning)
    Operation Condition
    Operating/Resume

    The lane departure warning function is activated when all of the following conditions are met:


    • The vehicle sway warning function has been turned on using the customize setting.

    • The vehicle speed is above approximately 50 km/h (32 mph) or more.

    • Lane markers are detected.

    • System malfunction is not detected.

    Suspended

    The lane departure alert system is suspended when any one of the following conditions is met:


    • The vehicle speed is below approximately 50 km/h (32 mph) or more.

    • A turn signal command is detected.

    • No lane markers are detected.

    • Immediately after the lane departure warning is activated.

    Canceled

    The lane departure alert system is stopped when any one of the following conditions is met:


    • The LDA system is malfunctioning.

    • Engine switch is turned off.

    • The vehicle sway warning function is turned off using the customize setting.

    The lane departure alert system resumes when the following conditions are met:


    • The conditions to start operation listed above returns to are satisfied.

    • The LDA system condition returns to normal.

    • The engine switch is turned off and on (IG) again to ensure normal operation, after the LDA system has been stopped by a system malfunction.

  2. SYSTEM CONTROL


    1. Function Overview (Lane Departure Alert Function)

      If the system judges that the vehicle may deviate from the lane it is in, the system blinks the lane maker in the multi-information display and sounds a buzzer or vibrates a steering so that the driver can take action to avoid lane departure.

      A01W7JHE01
      *1 or
      *2 Buzzer Sounds
      *3 Steering Vibrates
      *4 Warning
    2. Function Overview (Vehicle Sway Warning)

      The system detects drift of the vehicle within its lane, which is often the result of a driver who is tired, distracted or not looking ahead, based on the position of the vehicle within its lane and the steering inputs of the driver, and alerts the driver before a lane departure or collision occurs.

      A01W7ALE02
      *1 and
      *2 Buzzer Sounds
      *3 Warning Display
      *4 Warning
  3. FUNCTION


    1. Steering Pad Switch

      Using the meter control switches of the steering pad switch assembly, the steering assist functions and the unsteady driving alert functions can be customized.

      A01W7U9C01
      *1 Meter Control Switches *2 LDA Main Switch
      Customize Lane Departure Alert Functions
      Item (Select using the up/down button of the meter control switch) Description Setting (Change using the center button of the meter control switch)
      Warning Sensitivity Timing of lane departure warning
      • Normal

      • High

      Warning Device Warning device of lane departure warning
      • Buzzer (Alert)

      • Steering Vibration

      Customize Vehicle Sway Warning Functions
      Item (Select using the up/down button of the meter control switch) Description Setting (Change using the center button of the meter control switch)
      Vehicle Sway Warning Vehicle sway warning function
      • ON

      • OFF

      Warning Sensitivity Vehicle Sway Warning sensitivity
      • High

      • Standard

      • Low

    2. Forward Recognition Camera


      • The forward recognition camera captures the road image up to approximately 50 m (164 ft.) ahead of the forward recognition camera.

      • The forward recognition camera detects lane markers and calculates the radius to the center of the lane, heading angle deviation, lateral deviation from the center of the lane, and the lane width.

        Tech Tips

        When one of the following operations is conducted, the forward recognition camera angle must be adjusted. For details, refer to the Repair Manual.


        • The forward recognition camera is removed and reinstalled or replaced.

        • Parts relating to the tire or suspension are replaced or adjusted.

        • Strong force is applied onto the forward recognition camera.

      • The lane departure alert system does not operate if the vehicle approaches the lane marker (but does not cross it), as long as the vehicle remains parallel with the lane marker.

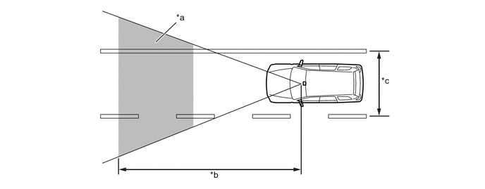
        A01W79PC01
        *a Image Processing Range *b Approximately. 50 m (164 ft.)
        *c Forward Recognition Camera captures the image of approximately 3.0 m (9.8 ft.) or more. - -

        Figure 1. Forward Recognition Camera Calculation

        A01W7WQC01
        *a Right Lane Marker *b Center of Lane
        *c Left Lane Marker *d Lane Radius (If only the left line marker or right lane marker is recognized, the radius of the recognized lane marker will be calculated.)
        *e Angle between the vehicle traveling direction and left lane marker. *f Angle between the vehicle traveling direction and right lane marker.
        *g Distance from the vehicle to left lane marker. *h Distance from the vehicle to right lane marker.
        *i Image Captured by Forward Recognition Camera - -