INTERIOR


  1. Instrument Panel


    1. A design theme "SUV cockpit" has been brought in reality, showing a "sophisticatedly designed, user-friendly vehicle package" under the keyword of "easy-to-use layout in an advanced cockpit".

    2. White illumination has been adopted for each switch that comes on at night.

      A01W7IA
    3. The following parts have been decorated.

      Parts Decoration type
      Instrument Panel Register Bezel LH Satin Plate
      Center Instrument Cluster Finish Panel Garnish
      No. 1 Console Upper Panel Power Seat Switch Base
      Rear Console Cover
      Accessory Meter Assembly
      Multi-media Module Receiver Assembly
      No. 3 Instrument Cluster Finish Panel Garnish Wooden
      Instrument Panel Finish Plate Garnish
      No. 2 Rear End Panel Console Garnish
      Upper Console Panel Wooden or Black Paint
      No. 1 Under Instrument Panel Cover
      Multi-media Module Receiver Assembly Black Paint
      Center Lower Instrument Cluster Finish Cover
      No. 1 Instrument Panel Finish Panel Retainer Stitch
      Instrument Panel Safety Pad Assembly
      Lower Instrument Panel Pad Sub-assembly RH/LH Skin Wrap
      Instrument Panel Finish Panel End
      Grove Compartment Door Sub-assembly
      Console Compartment Door Sub-assembly Genuine Leather
      Shift Lever Knob Ornament Aluminum Plate
      Shift Position Indicator Black Painted with Lame

      Tech Tips

      *: The decoration differ by vehicle specification.

      A01W7MRC01
      *1 The Satin Plate Area of Accessory Meter Assembly *2 The Stitch Area of No. 1 Instrument Panel Finish Panel Retainer
      *3 No. 3 Instrument Cluster Finish Panel Garnish *4 Instrument Panel Register Bezel LH
      *5 Lower Instrument Panel Pad Sub-assembly LH *6 No. 1 Under Instrument Panel Cover
      *7 Upper Console Panel *8 Shift Position Indicator
      *9 Instrument Panel Finish Panel End *10 No. 1 Console Upper Panel Power Seat Switch Base
      *11 No. 2 Rear End Panel Console Garnish *12 Rear Console Cover
      *13 Console Compartment Door Sub-assembly *14 Shift Lever Knob Ornament
      *15 Center Lower Instrument Cluster Finish Cover *16 The Satin Plate Area of Multi-media Module Receiver Assembly
      *17 Grove Compartment Door Sub-assembly *18 Lower Instrument Panel Pad Sub-assembly RH
      *19 Center Instrument Cluster Finish Panel Garnish *20 Instrument Panel Finish Plate Garnish
      *21 The Stitch Area of Instrument Panel Safety Pad Assembly *22 Multi-media Module Receiver Assembly
      A01W7E5 Decorated Area - -
    4. An analog clock with GPS function, which is new LEXUS vehicles, is symbolically located in the center of the instrument panel.

    5. Illumination scale and needle have been adopted for fine visibility.

    6. Metal ring has been adopted.

    7. 3-dimensional scale has been adopted for the scale for 0/3/6/9.

      A01W75AC01
      *1 Metal Ring *2 3-dimensional Scale
      *a A - A Cross Section - -
      A01W7E5 Illumination Area - -
    8. A center lower pocket has been adopted on the center lower panel for expanding the storage areas.

    9. A No. 1 stereo jack adapter assembly and a No. 3 power outlet socket assembly have been arranged near the center lower pocket for higher convenience.

    10. A No. 1 stereo jack adapter assembly has been arranged near the wireless charging system for higher convenience to the vehicles equipped with the wireless charging system.

    11. The shift lever knob sub-assembly has been relocated for providing remote touch interface system and console cup holder box sub-assembly on the front side.

      A01W7P7C01
      *1 Center Lower Pocket *2 Console Cup Holder Box Sub-assembly
      *3 Shift Lever Knob Sub-assembly *4 Wireless Charging System
      *5 No. 3 Power Outlet Socket Assembly *6 No. 1 Stereo Jack Adapter Assembly
  2. Door Trim


    1. The knob-less front/rear door inside handle without having locking knobs have been adopted for fine appearance.

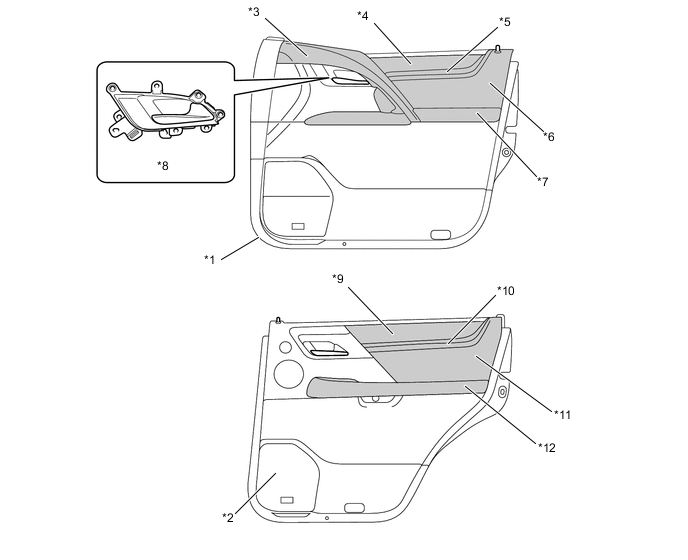
    2. The following parts have been decorated.

      Parts Decoration type
      Front Door Trim Ornament RH/LH Wooden
      Rear Door Trim Ornament RH/LH
      Front Door Trim Molding RH/LH Silver Paint
      Rear Door Trim Molding RH/LH
      Front Door Trim Cover RH/LH Genuine Leather or Synthetic Leather
      Front Door Armrest Assembly RH/LH
      Rear Door Armrest Assembly RH/LH
      Front Door Trim Ornament Cover RH/LH Synthetic Leather
      Rear Door Trim Ornament Cover RH/LH

      Tech Tips

      *: The decoration differ by vehicle specification.

      A01W7EWC01
      *1 Front Door Trim Board Sub-assembly *2 Rear Door Trim Board Sub-assembly
      *3 Front Door Trim Cover *4 Front Door Trim Ornament
      *5 Front Door Trim Molding *6 Front Door Trim Ornament Cover
      *7 Front Door Armrest Assembly *8 Door Inside Handle
      *9 Rear Door Trim Ornament *10 Rear Door Trim Molding
      *11 Rear Door Trim Ornament Cover *12 Rear Door Armrest Assembly
      A01W7E5 Decorated Area - -
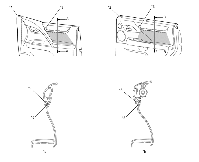
    3. A door ambient illumination has been adopted on the front/rear door trim ornament sub-assembly for exhibiting a superior cabin area in the night time.

      A01W7VPC01
      *1 Front Door Trim Board Sub-assembly *2 Rear Door Trim Board Sub-assembly
      *3 LED *4 Front Door Light Guide RH
      *5 Lens Housing (No. 2 Interior Illumination Light Assembly) *6 Rear Door Light Guide RH
      *a A - A Cross Section *b B - B Cross Section
    4. Rear curtain sub-assembly has been provided for the rear door trims board sub-assembly.

      A01W7K1C01
      *1 Rear Curtain Sub-assembly - -
  3. Combination Meter


    1. A 4.2-inch color TFT type multi-information display has been adopted.

      A01W78JC01
      *A Models with Gasoline Engine *B Models with Diesel Engine
  4. Steering Wheel


    1. Paddle shift switches have been provided depending on the specifications.

      A01W7FLC01
      *1 3-Spoke Type (Leather-wrapped) *2 3-Spoke Type (Leather-wrapped with Wood-grain)
  5. Seat


    1. Front Seat


      1. The front seat assembly have been adopted.

        A01W79C
      2. A large sized television display assembly has been adopted depending on specification and provided on the top of each front seat back.

        A01W7LAC01
        *A Models with Rear Seat Entertainment System - -
        *1 Television Display Assembly - -
    2. Rear Seat


      1. The rear seat assembly have been adopted.

      2. A center rear seat headrest assembly has been adopted for the rear seat assembly.

      3. A center rear seat armrest assembly has been adopted for the rear seat assembly.

      4. The rear seat center armrest box have been provided for the center rear seat armrest assembly of the rear seat assembly.

      5. A rear seat center armrest cup holder sub-assembly has been provided on the center rear seat armrest assembly of the rear seat assembly.

      6. A center seat board has been provided on the back of the center rear seat armrest assembly of the rear seat assembly.

      7. The cooler control switch assembly has been provided on the center rear seat armrest assembly of rear seat assembly.

        A01W7ILC01
        *1 Center Rear Seat Headrest Assembly *2 Center Seat Board
        *3 Cooler Control Switch Assembly *4 Rear Seat Center Armrest Cup Holder Sub-assembly
        *5 Center Rear Seat Armrest Assembly *6 Rear Seat Center Armrest Box
      8. A ventilation function has been adopted to the rear seat assembly.

      9. An air blower duct, a seat climate control blower and a rear blower assembly have been added to the rear seat cushion pad and the rear seat back pad separate type of rear seat assembly, respectively.

        A01W7E7C01
        *1 Air Blower Duct *2 Rear Blower Assembly RH
        *3 Seat Climate Control Blower RH *4 Seat Climate Control Blower LH
        *5 Rear Blower Assembly LH - -