AUDIO AND VISUAL SYSTEM

A0002KTE04
Text in Illustration
*A Destination Package for Australia *B Models with Rear Seat Heater System
*1 Roof Console Box Assembly *2 Telephone Microphone Assembly
*3

Window Glass Antenna Wire

- AM

- FM Main

- FM-sub

*4

Amplifier Antenna Assembly

- AM

- FM Main

- FM-sub

*5

Amplifier Antenna Assembly

- DAB

*6

Window Glass Antenna

- DAB

*7

Cooler Control Switch Assembly

- Rear Seat Audio Control Panel

- -
A0002KYE01
Text in Illustration (LHD Models:)
*A Models with 8-speaker Sound System *B Models with HDD Navigation System
*C Models with G-BOOK System - -
*1

Steering Pad Switch Assembly

- Volume

- Seek

- Mode

*2

Steering Pad Switch Assembly

- Voice

- Voice Return

- Telephone

*3 Radio Receiver Assembly *4 Multi-media Module Receiver Assembly
*5 Main Body ECU (Multiplex Network Body ECU) *6 Combination Meter Assembly
*7 Accessory Meter Assembly *8

Multi-media Module Display

- Multi-display

*9 Spiral Cable with Sensor Sub-assembly *10 Remote Touch
*11 Stereo Component Amplifier Assembly *12 No. 1 Stereo Jack Adapter Assembly
*13 Telematics Transceiver (Data Communication Module) - -
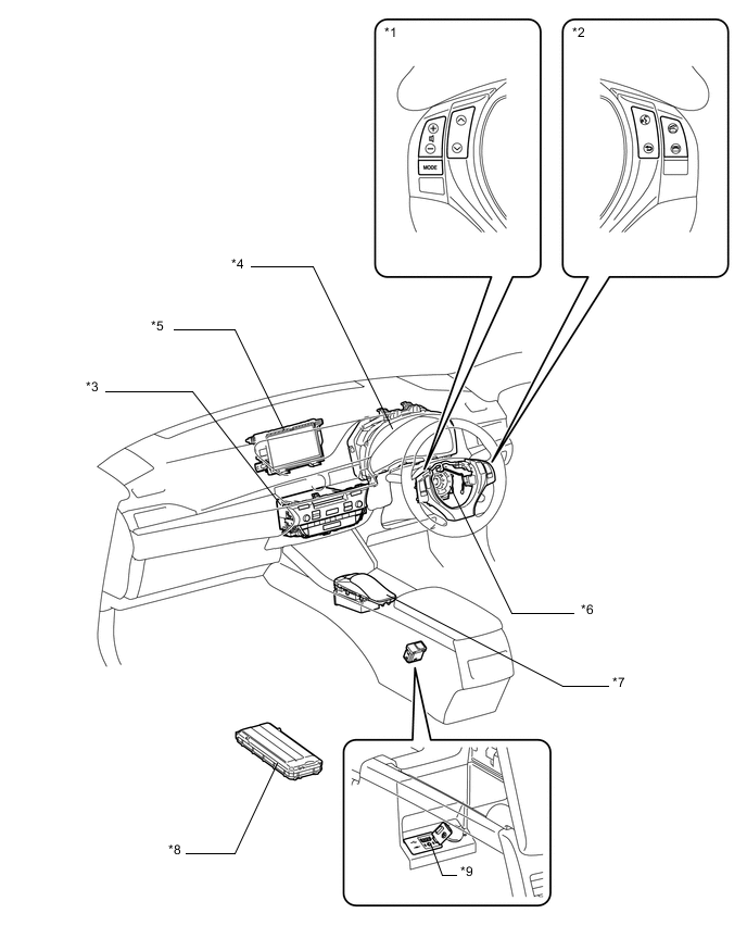
A00032XE02
Text in Illustration (RHD Models:)
*1

Steering Pad Switch Assembly

- Volume

- Seek

- Mode

*2

Steering Pad Switch Assembly

- Voice

- Voice Return

- Telephone

*3 Multi-media Module Receiver Assembly *4 Combination Meter Assembly
*5

Multi-media Module Display

- Multi-display

*6 Spiral Cable with Sensor Sub-assembly
*7 Remote Touch *8 Stereo Component Amplifier Assembly
*9 No. 1 Stereo Jack Adapter Assembly - -